Ecological dynamics
The dominant visual aspect is basin big sagebrush and bluebunch wheatgrass. Composition by weight is approximately 50 to 60 percent grass, 10 to 20 percent forbs, and 25 to 35 percent shrubs.
In the last few thousand years, the South Slope Loamy 12-16 ARTRT/PSSPS site has evolved in a semi-arid climate characterized by hot, dry summers and cold winters. Herbivory has historically occurred on the site at low levels of utilization. Herbivores include mule deer, lagomorphs and small rodents.
Fire has historically occurred on this site every 20 to 50 years.
The Historic Climax Plant Community (HCPC), the Reference State (State 1), moves through many phases depending on the natural and man-made forces that impact the community over time. State 1, described later, indicates some of these phases. The Reference Plant Community is Phase A. This site is dominated by bluebunch wheatgrass and basin big sagebrush. Subdominant species include western wheatgrass, arrowleaf balsamroot, tapertip hawksbeard, and antelope bitterbrush. There are a variety of other grasses, forbs and shrubs that occur in the plant community in minor amounts. The plant species composition of Phase A is listed later under “Reference Plant Community Phase Plant Species Composition”.
Total annual production is 1,200 pounds per acre (1,344 Kg/ha) in a normal year. Production in a favorable year is 1,600 pounds per acre (1,792 Kg/ha). Production in an unfavorable year is 800 pounds per acre (896 Kg/ha).
Structurally, cool season deep rooted perennial bunchgrasses are dominant, followed by medium height shrubs being more dominant than perennial forbs while shallow rooted bunchgrasses are subdominant.
FUNCTION:
Big game use the site in spring, summer and fall. Mule deer make slight use of the site in mild winters and moderate to heavy use in severe winters. Raptors hunt the site. There is some use by a variety of other small animals.
It is suited for livestock use in the spring, fall and early winter. It provides little recreation value.
The South Slope Loamy 12-16 ARTRT/PSSPS site can be degraded by improper grazing management due to accelerated erosion.
Impacts on the Plant Community.
Influence of fire:
The South Slope Loamy 12-16 ARTRT/PSSPS site historically had a fire frequency of approximately 20 to 50 years. Bluebunch wheatgrass is usually maintained in the community after fire. Basin big sagebrush is mostly killed. Sandberg bluegrass, western wheatgrass, and bottlebrush squirreltail can increase in the community with fire. Low green rabbitbrush can increase. With fires more frequent than the historic levels, invasive annuals and noxious perennials can invade the plant community. Cheatgrass can be a troublesome invader on this site, preventing perennial grass and shrub re-establishment and increasing the fire frequency.
Influence of improper grazing management:
Season-long grazing and/or excessive utilization can be very detrimental to this site. This type of management leads to reduced vigor of the bunchgrasses. With reduced vigor, recruitment of these species declines. Bottlebrush squirreltail, western wheatgrass, and Sandberg bluegrass increases. As the bunchgrass species decline, the plant community becomes susceptible to increase in basin big sagebrush and some other shrubs and noxious and invasive species. Forbs usually increase. Cheatgrass will invade the site. Under mismanagement, accelerated erosion can occur and gullies could form.
Proper grazing management that addresses frequency, duration, timing and intensity of grazing can help maintain the integrity of the plant community.
Weather influences:
Above normal precipitation in April, May and June can dramatically increase total annual production. These weather patterns can also increase viable seed production of desirable species to provide for recruitment. Extended drought reduces vigor of the perennial grasses and palatable shrubs. Extreme drought may cause plant mortality. An early, hard frost can occasionally kill some plants.
Influence of Insects and disease:
Outbreaks can affect health of the vegetation. An outbreak of a particular insect is usually influenced by weather but no specific data is available for this site. Mormon cricket and grasshopper outbreaks occur periodically. Outbreaks seldom cause plant mortality since defoliation of the plant occurs only once during the year of the outbreak. Antelope bitterbrush can be severely affected by the western tent caterpillar (Malacosoma fragilis). Two consecutive years of defoliation by the tent caterpillar can cause mortality in bitterbrush.
Influence of noxious and invasive plants:
Invasive annual and perennial species compete with desirable plants for moisture and nutrients. The result is reduced production and change in composition of the understory. Cheatgrass can be very invasive. Once it becomes established the fire frequency increases. As a result, the shrub component can be lost.
Influence of wildlife:
Relatively low numbers of wildlife use this site and impact it little. Mule deer use the site in the winter.
Watershed:
Decreased infiltration and increased runoff occur when basin big sagebrush is removed with frequent fires, particularly following the fire event. The increased runoff also increases sheet and rill erosion. The long-term effect is a transition to a different state. When hydrologic condition of the vegetation cover is good, natural erosion is slight.
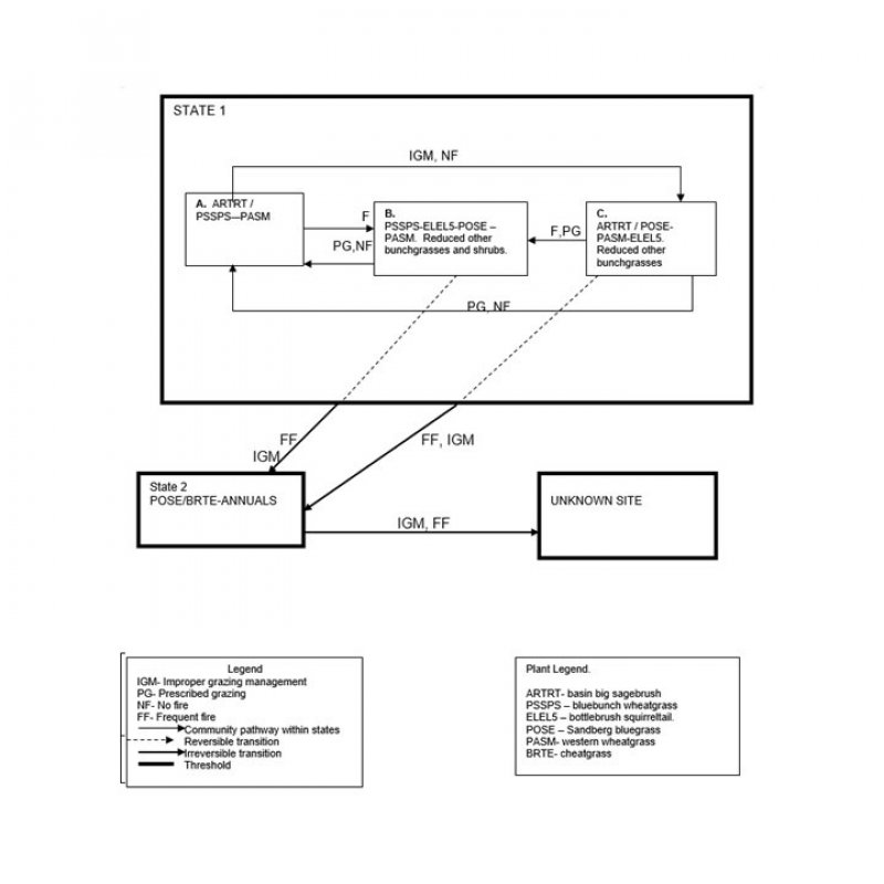
Plant Community and Sequence:
Transition pathways between common vegetation states and phases:
State 1.
Phase A to B. Develops with fire (approximately every 20 to 50 years).
Phase A to C. Develops under improper grazing management and no fire.
Phase C to A. Develops under a prescribed grazing management program and no fire.
Phase B to A. Develops from prescribed grazing and no fire.
State 1, Phase B to 2.
Develops with frequent fire and improper grazing management.
State 1, Phase C to 2. Develops with continued improper grazing management and fire.
State 2 to Unknown site.
Excessive soil loss and changes in the hydrologic cycle caused by improper grazing management or frequent fire cause this state to cross the threshold and retrogress to a new site with reduced potential.
Practice Limitations:
There are slight to moderate limitations on this site for vegetation management and facilitating practices due to slope. There are severe limitations for rangeland seeding due to slope. Brush management should be well planned or cheatgrass can become dominant.
Plant Community Narrative:
State 1, Reference State.
State 1, Phase A. Reference Plant Community Phase. The plant community in Phase A is dominated by bluebunch wheatgrass and basin big sagebrush. Subdominant species include western wheatgrass, arrowleaf balsamroot, tapertip hawksbeard, and antelope bitterbrush. There are a variety of other grasses, forbs, and shrubs that occur in the plant community in minor amounts. Natural fire frequency is approximately 20 to 50 years.
State 1, Phase B. The plant community in Phase B has developed after a fairly recent fire. Fire intolerant shrubs such as basin big sagebrush and antelope bitterbrush have been significantly reduced or eliminated. Bluebunch wheatgrass is maintained in the stand. Bottlebrush squirreltail, Sandberg bluegrass, and western wheatgrass have increased. Other deep-rooted perennial bunchgrasses have been reduced and some have been killed by the fire. Low green rabbitbrush has increased slightly. Some cheatgrass may have invaded.
State 1, Phase C. Due to improper grazing management, bluebunch wheatgrass and other deep-rooted perennial bunchgrasses have been significantly reduced in amounts and are in low vigor. Sandberg bluegrass, western wheatgrass, and bottlebrush squirreltail have increased as well as basin big sagebrush. Antelope bitterbrush is reduced in vigor and may be hedged. Snakeweed has increased. Forbs have increased and cheatgrass has invaded the site.
State 2. The South Slope Loamy 12-16 ARTRT/PSSPS site has degraded into a plant community dominated by Sandberg bluegrass and annual grasses and forbs. Fine fuels are adequate to carry a fire in normal years. Frequent fires and/or improper grazing management have caused the degradation. Excessive soil loss has not occurred at this point but the site has crossed the threshold. It is not economical to return this plant community to State 1 with accelerating practices.
Unknown new site. The plant community has gone over the threshold to a new site. Site potential has been reduced. Significant soil loss has occurred. Infiltration has been reduced and run-off has become more rapid. This community has developed due to continued improper grazing management and/or fire.