Natural Resources
Conservation Service
Ecological site R056AY093ND
Shallow Gravel
Last updated: 5/21/2025
Accessed: 12/21/2025
General information
Provisional. A provisional ecological site description has undergone quality control and quality assurance review. It contains a working state and transition model and enough information to identify the ecological site.
MLRA notes
Major Land Resource Area (MLRA): 056A–Glacial Lake Agassiz, Red River Valley
For more information on MLRAs, refer to the following web site:
https://www.nrcs.usda.gov/resources/data-and-reports/major-land-resource-area-mlra
The Red River Valley of the North MLRA is an expansive and agriculturally important region consisting of 10,400,000 acres and including a portion of 25 counties in eastern North Dakota and northwestern Minnesota along with a small portion of the northeast corner (Roberts County) of South Dakota.
Although MLRA 56A is currently called the Red River Valley of the North, the landscape does not fit the common understanding of “valley” as the transition out of the Valley is very gradual in most places. The extent of the MLRA corresponds to the area covered by Glacial Lake Agassiz including lacustrine sediments, beach ridges, and deltas where rivers flowed into the glacial lake. Also included are island areas of glacial till which were surrounded by the lake waters. Some of the lacustrine deposits are very deep and some have glacial till within a few feet of the surface. The glaciolacustrine materials range from clayey to sandy.
The primary river in the MLRA is the Red River of the North flowing northward into Canada where it empties into Lake Winnipeg. The river is formed by the confluence of the Bois de Sioux River (flowing from northeastern South Dakota) and the Ottertail River flowing from west-central Minnesota. Numerous tributaries in MLRA 56A contribute additional water to the Red River. In Minnesota these include the Two Rivers, Snake, Marsh, Middle, Red Lake, Wild Rice, and Buffalo. In North Dakota, the Pembina, Tongue, Park, Forest, Turtle, Goose, Elm, Rush, Maple, Sheyenne, and Wild Rice are tributaries to the Red River. There are also smaller streams and coulees along with many legal drains.
The relative flatness of much of the MLRA contributes to a flooding hazard for large areas of agricultural land in the spring months. Soil salinity, while variable, also impacts land management on many areas within the MLRA. Extensive surface and subsurface (tile) drainage systems have been constructed/installed to manage excess water and/or salinity on cropland. This extensive drainage has apparently reduced ground water recharge regionally, thus impacting seasonal water table level/fluctuation and its influence on plant communities. Soils that were poorly drained prior to wide- spread drainage may now function as somewhat poorly drained or even moderately well drained soils. For example, undrained Fargo soils are Wet Meadow ecological sites; with surface drainage they may function as Subirrigated sites; and with tile drainage, they commonly function as Clayey sites. Because of the extensive alteration of the hydrology, restoration to the natural conditions of the reference state dynamics would not be possible.
MLRA 56A is an ecotone between grassland dominated MLRAs 55A and 55B to the west and forest dominated MLRAs 56B and 102A to the east. This region is utilized mostly by farms; about 80 percent is non-irrigated cropland, but some irrigated fields exist on the beach areas. Cash-grain, bean, sugar beets, potatoes, and oil production crops are the principal enterprise on many farms, but other feed grains and hay are also grown. Currently about 6 percent of this area is forested, mostly in areas along rivers that are difficult to access with farm equipment. Another 6 percent is grassland used for ranching and/or wildlife habitat. Grazing lands occur primarily in the Sand Hills area of the Sheyenne River delta, on beach areas, and on other areas too wet, saline, sodic, steep, or inaccessible to be productive cropland.
Commercial demand for sand and gravel within this MLRA has led to the establishment of many sand and gravel mining operations, particularly on beach and beach ridge areas. As a result, Shallow Gravel and Very Shallow ecological sites, which have historically remained idle or been used for grazing purposes, are increasingly being lost to mining.
Classification relationships
Level IV Ecoregions of the Conterminous United States: 48b – Beach Ridges and Sand Deltas; and 48d – Lake Agassiz Plains.
Ecological site concept
The Shallow Gravel ecological site is primarily located on beaches and beach ridges of Glacial Lake Agassiz; it also occurs on areas of outwash plain which extend into the MLRA. The soils are shallow (14 to 20 inches) to sand and gravel. The dark-colored surface soil is more than 7 inches thick. The surface and subsoil layers above the gravel contact are commonly loam or sandy loam (form a ribbon <2 inches long), but fine sandy loam is included. Some areas are cobbly or stony. The gravel content of the substratum ranges from 10 to 60 percent. In some soils, this layer contains significant amounts (>25%) of shale fragments. In some soils, loamy till is as shallow as 4 feet, but this has little impact on plant available water due to thick layer of gravel and sand in the upper substratum. Soil on this site is moderately well drained to somewhat excessively drained. Slopes range from 0 to 15 percent. On the landscape, this site is below the Very Shallow ecological site and above the Limy Subirrigated sites. The Loamy ecological site occurs on similar landscape positions; it is deeper than 20 inches to sand and gravel.
To see a full copy of the ecological site description with all tables and the full version 5 rangeland health worksheet. Please use the following hyperlink:(
https://efotg.sc.egov.usda.gov/references/public/ND/56A_Shallow_Gravel_Narrative_FINAL_Ref_FSG.pdf )
Associated sites
| R056AY100ND |
Very Shallow This site occurs somewhat higher on the landscape. The gravel and sand substratum is within a depth of 14 inches. |
|---|---|
| R056AY087ND |
Limy Subirrigated This site occurs lower on the landscape. It is highly calcareous in the upper part of the subsoil and has redoximorphic features at a depth of 18 to 30 inches. All textures are included in this site. |
| R056AY094ND |
Loamy This site occurs on similar or higher landscape positions. The surface and subsoil layers form a ribbon 1 to 2 inches long; where a sand and gravel substratum occurs, it is deeper than 20 inches. |
Similar sites
| R056AY090ND |
Sands This site occurs on similar landscape positions. It is sand or loamy sand (fine to coarse sands) within a depth of 10 inches and does not have a significant amount of gravel; the soil does not form ribbon. |
|---|---|
| R056AY100ND |
Very Shallow This site occurs somewhat higher on the landscape. The gravel and sand substratum are within a depth of 14 inches. |
Table 1. Dominant plant species
| Tree |
Not specified |
|---|---|
| Shrub |
Not specified |
| Herbaceous |
(1) Nassella |
Physiographic features
This site occurs on glacial lake beaches and beach ridges and on outwash plains. The parent material is beach deposits or glaciofluvial deposits; some soils have fine-loamy alluvium as thick as 20 inches over gravel and sand deposits. Slopes range from 0 to 15 percent.
Table 2. Representative physiographic features
| Landforms |
(1)
Beach
(2) Beach ridge (3) Outwash plain |
|---|---|
| Runoff class | Negligible to low |
| Flooding frequency | None |
| Ponding frequency | None |
| Elevation | 750 – 1,475 ft |
| Slope | 15% |
| Water table depth | 30 – 80 in |
| Aspect | Aspect is not a significant factor |
Climatic features
MLRA 56A is considered to have a continental climate – cold winters and relatively hot summers, low to moderate humidity, light rainfall, and much sunshine. Extremes in temperature may also abound. The climate is the result of this MLRA’s location near the geographic center of North America. There are few natural barriers on the northern Great Plains and air masses move freely across the plains and account for rapid changes in temperature.
Annual precipitation typically ranges from 18 to 23 inches per year. The average annual temperature is about 40°F. January is the coldest month with average temperatures ranging from about 1°F (Pembina, North Dakota (ND) to about 11°F (Wheaton, Minnesota (MN). July is the warmest month with temperatures averaging from about 68°F (Pembina, ND) to about 73°F (Wheaton, MN). The range of normal average monthly temperatures between the coldest and warmest months is about 65°F. This large annual range attests to the continental nature of this area's climate. Winds are estimated to average about 13 miles per hour annually, ranging from about 15 miles per hour during the spring to about 11 miles per hour during the summer. Daytime winds are generally stronger than nighttime and occasional strong storms may bring brief periods of high winds with gusts to more than 50 miles per hour.
Growth of cool season plants begins in early to mid-March, slowing or ceasing in late June. Warm season plants begin growth about mid-May and continue to early or mid-September. Greening up of cool season plants may occur in September and October when adequate soil moisture is present.
Table 3. Representative climatic features
| Frost-free period (characteristic range) | 102-126 days |
|---|---|
| Freeze-free period (characteristic range) | 132-145 days |
| Precipitation total (characteristic range) | 21-24 in |
| Frost-free period (actual range) | 87-131 days |
| Freeze-free period (actual range) | 126-150 days |
| Precipitation total (actual range) | 20-25 in |
| Frost-free period (average) | 112 days |
| Freeze-free period (average) | 138 days |
| Precipitation total (average) | 22 in |
Figure 1. Monthly precipitation range
Figure 2. Monthly minimum temperature range
Figure 3. Monthly maximum temperature range
Figure 4. Monthly average minimum and maximum temperature
Figure 5. Annual precipitation pattern
Figure 6. Annual average temperature pattern
Climate stations used
-
(1) VICTOR 4 NNE [USC00398652], Rosholt, SD
-
(2) PARK RIVER [USC00326857], Park River, ND
-
(3) GRAFTON [USC00323594], Grafton, ND
-
(4) WHEATON [USC00218907], Wheaton, MN
-
(5) AGASSIZ REFUGE [USC00210050], Grygla, MN
-
(6) PEMBINA [USW00014924], Pembina, ND
Influencing water features
This site does not receive significant additional water, either as runoff from adjacent slopes or from a seasonal high-water table. Typically, depth to the water table exceeds 4 feet during the months of May through June and exceeds 6 feet the rest of the growing season. Although the water table may be as shallow as 2.5 feet early in the growing season in a few soils in this site, the shallow depth to gravel prohibits the plants from benefiting significantly from subirrigation. Surface infiltration is moderate or moderately rapid. Permeability is moderate or moderately rapid in layers above gravel; it is very rapid in the gravelly layers. Water loss is through evapotranspiration and percolation below the root zone.
Soil features
Soils associated with Shallow Gravel ES are in the Mollisol order and are classified further as Calcic Hapludolls, Typic Hapludolls, Oxyaquic Hapludolls, and Aquic Hapludolls. These soils were developed under prairie vegetation. They formed in beach deposits or in alluvium over glaciofluvial deposits.
The common feature of soils in this site is the shallow depth (14 to 20 inches) to coarse-textured layers with significant gravel content (10 to 60 percent). The abrupt change in texture and structure in these soils has the effect of a restrictive layer, even though a few roots may penetrate the gravelly layers. The soils are moderately well drained to somewhat excessively drained – redoximorphic features, where present, are deeper than 30 inches.
The surface and subsoil layers above the gravel contact have medium or moderately coarse textures – most commonly loam or sandy loam, but fine sandy loam also occurs. Some areas are cobbly or stony. The gravelly layers in some soils contain significant amounts (>25%) of shale fragments. In some soils, loamy till is as shallow as of 4 feet, but this has little impact on plant available water due to thick layer of gravel and sand in the upper substratum.
Salinity and sodicity are typically none. Soil reaction is neutral or slightly alkaline (pH 6.6 to 7.8) in the surface and upper subsoil; it is slightly or moderately alkaline (pH 7.4 to 8.4) in the lower subsoil and substratum. Calcium carbonate content is none or very low in the surface and subsoil; it is low to moderately high in the substratum.
The soil surface is stable and intact. These soils are moderately susceptible to water and wind erosion. Loss of the soil surface layer can result in a shift in species composition and/or production.
Major soil series correlated to the Shallow Gravel site are Arvilla, Binford, Brantford, Osakis, Renshaw and Warsing.
Access Web Soil Survey (https://websoilsurvey.sc.egov.usda.gov/App/WebSoilSurvey.aspx) for specific local soils information.
Table 4. Representative soil features
| Parent material |
(1)
Glaciofluvial deposits
(2) Till (3) Outwash (4) Beach sand |
|---|---|
| Surface texture |
(1) Cobbly loam (2) Cobbly sandy loam (3) Cobbly fine sandy loam |
| Family particle size |
(1) Loamy |
| Drainage class | Moderately well drained to somewhat excessively drained |
| Permeability class | Moderate to moderately rapid |
| Depth to restrictive layer | 14 – 20 in |
| Surface fragment cover <=3" | 14% |
| Surface fragment cover >3" | 20% |
| Available water capacity (0-60in) |
3 – 5 in |
| Calcium carbonate equivalent (0-40in) |
20% |
| Electrical conductivity (0-20in) |
2 mmhos/cm |
| Sodium adsorption ratio (0-20in) |
Not specified |
| Soil reaction (1:1 water) (0-20in) |
6.6 – 8.4 |
| Subsurface fragment volume <=3" (0-40in) |
10 – 60% |
| Subsurface fragment volume >3" (0-40in) |
10% |
Ecological dynamics
This ecological site description is based on nonequilibrium ecology and resilience theory and utilizes a State-and-Transition Model (STM) diagram to organize and communicate information about ecosystem change as a basis for management. The ecological dynamics characterized by the STM diagram reflect how changes in ecological drivers, feedback mechanisms, and controlling variables can maintain or induce changes in plant community composition (phases and/or states). The application of various management actions, combined with weather variables, impact the ecological processes which influence the competitive interactions, thereby maintaining or altering plant community structure.
Prior to European influence, the historical disturbance regime for MLRA 56A included frequent fires, both anthropogenic and natural in origin. Most fires, however, were anthropogenic fires set by Native Americans. Native Americans set fires in all months except perhaps January. These fires occurred in two peak periods, one from March-May with the peak in April and another from July-November with the peak occurring in October. Most of these fires were scattered and of small extent and duration.
The grazing history would have involved grazing and browsing by large herbivores (such as American bison, elk, and whitetail deer). Herbivory by small mammals, insects, nematodes, and other invertebrates are also important factors influencing the production and composition of the communities. Grazing and fire interaction, particularly when coupled with drought events, influenced the dynamics discussed and displayed in the following state and transition diagram and descriptions.
Following European influence, this ecological site generally has had a history of grazing by domestic livestock, particularly cattle, which along with other related activities (e.g. fencing, water development, fire suppression) has changed the disturbance regime of the site. Changes will occur in the plant communities due to these and other factors.
Weather fluctuations coupled with managerial factors may lead to changes in the plant communities, and may, under adverse impacts, result in a slow decline in vegetative vigor and composition. However, under favorable conditions the botanical composition may resemble that prior to European influence.
Four vegetative states have been identified for the site (Reference, Native/Invaded, Invaded, and Go- Back). Within each state, one or more community phases have been identified. These community phases are named based on the more dominant and visually conspicuous species; they have been determined by study of historical documents, relict areas, scientific studies, and ecological aspects of plant species and plant communities. Transitional pathways and thresholds have been determined through similar methods.
State 1: Reference State represents the natural range of variability that dominated the dynamics of this ecological site prior to European influence. Dynamics of the state were largely determined by variations in climate and weather (e.g., drought), as well as that of fire (e.g., timing, frequency) and grazing by native herbivores (e.g., frequency, intensity, selectivity). Due to those variations, the Reference State is thought to have shifted temporally and spatially between two Plant Community Phases.
Presently, the primary disturbances include widespread introduction of exotic species, concentrated livestock grazing, lack of fire and, perhaps, long-term non-use and no fire. Because of these changes (particularly the widespread occurrence of exotic species), as well as other environmental changes, the Reference State is considered to no longer exist. Thus, the presence of exotic species on the site precludes it from being placed in the Reference State. It must then be placed in one of the other states, most commonly State 2: Native/Invaded State (T1A).
State 2: Native/Invaded State. Colonization of the site by exotic plants results in a transition from State 1: Reference State to State 2: Native/Invaded State (T1A). This transition was inevitable and often resulted from colonization by exotic cool-season grasses (e.g., Kentucky bluegrass, smooth brome, quackgrass, crested wheatgrass) which have been particularly and consistently invasive under extended periods of non-use or very light grazing and no fire. Other exotic plants (e.g., Canada thistle, leafy spurge) are also known to invade the site. Under non-use or minimal use management, mulch increases and may become a physical barrier to plant growth. This also changes the micro- climate near the soil surface and may alter infiltration, nutrient cycling, and biological activity near the soil surface. Two community phases have been identified for this state; they are similar to the community phases in the Reference State but have now been invaded by exotic cool-season grasses. These exotic cool-season grasses can be expected to increase. As that increase occurs, plants more desirable to wildlife and livestock may decline. A decline in forb diversity can also be expected. As a result, these factors coupled with shading cause desirable native plants to have increasing difficulty remaining viable and recruitment declines.
To slow or limit the invasion of these exotic grasses or other exotic plants, it is imperative that managerial techniques (e.g., prescribed grazing, prescribed burning) be carefully constructed, monitored, and evaluated with respect to that objective. If management does not include measures to control or reduce these exotic plants, the transition to State 3: Invaded State should be expected (T2A).
State 3: Invaded State. The threshold for this state is reached when the exotic cool-season grasses exceed 30% of the plant community and native grasses represent less than 40% of the community. One plant community phase has been identified for this state. The exotic cool-season grasses can be quite invasive and often form monotypic stands. As they increase, both forage quantity and quality of the annual production becomes increasingly restricted to late spring and early summer, even though annual production may increase. Forb diversity often declines. Under non-use or minimal use management, mulch can increase and become a physical barrier to plant growth which alters nutrient cycling, infiltration, and soil biological activity near the soil surface. As such, desirable native plants become increasingly displaced.
Once the state is well established, prescribed burning and prescribed grazing techniques have been largely ineffective in suppressing or eliminating the exotic cool-season grasses, even though some short-term reductions may appear successful. However, assuming there is an adequate component of native grasses to respond to treatments, a restoration pathway to State 2: Native/Invaded State (R3A) may be accomplished with the implementation of long-term prescribed grazing in conjunction with prescribed burning.
State 4: Go-Back State often results following cropland abandonment and consists of only one plant community phase. This weedy assemblage may include noxious weeds that need control. Over time, the exotic cool-season grasses (e.g., Kentucky bluegrass, smooth brome, quackgrass, crested wheatgrass) will likely predominate.
Initially, due to extensive bare ground and a preponderance of shallow rooted annual plants, infiltration is low and the potential for soil erosion is high. Plant species richness may be high, but overall diversity (i.e., equitability) is typically low, with the site dominated by a relatively small assemblage of species. Due to the lack of native perennials and other factors, restoring the site with the associated ecological processes is difficult. However, a successful range planting may result in something approaching State 2: Native/Invaded State (R4A). Following planting, prescribed grazing, prescribed burning, haying, and the use of herbicides will generally be necessary to achieve the desired result and control weeds, some of which may be noxious weeds. A failed range planting and/or secondary succession will lead to State 3: Invaded State (R4B).
The following state and transition model diagram illustrates the common states, community phases, community pathways, and transition and restoration pathways that can occur on the site. These are the most common plant community phases and states based on current knowledge and experience; changes may be made as more data are collected. Pathway narratives describing the site’s ecological dynamics reference various management practices (e.g., prescribed grazing, prescribed burning, brush management, herbaceous weed treatment) which, if properly designed and implemented, will positively influence plant community competitive interactions. The design of these management practices will be site specific and should be developed by knowledgeable individuals; based upon management goals and a resource inventory; and supported by an ongoing monitoring protocol.
When the management goal is to maintain an existing plant community phase or restore to another phase within the same state, modification of existing management to ensure native species have the competitive advantage may be required. To restore a previous state, the application of two or more management practices in an ongoing manner will be required. Whether using prescribed grazing, prescribed burning, or a combination of both with or without additional practices (e.g., brush management), the timing and method of application needs to favor the native species over the exotic species. Adjustments to account for variations in annual growing conditions and implementing an ongoing monitoring protocol to track changes and adjust management inputs to ensure desired outcome will be necessary.
The plant community phase composition table(s) has been developed from the best available knowledge including research, historical records, clipping studies, and inventory records. As more data are collected, plant community species composition and production information may be revised.
State and transition model
More interactive model formats are also available.
View Interactive Models
Click on state and transition labels to scroll to the respective text
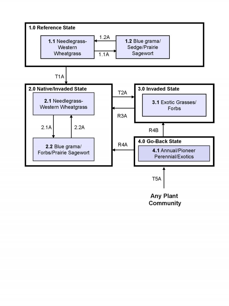
Ecosystem states
| T1A | - | Introduction of exotic cool-season grasses |
|---|---|---|
| T2A | - | Long-term non-use or very light grazing and no fire |
| R3A | - | Long-term prescribed grazing and prescribed burning |
| R4A | - | Successful range planting |
| R4B | - | Failed range planting and/or secondary succession |
| T5A | - | Cessation of annual cropping |
State 1 submodel, plant communities
| 1.1A | - | Multiyear drought with/without heavy, long-term grazing |
|---|---|---|
| 1.2A | - | Return to average precipitation and reduced grazing |
State 2 submodel, plant communities
| 2.1A | - | Multiyear drought with/without heavy, long-term grazing |
|---|---|---|
| 2.2A | - | Long-term prescribed grazing and prescribed burning |
State 3 submodel, plant communities
State 4 submodel, plant communities
State 1
Reference State
This state represents the natural range of variability that dominated the dynamics of this ecological site prior to European influence. The primary disturbance mechanisms for this site in the reference condition included frequent fire and grazing by large herding ungulates. Timing of fires and grazing, coupled with weather events, dictated the dynamics that occurred within the natural range of variability. These factors likely caused the community to shift both spatially and temporally between two plant communities. One community was predominantly composed of mid statured cool-season grasses, and one was predominantly composed of the more grazing and drought tolerant warm- season and cool-season grasses.
Characteristics and indicators. (i.e., characteristics and indicators that can be used to distinguish this state from others). Because of changes in disturbances and other environmental factors (particularly the widespread occurrence of exotic species), the Reference State is considered to no longer exist.
Resilience management. (i.e., management strategies that will sustain a state and prevent a transition). If intact, the reference state should probably be managed with current disturbance regimes which has permitted the site to remain in reference condition, as well as maintaining the quality and integrity of associated ecological sites. Maintenance of the reference condition is contingent upon a monitoring protocol to guide management.
Community 1.1
Needlegrasses-Western Wheatgrass (Hesperostipa spp., Nassella viridula-Pascopyrum smithii)
This community phase was historically the most dominant both temporally and spatially. Major grasses were needle and thread, porcupinegrass, green needlegrass, western wheatgrass, and other cool-season, as well as warm-season grasses including blue grama and little bluestem. The community phase may also be characterized by a diverse forb component. Common forbs often included prairie clovers, goldenrods, common yarrow, dotted blazing star, upright prairie coneflower, and silverleaf Indian breadroot. Common shrubs included leadplant, prairie sagewort, prairie rose, spinystar, and western snowberry. Annual production of this community phase may have varied from around 1400-2800 pounds per acre with graminoids, forbs, and shrubs contributing 85%, 10%, and 5% of the total production, respectively. Community Phase 1.1 is considered the Reference Plant Community upon which most interpretations are based and is further described in the “Plant Community Composition and Group Annual Production” portion of this ecological site description.
Figure 7. Annual production by plant type (representative values) or group (midpoint values)
Table 5. Annual production by plant type
| Plant type | Low (lb/acre) |
Representative value (lb/acre) |
High (lb/acre) |
|---|---|---|---|
| Grass/Grasslike | 1190 | 1785 | 2380 |
| Forb | 140 | 210 | 280 |
| Shrub/Vine | 70 | 105 | 140 |
| Total | 1400 | 2100 | 2800 |
Community 1.2
Blue Grama/Sedges/Prairie Sagewort (Bouteloua gracilis-Carex spp.-Artemisia frigida)
Compared to Community Phase 1.1, this Community Phase may be characterized by increases in the more drought and/or grazing tolerant graminoids, such as blue grama and upland sedges (e.g., threadleaf sedge). Prairie sagewort was a conspicuous component of the community. There were also corresponding decreases in the taller and less grazing tolerant grasses, such as the needlegrasses and western wheatgrass.
Pathway 1.1A
Community 1.1 to 1.2
This Community Phase Pathway 1.1 to 1.2 occurred with multiyear drought with or without heavy long-term grazing. This resulted in marked increases in blue grama, upland sedges (e.g., threadleaf sedge), and prairie sagewort along with corresponding decreases in the needlegrasses and western wheatgrass.
Pathway 1.2A
Community 1.2 to 1.1
This Community Phase Pathway 1.2 to 1.1 occurred with a return to average precipitation and reduced grazing resulting in increases in the needlegrasses and western wheatgrass with corresponding decreases in blue grama, upland sedges (e.g., threadleaf sedge), and prairie sagewort.
State 2
Native/Invaded State
This state is similar to State 1: Reference State but has now been colonized by the exotic cool-season grasses (commonly Kentucky bluegrass, smooth brome, quackgrass and/or, perhaps, crested wheatgrass) which are now present in small amounts. Although the state is still dominated by native grasses, an increase in these exotic cool-season grasses can be expected. Exotic forbs, including noxious weeds Canada thistle, absinthium (aka wormwood), and spotted knapweed may also colonize the site. These exotic cool-season grasses can be quite invasive on the site and are particularly well adapted to heavy grazing. They also often form monotypic stands. As these exotic cool-season grasses increase, both forage quantity and quality become increasingly restricted to late spring and early summer due to the monotypic nature of the stand, even though annual production may increase. Native forbs generally decrease in production, abundance, diversity, and richness compared to that of State 1: Reference State. These exotic cool-season grasses have also been particularly and consistently invasive under extended periods of non-use or very light grazing, and no fire. To slow or limit the invasion of these exotic grasses, it is imperative that managerial techniques (e.g., prescribed grazing, prescribed burning) be carefully constructed, monitored, and evaluated with respect to that objective. If management does not include measures to control or reduce these exotic cool-season grasses, the transition to State 3: Invaded State should be expected. A lack of fire and prescribed grazing results in declines in desirable grasses and forbs for livestock and wildlife with increases in less desirable grasses and forbs. Annual production of this state can be quite variable, in large part due to the amount of exotic cool-season grasses. Annual production, however, may range from around 900-2300 pounds per acre.
Characteristics and indicators. (i.e., characteristics that can be used to distinguish this state from others). The presence of trace amounts of exotic cool-season grasses indicates a transition from State 1 to State 2. The presence of exotic biennial or perennial leguminous forbs (i.e., sweet clover, black medic) may not, on their own, indicate a transition from State 1 to State 2 but may facilitate that transition.
Resilience management. (i.e., management strategies that will sustain a state and prevent a transition). To slow or limit the invasion of these exotic grasses, it is imperative that managerial techniques (e.g., prescribed grazing, prescribed burning) be carefully constructed, monitored, and evaluated with respect to that objective. Grazing management should be applied that enhances the competitive advantage of native grass and forb species. This may include: (1) early spring grazing when exotic cool-season grasses are actively growing and native cool-season grasses are dormant; (2) applying proper deferment periods allowing native grasses to recover and maintain or improve vigor; (3) adjusting overall grazing intensity to reduce excessive plant litter (above that needed for rangeland health indicator #14 – see Rangeland Health Reference Worksheet); (4) incorporating early heavy spring utilization which focuses grazing pressure on exotic cool-season grasses and reduces plant litter, provided that livestock are moved when grazing selection shifts from exotic cool-season grasses to native grasses. Prescribed burning should be applied in a manner that maintains or enhances the competitive advantage of native grass and forb species. Prescribed burns should be applied as needed to adequately reduce/remove excessive plant litter and maintain the competitive advantage for native species. Timing of prescribed burns (spring vs. summer vs. fall) should be adjusted to account for differences in annual growing conditions and applied during windows of opportunity to best shift the competitive advantage to the native species.
Community 2.1
Needlegrass-Western Wheatgrass (Hesperostipa spp., Nassella viridula-Pascopyrum smithii)
This community phase is similar to Community Phase 1.1 but has now been colonized by exotic cool- season grasses (e.g., Kentucky bluegrass, smooth brome, quackgrass, crested wheatgrass).However, these exotics are present in smaller amounts with the community still dominated by native grasses.
Community 2.2
Blue Grama/Forbs/Prairie Sagewort (Bouteloua gracilis/Forb/Artemisia frigida)
This community phase is similar to Community Phase 1.2 but has now been colonized by exotic cool- season grasses (e.g., Kentucky bluegrass, smooth brome, quackgrass, crested wheatgrass) which are now present in small amounts. Compared to Community Phase 2.1 there has been a marked increases in blue grama and forbs coupled with noticeable declines in the needlegrasses and western wheatgrass. Forbs and shrubs often showing increases include curlycup gumweed, common yarrow, silverleaf Indian breadroot, field sagewort, Flodman’s thistle, prairie sagewort, and prairie rose. This community phase is often dispersed throughout a pasture in an overgrazed/undergrazed pattern, typically referred to as patch grazing. Some overgrazed areas will exhibit the impacts of heavy use, while the ungrazed areas will have a build-up of litter and increased plant decadence. This is a typical pattern found in properly stocked pastures grazed season-long. As a result, Kentucky bluegrass tends to increase more in the undergrazed areas while the more grazing tolerant short statured species, such as blue grama and sedges, increase in the heavily grazed areas. If present, Kentucky bluegrass may increase under heavy grazing. This community phase is approaching the threshold leading to a transition to State 3: Invaded State. As a result, it is an “at risk” community. If management does not include measures to control or reduce these exotic cool-season grasses, the transition to State 3: Invaded State should be expected.
Pathway 2.1A
Community 2.1 to 2.2
Community Phase Pathway 2.1 to 2.2 occurs with multiyear drought with or without heavy long-term grazing. This results in marked increases in blue grama, forbs, and prairie sagewort with corresponding decreases in the needlegrasses and western wheatgrass.
Pathway 2.2A
Community 2.2 to 2.1
This Community Phase Pathway 2.2 to 2.1 occurs with long-term prescribed grazing and prescribed burning. This results in marked increases in the needlegrasses and western wheatgrass and corresponding decreases in blue grama, forbs, and prairie sagewort.
State 3
Invaded State
This state is the result of invasion and dominance by the exotic cool-season grasses (e.g., Kentucky bluegrass, smooth brome, quackgrass, crested wheatgrass). These exotic cool-season grasses can be quite invasive on the site and are particularly well adapted to heavy grazing. They also often form monotypic stands. As these exotic cool-season grasses increase, both forage quantity and quality become increasingly restricted to late spring and early summer due to the monotypic nature of the stand, even though annual production may increase. Native forbs generally decrease in production, abundance, diversity, and richness compared to that of State 1: Reference State. Common native forbs and shrubs often include curlycup gumweed, white heath aster, goldenrods, Flodman’s thistle, and common yarrow along with prairie sagewort and prairie rose. Exotic forbs (e.g., sweetclover, herb sophia) may also be present, including some noxious weeds (e.g., Canada thistle, absinthium, leavy spurge, spotted knapweed). Once the state is well established, prescribed burning and prescribed grazing techniques have been largely ineffective in suppressing or eliminating the exotic cool-season grasses, even though some short-term reductions may appear successful. Annual production of this state may vary widely, in part due to variations in the extent of invasion by exotic cool-season grasses. However, annual production may be in the range of 700-2700 pounds per acre with the exotic cool-season grasses contributing up to 70% or more of the total production.
Characteristics and indicators. (i.e., characteristics that can be used to distinguish this state from others). This site is characterized by exotic cool-season grasses constituting greater than 30 percent of the annual production and native grasses constituting less than 40 percent of the annual production.
Resilience management. (i.e., management strategies that will sustain a state and prevent a transition). Light or moderately stocked continuous, season-long grazing or a prescribed grazing system which incorporates adequate deferment periods between grazing events and proper stocking rate levels will maintain this State. Application of herbaceous weed treatment, occasional prescribed burning and/or brush management may be needed to manage noxious weeds and increasing shrub (e.g., western snowberry) populations.
Community 3.1
Exotic Cool-Season Grasses/Forbs
This community phase is dominated by the exotic cool-season grasses (e.g., Kentucky bluegrass, smooth brome, quackgrass, crested wheatgrass). Excessive accumulation of plant litter may also be present, particularly when dominated by Kentucky bluegrass. Associated native forbs and shrubs often include curlycup gumweed, white heath aster, goldenrods, Flodman’s thistle, and common yarrow along with prairie sagewort and prairie rose. Exotic forbs (e.g., sweetclover, herb sophia) may also be present, including some noxious weeds (e.g., Canada thistle, absinthium, leafy spurge). The longer this community phase exists the more resilient it becomes. Natural or management disturbances that reduce the cover of Kentucky bluegrass, smooth brome, or the other exotic cool- season grasses are typically short-lived.
State 4
Go-Back State
This state is highly variable depending on the level and duration of disturbance related to the T5A transitional pathway. In this MLRA, the most probable origin of this state is plant succession following cropland abandonment. This plant community will initially include a variety of annual forbs and grasses, some of which may be noxious weeds needing control (e.g., leafy spurge, Canada thistle). Over time, however, the site will likely become dominated by the exotic cool-season grasses (e.g., Kentucky bluegrass, smooth brome, crested wheatgrass, quackgrass).
Characteristics and indicators. (i.e., characteristics that can be used to distinguish this state from others). Tillage has destroyed the native plant community, altered soil structure and biology, reduced soil organic matter, and resulted in the formation of a tillage induced compacted layer which is restrictive to root growth. Removal of perennial grasses and forbs results in decreased infiltration and increased runoff.
Resilience management. (i.e., management strategies that will sustain a state and prevent a transition). Continued tillage will maintain the state. Control of noxious weeds will be required.
Community 4.1
Annual/Pioneer Perennial/Exotics
This community phase is highly variable depending on the level and duration of disturbance related to the T5A transitional pathway. In this MLRA, the most probable origin of this phase is secondary succession following cropland abandonment. This plant community will initially include a variety of annual forbs and grasses, including noxious weeds which may need control (e.g., absinthium, Canada thistle). Over time, however, the exotic cool-season grasses (e.g., Kentucky bluegrass, smooth brome, crested wheatgrass, quackgrass) will predominate.
State 5
Any Plant Community
Transition T1A
State 1 to 2
This is the transition from the State 1: Reference State to the State 2: Native/Invaded State due to the introduction and establishment of exotic cool-season grasses (e.g., Kentucky bluegrass, smooth brome, quackgrass, crested wheatgrass). This transition was inevitable and corresponded to a decline in native warm-season and cool-season grasses; it may have been exacerbated by chronic season-long or heavy late season grazing. Complete rest from grazing and suppression of fire could also have hastened this transition. The threshold between states was crossed when Kentucky bluegrass, smooth brome quackgrass, crested wheatgrass, or other exotic plants became established on the site.
Constraints to recovery. (i.e., variables or processes that preclude recovery of the former state). Current knowledge and technology will not facilitate a successful restoration to Reference State.
Transition T2A
State 2 to 3
This transition from State 2: Native/Invaded State to State 3: Invaded State often results from long- term non-use or very light grazing, and no fire, but can also occur under other management. Studies indicate that a threshold may exist in this transition when the exotic cool-season grasses exceed 30% of the plant community and native grasses represent less than 40% of the plant community composition.
Constraints to recovery. (i.e., variables or processes that preclude recovery of the former state). Variations in growing conditions (e.g., cool, wet spring) will influence effects of various management activities on exotic cool-season grass populations.
Restoration pathway R3A
State 3 to 2
This restoration pathway from the State 3: Invaded State to the State 2: Native/Invaded State may result from the implementation of long-term prescribed grazing and prescribed burning, assuming there is an adequate component of native grasses to respond to the treatments. Both prescribed grazing and prescribed burning are likely necessary to successfully initiate this restoration pathway, the success of which depends upon the presence of a remnant population of native grasses in Community Phase 3.1. That remnant population, however, may not be readily apparent without close inspection. The application of several prescribed burns may be needed at relatively short intervals in the early phases of this restoration process, in part because many of the shrubs (e.g., western snowberry) sprout profusely following one burn. Early season prescribed burns have been successful; however, fall burning may also be an effective technique. The prescribed grazing should include adequate recovery periods following each grazing event and stocking levels which match the available resources. If properly implemented, this will shift the competitive advantage from the exotic cool-season grasses to the native cool-season grasses.
Context dependence. (i.e., factors that cause variations in plant community shifts, restoration likelihood, and contribute to uncertainty). Grazing management should be applied in a manner that enhances/maximizes the competitive advantage of native grass and forb species over the exotic species. This may include the use of prescribed grazing to reduce excessive plant litter accumulations above that needed for rangeland health indicator #14 (see Rangeland Health Reference Worksheet). Increasing livestock densities may facilitate the reduction in plant litter provided length and timing of grazing periods are adjusted to favor native species. Grazing prescriptions designed to address exotic grass invasion and favor native species may involve earlier, short, intense grazing periods with proper deferment to improve native species health and vigor. Fall (e.g., September, October) prescribed burning followed by an intensive, early spring graze period with adequate deferment for native grass recovery may shift the competitive advantage to the native species, facilitating the restoration to State 2: Native/Invaded. Prescribed burning should be applied in a manner that enhances the competitive advantage of native grass and forb species over the exotic species. Prescribed burns should be applied at a frequency which mimics the natural disturbance regime, or more frequently as is ecologically (e.g., available fuel load) and economically feasible. Burn prescriptions may need adjustment to: (1) account for change in fine fuel orientation (e.g., “flopped” Kentucky bluegrass); (2) fire intensity and duration by adjusting ignition pattern (e.g., backing fires vs head fires); (3) account for plant phenological stages to maximize stress on exotic species while favoring native species (both cool- and warm-season grasses).
Restoration pathway R4A
State 4 to 2
This Restoration Pathway from State 4: Go-Back State to the State 2: Native/Invaded State can be accomplished with a successful range planting. Following planting, prescribed grazing, prescribed burning, haying, or use of herbicides will generally be necessary to achieve the desired result and control any noxious weeds. It may be possible using selected plant materials and agronomic practices to approach something very near the functioning of State 2: Native/Invaded State. Application of chemical herbicides and the use of mechanical seeding methods using adapted varieties of the dominant native grasses are possible and can be successful. After establishment of the native plant species, prescribed grazing should include adequate recovery periods following each grazing event and stocking levels which match the available resources; management objectives must include the maintenance of those species, the associated reference state functions, and continued treatment of exotic grasses.
Context dependence. (i.e., factors that cause variations in plant community shifts, restoration likelihood, and contribute to uncertainty). A successful range planting will include proper seedbed preparation, weed control (both prior to and after the planting), selection of adapted native species representing functional/structural groups inherent to the State 1, and proper seeding technique. Management (e.g., prescribed grazing, prescribed burning) during and after establishment must be applied in a manner that maintains the competitive advantage for the seeded native species. Adding non-native species can impact the above and below ground biota. Elevated soil nitrogen levels have been shown to benefit smooth brome and Kentucky bluegrass more than some native grasses. As a result, fertilization, exotic legumes in the seeding mix, and other techniques that increase soil nitrogen may promote smooth brome and Kentucky bluegrass invasion. The method or methods of herbaceous weed treatment will be site specific to each situation; generally, the goal would be to apply the pesticide, mechanical control, or biological control (either singularly or in combination) in a manner that shifts the competitive advantage from the targeted species to the native grasses and forbs. The control method(s) should be as specific to the targeted species as possible to minimize impacts to non-target species.
Restoration pathway R4B
State 4 to 3
A failed range planting and/or secondary succession will lead to State 3: Invaded State.
Context dependence. (i.e., factors that cause variations in plant community shifts, restoration likelihood, and contribute to uncertainty). Failed range plantings can result from many causes (both singularly and in combination) including drought, poor seedbed preparation, improper seeding methods, seeded species not adapted to the site, insufficient weed control, herbicide carryover, poor seed quality (purity & germination), and/or improper management.
Transition T5A
State 5 to 4
This transition from any plant community to State 4: Go-Back State. It is most commonly associated with the cessation of cropping without the benefit of range planting, resulting in a “go-back” situation. Soil conditions can be quite variable on the site, in part due to variations in the management/cropping history (e.g., development of a tillage induced compacted layer, erosion, fertility, and/or herbicide/pesticide carryover). Thus, soil conditions should be assessed when considering restoration techniques.
Additional community tables
Table 6. Community 1.1 plant community composition
| Group | Common name | Symbol | Scientific name | Annual production (lb/acre) | Foliar cover (%) | |
|---|---|---|---|---|---|---|
|
Grass/Grasslike
|
||||||
| 1 | Cool-Season Grasses | 525–1260 | ||||
| needle and thread | HECO26 | Hesperostipa comata | 315–630 | – | ||
| western wheatgrass | PASM | Pascopyrum smithii | 105–315 | – | ||
| prairie Junegrass | KOMA | Koeleria macrantha | 42–210 | – | ||
| green needlegrass | NAVI4 | Nassella viridula | 105–210 | – | ||
| porcupinegrass | HESP11 | Hesperostipa spartea | 0–105 | – | ||
| 2 | Warm-Season Grasses | 42–315 | ||||
| blue grama | BOGR2 | Bouteloua gracilis | 42–210 | – | ||
| plains muhly | MUCU3 | Muhlenbergia cuspidata | 42–210 | – | ||
| Fendler threeawn | ARPUL | Aristida purpurea var. longiseta | 0–105 | – | ||
| little bluestem | SCSC | Schizachyrium scoparium | 0–105 | – | ||
| 3 | Other Native Grasses | 105–420 | ||||
| spikeoat | AVHO3 | Avenula hookeri | 42–105 | – | ||
| plains reedgrass | CAMO | Calamagrostis montanensis | 42–105 | – | ||
| Graminoid (grass or grass-like) | 2GRAM | Graminoid (grass or grass-like) | 42–105 | – | ||
| 4 | Grass-likes | 21–105 | ||||
| threadleaf sedge | CAFI | Carex filifolia | 21–105 | – | ||
| Grass-like (not a true grass) | 2GL | Grass-like (not a true grass) | 0–105 | – | ||
|
Forb
|
||||||
| 5 | Forbs | 105–210 | ||||
| Forb (herbaceous, not grass nor grass-like) | 2FORB | Forb (herbaceous, not grass nor grass-like) | 21–105 | – | ||
| purple prairie clover | DAPU5 | Dalea purpurea | 21–63 | – | ||
| velvety goldenrod | SOMO | Solidago mollis | 21–63 | – | ||
| common yarrow | ACMI2 | Achillea millefolium | 21–42 | – | ||
| field sagewort | ARCA12 | Artemisia campestris | 21–42 | – | ||
| white sagebrush | ARLUA | Artemisia ludoviciana ssp. albula | 21–42 | – | ||
| blacksamson echinacea | ECAN2 | Echinacea angustifolia | 21–42 | – | ||
| dotted blazing star | LIPU | Liatris punctata | 21–42 | – | ||
| lacy tansyaster | MAPIP4 | Machaeranthera pinnatifida ssp. pinnatifida var. pinnatifida | 21–42 | – | ||
| scarlet beeblossom | OESU3 | Oenothera suffrutescens | 21–42 | – | ||
| silverleaf Indian breadroot | PEAR6 | Pediomelum argophyllum | 21–42 | – | ||
| large Indian breadroot | PEES | Pediomelum esculentum | 21–42 | – | ||
| spiny phlox | PHHO | Phlox hoodii | 21–42 | – | ||
| upright prairie coneflower | RACO3 | Ratibida columnifera | 21–42 | – | ||
| scarlet globemallow | SPCO | Sphaeralcea coccinea | 21–42 | – | ||
| white heath aster | SYER | Symphyotrichum ericoides | 21–42 | – | ||
| textile onion | ALTE | Allium textile | 0–21 | – | ||
| field pussytoes | ANNE | Antennaria neglecta | 0–21 | – | ||
| purple milkvetch | ASAG2 | Astragalus agrestis | 0–21 | – | ||
| blanketflower | GAAR | Gaillardia aristata | 0–21 | – | ||
| rush skeletonplant | LYJU | Lygodesmia juncea | 0–21 | – | ||
| cutleaf anemone | PUPAM | Pulsatilla patens ssp. multifida | 0–21 | – | ||
|
Shrub/Vine
|
||||||
| 6 | Shrubs | 0–105 | ||||
| leadplant | AMCA6 | Amorpha canescens | 21–63 | – | ||
| prairie sagewort | ARFR4 | Artemisia frigida | 21–63 | – | ||
| prairie rose | ROAR3 | Rosa arkansana | 21–63 | – | ||
| spinystar | ESVI2 | Escobaria vivipara | 0–21 | – | ||
| western snowberry | SYOC | Symphoricarpos occidentalis | 0–21 | – | ||
| Shrub (>.5m) | 2SHRUB | Shrub (>.5m) | 0–21 | – | ||
Interpretations
Animal community
Animal Community - Wildlife Interpretations
Landscape
The MLRA 56A landscape is characterized by a nearly level glacial lake plain bordered on the east and west by outwash plains, till plains, gravelly beaches, and dunes. MLRA 56A is considered to have a continental climate with cold winters and hot summers, low humidity, light rainfall, and much sunshine. Extremes in temperature are common and characteristic of the MLRA. This area supports natural tall-grass prairie vegetation with bur oak, green ash, and willow growing in drainageways. This area is formed in silty and clayey lacustrine sediments from the former Glacial Lake Agassiz. Complex intermingled ecological sites create diverse grass/shrub land habitats interspersed with varying densities of linear, slope, depressional, and in-stream wetlands associated with headwater streams and tributaries to the Red River of the North. MLRA 56A is located within the boundaries of the Prairie Pothole Region and is an ecotone between the humid east and the sub-humid west regions. The primary land use is annual cropland (~80%). The Red River Valley is known for its exceptional fertility with major crops including corn, soybeans, small grains, and sugar beets.
By the mid-19th century, the majority of the Red River Valley had been converted from tall-grass prairie to annual crop production. To alleviate crop production loss from wetlands and overland flow, a system of shallow surface ditches, judicial ditches, and road ditches removes surface water in spring and during high rainfall events. The major soils are poorly drained with extensive areas of saline soils. Tile drainage systems have been or are being extensively installed throughout MLRA 56A for sub-surface field drainage to enhance annual crop production.
The east and west side of the Red River Valley formed in a complex pattern of sandy beach material, stratified inter-beach material, lacustrine silts, and lake washed glacial till. The soils vary from excessively drained on ridges to very poorly drained organic basins. Surface ditches serve to drain some of the area, although much of the area lacks adequate drainage for maximum crop production. Calcareous fens and saline seeps can occur at the base of beach ridges and result in rare plant communities. Native vegetation was mixed- and tall-grass prairie with scattered woodland and brush.
Historic Communities/Conditions within MLRA 56A:
The northern tall- and mixed-grass prairie was a disturbance-driven ecosystem with fire, herbivory, and climate functioning as the primary ecological drivers (either singly or often in combination). Frequent and expansive flooding along the Red River and its tributaries provided abundant opportunities for Native Americans to harvest wild rice. American bison roamed MLRA 56A wintering along the Red River and migrating west into MLRA 55A and 55B for parts of the season. Many species of grassland birds, small mammals, insects, reptiles, amphibians, and large herds of roaming American bison, elk, and pronghorn were historically among the inhabitants adapted to this region. Roaming herbivores, as well as several small mammal and insect species, were the primary consumers linking the grassland resources to large predators (such as the wolf and American black bear) and smaller carnivores (such as the coyote, bobcat, red fox, and raptors). Extirpated species include free-ranging American bison and gray wolf (breeding). Extinct from the region is the Rocky Mountain locust.
Present Communities/Conditions within MLRA 56A:
MLRA 56A has the most conversion to cropland of any MLRA within Region F-Northern Great Plains. European influence has impacted remaining grassland and shrubland by domestic livestock grazing, elimination of fire, removal of surface and subsurface hydrology via artificial drainage, and other anthropogenic factors influencing plant community composition and abundance.
Extensive drainage has taken place. Streams have been straightened (removing sinuosity) and riparian zones have been converted to annual crop production. These anthropogenic impacts have reduced flood water detention and retention on the landscape, increasing storm water runoff, sediment, and nutrient loading to the Red River and its tributaries. The installation of instream structures has reduced aquatic species movement within the MLRA.
Annual cropping is the main factor contributing to habitat fragmentation, reducing habitat quality for area-sensitive species. These influences fragmented the landscape, reduced, or eliminated ecological drivers (fire), and introduced exotic species including smooth brome, Kentucky bluegrass, and leafy spurge which further impacted plant and animal communities. The loss of the bison and fire as primary ecological drivers greatly influenced the character of the remaining native plant communities and the associated wildlife, moving towards a less diverse and more homogeneous landscape.
Included in this MLRA are approximately 70,000 acres of the United States Forest Service, Sheyenne National Grassland (southern portion of MLRA) with an additional 65,000 acres of intermingled privately owned land of sandy soils providing a large tract of intact tall grass prairie within the MLRA. United Fish and Wildlife Service refuges and waterfowl production areas, along with and state wildlife management areas cover approximately 67,000 acres within the MLRA. Two of three largest cities in North Dakota are located within the MLRA.
USDA conservation programs have seeded thousands of cropland acres in riparian zones to native herbaceous vegetation. Natural succession is replacing the planted native herbaceous vegetation to native woody vegetation re-establishing native wooded riparian areas on previously cropland. Most of the plantings have been along the Red River and its tributaries in the northern portions of the MLRA within the United States. These areas are privately owned and protected from annual agricultural production with perpetual conservation easements.
Some characteristic wildlife species in this area are:
Birds: Mallard, blue-winged teal, red-tailed hawk, American kestrel, ring-necked pheasant, western meadowlark, killdeer, eastern and western kingbird, American crow, common yellowthroat, downy and hairy woodpecker, clay-colored sparrow, vesper sparrow, Savannah sparrow, and brown-headed cowbird.
Mammals: Northern short-tailed shrew, white-tailed jackrabbit, snowshoe hare, Franklin’s ground squirrel, thirteen-lined ground squirrel, northern pocket gopher, plains pocket gopher, western harvest mouse, deer mouse, meadow vole, meadow jumping mouse, western jumping mouse, coyote, red fox, raccoon, American badger, striped skunk, white-tailed deer, North American beaver, and moose.
Reptiles/Amphibians: American toad, Great Plains toad, northern leopard frog, chorus frog, tree frog, tiger salamander, plains garter snake, and common garter snake.
Presence of wildlife species is often determined by ecological site characteristics including grass and forb species, hydrology, aspect, and other associated ecological sites. The home ranges of most species are usually larger than one ecological site or are dependent upon more than one ecological site for annual life requisites. Ecological sites offer different habitat elements as the annual life requisites change. Habitat improvement and creation must be conducted within the mobility limits of a known population for the species.
Insects play an important role providing ecological services for plant community development. Insects that are scavengers or aid in decomposition provide the food chain baseline sustaining the carnivorous insects feeding upon them. Many insects provide the ecological services necessary for pollination, keeping plant communities healthy and productive. Insects provide a protein food source for numerous species including grassland-nesting birds and their young. Extensive use of insecticides for specialty crops (such as potatoes, sugar beets, and other crops) has greatly reduced insects within this MLRA.
Species of Concern within MLRA 56A:
The following is a list of species considered “species of conservation priority” in the North Dakota State Wildlife Action Plan (2015); “species of greatest conservation need” in the Minnesota State Wildlife Action Plan, Conservation Focus Areas, Target Species (2015) and the South Dakota State Wildlife Action Plan (2014); and “species listed as threatened, endangered, or petitioned” under the Endangered Species Act within MLRA 56A at the time this section was developed:
Invertebrates: Arogos skipper, Assiniboia skipper, Dakota skipper, dusted skipper, Leonard’s skipper, monarch butterfly, Poweshiek skippering, red-tailed leafhopper, regal fritillary, and Uhler’s Arctic.
Birds: American kestrel, American bittern, bobolink, American white pelican, bald eagle, black-billed cuckoo, chestnut-collared longspur, Dickcissel, grasshopper sparrow, greater prairie-chicken, Henslow’s sparrow, LeConte’s sparrow, loggerhead shrike, marbled godwit, Nelson’s sparrow, northern harrier, northern pintail, red-headed woodpecker, sharp-tailed grouse, short-eared owl, Swainson’s hawk, upland sandpiper, western meadowlark, willet, Wilson’s phalarope, and yellow rail.
Mammals: Arctic shrew, big brown bat, eastern spotted skunk, gray fox, little brown bat, northern grasshopper mouse, plains pocket mouse, prairie vole, pygmy shrew, Richardson’s ground squirrel, and river otter.
Amphibians/Reptiles: Canadian toad, common snapping turtle, northern prairie skink, and plains hognose snake.
Fish: Blacknose shiner, blue sucker, burbot, chestnut lamprey, finescale dace, hornyhead chub, largescale stoneroller, logperch, northern pearl dace, northern redbelly dace, pearl dace, shortnose gar, sickle-fin chub, sliver chub, silver lamprey, trout-perch, and yellow bullhead.
Mussels: Black sandshell, creek heelsplitter, creeper, mapleleaf, pink heelsplitter, pink papershell, threeridge, and Wabash pigtoe.
Grassland Management for Wildlife in MLRA 56A:
Management activities within the community phase pathways have both short and long term positive and negative impacts on wildlife. Community phase, transitional, and restoration pathways are keys to long-term management within each State and between States. Significant inputs must occur to cross the threshold between States (e.g., State 3.0 to 2.0) requiring substantial economic inputs and management (grazing intensity, reseeding, prescribed fire, woody vegetation removal, etc.). Timing, intensity, and frequency of these inputs can have dramatic positive or negative effects on vegetative structure impacting local wildlife species’ habitats. Ranchers and other land managers must always consider the long-term beneficial effects of management on the habitat in comparison to potential short-term negative effects to individual species.
Ecological sites occur as intermingled complexes on the landscape with gradual or sometimes abrupt transitions. Rarely do ecological sites exist in large enough acreage to manage independently. Ecological sites supporting a dominance of herbaceous vegetation (Wet Meadow, Subirrigated Sands) can be located adjacent to ecological sites that support trees (Choppy Sands and Loamy Overflow).
Management of these complex ecological sites can provide a heterogeneous or a homogenous landscape. Grassland bird use reduces as the plant community transitions to a homogenous state or increases in woody vegetation. Managers need to recognize ecological sites and the complexes they occur in to properly manage the landscape. A management regime for one ecological site may negatively impact an adjacent site (e.g., alteration of a grazing regime within a Choppy Sands ecological site to encourage understory growth may encourage exotic cool- season grasses to increase or dominate an adjacent ecological site).
Life requisites and habitat deficiencies are determined for targeted species. Deficiencies need to be addressed along community phase, transitional, and restoration pathways as presented in specific state-and-transition models. Ecological sites should be managed and restored within the site’s capabilities to provide sustainable habitat. Managers also must consider habitat provided by adjacent/intermingled ecological sites for species with home ranges or life requisites that cannot be provided by one ecological site.
With populations of many grassland-nesting birds in decline, it is important to maintain these ecological sites in a 1.0 Reference State or the 2.0 Native/Invaded State. Plant communities optimal for a guild of grassland species serve as a population source where the birth rate exceeds mortality. Species may use marginal plant communities; however, these sites may function as a population sink where mortality exceeds the birth rate.
Understanding preferred vegetative stature and sensitivity to woody encroachment is necessary to manage for the specific grassland species. Various grass heights may be used for breeding, nesting, or foraging habitat. While most species use varying heights, many have a preferred vegetative stature height. The following chart provides preferred vegetative stature heights and sensitivity to woody vegetation encroachment.
To see the chart please follow the hyperlink. (
https://efotg.sc.egov.usda.gov/references/public/ND/56A_Shallow_Gravel_Narrative_FINAL_Ref_FSG.pdf )
Shallow Gravel Wildlife Habitat Interpretation:
Shallow Gravel ecological sites are moderately well drained to somewhat excessively drained and have gravel within 14 to 20 inches of the surface. This site occurs on glacial lake beaches and beach ridges and on outwash plains. The high amounts of gravel in the soil layers make the soils droughty and limit plant production. Associated ecological sites include Limy Subirrigated, Loamy, and Very Shallow. Needlegrasses are the dominant mid cool-season grasses. This complex of ecological sites provides habitat for many edge- sensitive, grassland bird species preferring medium- to short-statured vegetation with bare ground.
Shallow Gravel habitat features and components commonly support grassland-nesting birds. Use by lekking sharptailed grouse may be limited due to coarse gravel on the surface, bare ground and, in some areas, steep slopes. Insects rely on associated forbs and grasses for survival. Insect populations provide food sources for birds and their young. Shallow Gravel ecological sites provide limited forage for small and large herbivores due to droughty soils and limited plant production.
Shallow Gravel ecological sites may be found in four plant community states (1.0 Reference State, 2.0 Native/Invaded State, 3.0 Invaded State, and 4.0 Go-Back State) within a local landscape. Multiple plant community phases exist within States 1.0 and 2.0. Today, these States occur primarily in response to drought, fire, grazing, and non-use, and other anthropogenic disturbances.
Because there is no known restoration pathway from State 2.0 to State 1.0, it is important to intensively manage using tools in State 1.0 and State 2.0 Community Phase Pathways to prevent further plant community degradation along the T2A Transitional Pathway to 3.0 Invaded State. Native wildlife generally benefits from the heterogeneous grasslands found in Community Phases within States 1.0 and 2.0 that include grass and forb species of varying stature and density. As plant communities degrade within State 2.0, Kentucky bluegrass increases while native forbs are reduced. When Kentucky bluegrass exceeds 30%, the site transitions to 3.0 Invaded State. This transition results in reduced stature and increased plant community homogeneity. When adjacent and/or intermingled ecological sites undergo the same transition, the result can be an expansive, homogenous landscape.
Success along Restoration Pathway R3A from State 3.0 to State 2.0 is very difficult and is dependent upon presence of a remnant native grass population. This concept also applies to wildlife, as the target species must either be present on adjacent State 1.0 or State 2.0 plant communities or on other ecological sites within the mobility limits of the species. Species with limited mobility, such as Dakota skippers, must exist near the plant community to utilize restored sites. Mobile species, such as grassland-nesting birds, can easily locate isolated, restored plant communities.
Plant Community Phase 3.1 shows dramatic increased homogeneity of exotic cool-season grasses and further reduction in native forbs. Reduced forb diversity limits insect populations, negatively affecting foraging opportunities for grassland-nesting birds. Shallow Gravel ecological sites will have increased exotic grass litter or dense sod but not to the degree as more productive sites. Access to bare ground by nesting insects is still available and small chick mobility is not as restricted as more productive ecological sites. A homogenous grassland landscape does not provide quality escape or winter cover. As a result, many species are not able to meet life requisites, especially for non-migratory species.
Management along community phase, transition, or restoration pathways should focus upon attainable changes. Short- and long-term monetary costs must be evaluated against short- and long-term ecological services in creating and maintaining habitat of enough quality to support a sustainable population density.
1.0 Reference State
Community Phase 1.1 Needlegrasses-Western Wheatgrass: This plant community offers vegetative cover for wildlife; every effort should be made to maintain this ecological site within this community phase. This phase retains high functionality through continued maintenance including prescribed grazing (with adequate recovery period) as well as prescribed burning. Prescribed burning frequency maintains a grass-dominated plant community providing habitat for bird species reliant on a diverse plant community (structure and native composition). Predominance of grass species in these communities favors grazers and mixed-feeders (animals selecting grasses as well as forbs and shrubs). The structural diversity provides habitat for a wide array of migratory and resident birds. Plant structure within Plant Community Phase 2.1 is very similar to 1.1, except for the invasion of minor amounts of cool-season exotic grasses (mainly Kentucky bluegrass).
Invertebrates: Insects play a role in maintaining the forb community and provide a forage base for grassland birds, reptiles, and rodents. Ecological services, historically provided by bison, are simulated by domestic livestock. These services include putting plant material and dung in contact with mineral soil to be used by lower trophic level consumers (such as invertebrate decomposers, scavengers, shredders, predators, herbivores, dung beetles, and fungal-feeders). Prescribed grazing (with adequate recovery periods), as well as prescribed burning to maintain the 1.1 phase, will have long-term positive effects on ground dwelling insects.
Lack of host plants, such as little bluestem, limits use by Dakota skippers. Violet species are not common on this site, not supporting the needed habitat for the regal fritillary. Monarch butterfly may use flowering forbs; however, few milkweed species are found on these sites to support caterpillar food. Bumblebees and other native bees utilize forbs as a nectar source; bare ground and nesting sites are available due to the dominance of bunch grasses.
Birds: This plant community provides nesting, foraging, and escape habitats favored by mid- to short-grass nesting birds. This plant community can provide suitable areas for sharp- tailed grouse lek sites and nesting, brood-rearing, and loafing habitat; however, winter cover is lacking. This ecological site can occur on steeper slopes which are not suitable for sharp- tailed grouse lek sites. This site provides good hunting opportunities for grassland raptors.
Mammals: The diversity of grasses and forbs provide high nutrition levels for small and large herbivores including voles, mice, jackrabbits, and white-tailed deer. Mid-statured vegetation provides suitable food and thermal, protective, and escape cover for small herbivores.
Amphibians and Reptiles: This ecological site is not typically found near Wet Meadow or Shallow Marsh ecological sites; therefore, they do not provide habitat for the northern leopard frog and Canadian toad. These sites provide habitat for the plains hog-nosed snake.
Fish and Mussels: This ecological site typically is not located adjacent to streams, rivers, or water bodies. They typically do not receive run-on hydrology from adjacent ecological sites but do provide hydrology to adjacent down-slope ecological sites, such as Limy Subirrigated. Management on Shallow Gravel sites will have an indirect effect on aquatic species in streams and/or tributaries receiving water from adjacent sites. Optimum hydrological function and nutrient cycling limit potential for sediment yield and nutrient loading to the adjacent aquatic ecosystems from Community Phase 1.1.
Community Phase 1.2 Blue Grama/Sedges/Prairie Sagewort: Multiyear drought, with or without heavy grazing (via Community Phase Pathway 1.1A), causes evident increases in short grasses and sedges and corresponding decreases in mid-grass species. The reduction in bunch grasses and increases in sod-forming warm season-grasses and sedges decrease bare ground and create a shorter statured plant community. Prairie sagewort becomes the principal shrub. Return to normal precipitation and reduced grazing pressure with adequate recovery periods (via Community Phase Pathway 1.2A) will shift the competitive edge back to a green needlegrass and western wheatgrass dominated plant community.
Invertebrates: Provides similar life requisites as Community Phase 1.1. Wind-pollinated prairie sagewort provides nesting sites for native bees and larval food butterfly species. Multiyear drought may cause forb species to produce fewer flowers, reducing overall pollen and nectar sources during these periods.
Birds: A shift to shorter statured grasses provides quality nesting, foraging, and escape habitats favored by short- to mid-statured grassland nesting birds. This plant community provides suitable areas for sharp-tailed grouse lek sites. This site provides good hunting opportunities for grassland raptors.
Mammals: The diversity of grasses, shrubs, and forbs provide high nutrition levels for small herbivores including voles, mice, and jackrabbits. Foliage and stems of prairie sagewort provide browse for jackrabbits, cottontails, ground squirrels, and various mice species. A shift to short-statured vegetation reduces thermal, protective, and escape cover for larger herbivores.
Amphibians and Reptiles: Provides similar life requisites as Community Phase 1.1.
Fish and Mussels: Provides similar life requisites as Community Phase 1.1.
2.0 Native/Invaded State
Community Phase 1.1 Needlegrasses-Western Wheatgrass: This plant community develops through Transition Pathway T1A due to changes in management and the presence of exotic, cool-season grasses. Lack of fire or heavy grazing can facilitate this transition. The threshold between States 1.0 and 2.0 is crossed when Kentucky bluegrass, smooth brome, or other exotic species become established. This plant community phase has a very similar appearance and function to the Reference State of Community 1.1, except it has a minor amount of exotic cool-season grasses and forbs. This phase functions at a high level for native wildlife; therefore, managers should consider the State 2.0 community phase pathways to avoid transitioning to the 3.0 Invaded State. There is no known Community Phase Pathway back to 1.0 Reference State from 2.0 Native/Invaded State.
Invertebrates: Provides similar life requisites as Community Phase 1.1.
Birds: Provides similar life requisites as Community Phase 1.1.
Mammals: Provides similar life requisites as Community Phase 1.1.
Amphibians and Reptiles: Provides similar life requisites as Community Phase 1.1.
Fish and Mussels: Provides similar life requisites as Community Phase 1.1.
Community Phase 2.2 Blue Grama/Forbs/Prairie Sagewort: Multiyear drought, with or without heavy grazing, and invasion of cool-season grasses - generally Kentucky bluegrass, smooth brome or crested wheatgrass (via Community Phase Pathway 2.1A) causes evident increases in short grasses and sedges and corresponding decreases in mid-grass species. The reduction in bunch grasses and increases in sod- forming warm season-grasses, sedges, and cool-season exotic grasses decrease bare ground and create a shorter statured plant community. Prairie sagewort becomes the principal shrub. Return to normal precipitation and reduced grazing pressure with adequate recovery periods (via Community Phase Pathway 2.2A) will shift the competitive edge back to a green needlegrass and western wheatgrass dominated plant community.
This community phase is often found in a mosaic in the pasture in an overgrazed/ undergrazed pattern typical of properly stocked pastures grazed season long. Some areas will be impacted by heavy use while other areas will have a build-up of litter and a high amount of plant decadence. This mosaic of grazed and ungrazed areas provides a short to tall vegetative stature. Dependent upon the patch size of overgrazed vs. undergrazed areas, grassland nesting birds preferring short/mid-vegetative stature may prefer this plant community phase.
Invertebrates: Invertebrates: Provides similar life requisites as Community Phase 1.2.
Birds: Provides similar life requisites as Community Phase 1.2. However, dependent upon the amount of overgrazed vs. undergrazed area, vegetative stature could favor mid- to tall- grass bird species.
Mammals: Provides similar life requisites as Community Phase 1.2 with reduced cover for large ungulates. However, dependent upon the amount of overgrazed vs. undergrazed area, vegetative stature in the undergrazed areas could provide thermal and escape cover for mammals, especially small mammals.
Amphibians and Reptiles: Provides similar life requisites as Community Phase 1.1.
Fish and Mussels: Provides similar life requisites as Community Phase 1.1.
3.0 Invaded State
Community Phase 3.1 Exotic Cool-Season Grasses/Forbs: Long-term non-use or very light grazing, with no fire (via Transitional Pathway T2A), allows Kentucky bluegrass, smooth brome, or crested wheatgrass to dominate this site. Native grasses may still be present but with reduced vigor and numbers - not allowing for recovery without prescribe grazing and burning (via Restoration Pathway R3A). Continued non-use may allow Kentucky bluegrass to become the dominant herbaceous component.
Invertebrates: Overall, pollinator plant diversity is reduced; but the combination of forbs and shrubs does still provide season-long nectar and pollen production. Light or no grazing will increase litter amounts; dense Kentucky bluegrass sod and sedges limit bare ground for ground nesting bees.
Birds: This homogenous landscape provides limited structural diversity and insect production for grassland nesting birds. Grassland nesting birds preferring increased plant litter and favoring short-statured grasses will benefit, but long-term continued rest reduces nesting habitat for most species. This site provides limited hunting opportunities for grassland raptors.
Mammals: This short-statured community provides limited food, thermal, protective, and escape cover for large herbivores; life requisites will not be met in this plant community. Higher litter amounts provide food and thermal, protective, and escape cover for small herbivores.
Amphibians and Reptiles: This site should provide similar life requisites as Community Phase 1.1.
Fish and Mussels: Provides similar life requisites as Community Phase 1.1; however, increased runoff from this plant community may increase water yields to adjacent ecological sites.
4.0 Go-Back State
Community Phase 4.1 Annual/Pioneer Perennial/Exotics: These plant communities are the result of severe soil disturbance (such as cropping, recreational activity, or concentrated livestock activity for a prolonged period). Following cessation of disturbances, the resulting plant community is dominated by early pioneer annual and perennial plant species. Plant species composition and production are highly variable depending on duration of disturbance. Weedy plants can provide pollinator habitat along with spring and summer cover for many mammals and birds and their young. Shallow Gravel sites do not provide the tall-statured annual weeds for thermal cover for deer, small mammals, and over-wintering birds. The response by wildlife species will be dependent upon plant community composition, vegetative stature, patch size, and management activities (such as prescribed grazing, burning, inter-seeding, haying, or noxious weed control).
Successful restoration of native species along Transition Pathway R4A can result in a native grass and forb community in State 2.0. Over time (with no management), the exotic cool- season perennial grasses (Kentucky bluegrass, smooth brome, and/or quackgrass) generally become established and dominate the community. Failed range planting, via Transition Pathway R4B, can result in an invaded plant community Invaded State 3.0.
Animal Community – Grazing Interpretations
This site is well adapted to managed grazing by domestic livestock. The predominance of herbaceous plants across all plant community phases best lends these sites to grazing by cattle, but other domestic grazers with differing diet preferences may also be a consideration depending upon management objectives. Often, the current plant community does not entirely match any particular plant community (as described in the ecological site description). Because of this, a resource inventory is necessary to document plant composition and production. Proper interpretation of this inventory data will permit the establishment of a safe, initial stocking rate for the type and class of animals and level of grazing management. More accurate stocking rate estimates should eventually be calculated using actual stocking rate information and monitoring data.
NRCS defines prescribed grazing as “managing the harvest of vegetation with grazing and/or browsing animals with the intent to achieve specific ecological, economic, and management objectives”. As used in this site description, the term ‘prescribed grazing’ is intended to include multiple grazing management systems (e.g., rotational grazing, twice-over grazing, conservation grazing, targeted grazing, etc.) provided that, whatever management system is implemented, it meets the intent of prescribed grazing definition.
The basic grazing prescription addresses balancing forage demand (quality and quantity) with available forage, varying grazing and deferment periods from year-to-year, matching recovery/deferment periods to growing conditions when pastures are grazed more than once in a growing season, implementation of a contingency (e.g., drought) plan, and a monitoring plan. When the management goal is to facilitate change from one plant community phase or state to another, then the prescription needs to be designed to shift the competitive advantage to favor the native grass and forb species.
Grazing levels are noted within the plant community narratives and pathways in reference to prescribed grazing management. “Degree of utilization” is defined as the proportion of the current year’s forage production that is consumed and/or destroyed by grazing animals (may refer to a single plant species or a portion or all the vegetation). “Grazing utilization” is classified as slight, moderate, full, close, and severe (see the following table for description of each grazing use category). The following utilization levels are also described in the Ranchers Guide to Grassland Management IV. Utilization levels are determined by using the landscape appearance method as outlined in the Interagency Technical Reference “Utilization Studies and Residual Measurements” 1734-3.
Utilization Level % Use Description
Slight (Light) 0-20 Appears practically undisturbed when viewed obliquely. Only choice areas and forage utilized.
Moderate 20-40 Almost all of accessible range shows grazing. Little or no use of poor forage. Little evidence of trailing to grazing.
Full 40-60 All fully accessible areas are grazed. The major sites have key forage species properly utilized (about half taken, half left). Points of concentration with overuse limited to 5 to 10 percent of accessible area.
Close (Heavy) 60-80 All accessible range plainly shows use and major sections closely cropped. Livestock forced to use less desirable forage, considering seasonal preference.
Severe > 80 Key forage species completely used. Low-value forages are dominant.
Hydrological functions
Available water is the principal factor limiting forage production on this site. This site is dominated by soils in hydrologic groups A and B. Infiltration varies from moderate to moderately rapid; runoff potential varies from negligible to low depending upon hydrologic group, slope percent, slope shape, and ground cover. In many cases, areas with greater than 75% ground cover have the greatest potential for high infiltration and lower runoff. An exception would be where short grasses form a strong sod and dominate the site. Areas where ground cover is less than 50% have the greatest potential to have reduced infiltration and higher runoff (refer to Section 4, NRCS National Engineering Handbook for runoff quantities and hydrologic curves).
Recreational uses
Hunting and Bird Watching: The United States Fish and Wildlife Service manages approximately 4,000 acres of National Wildlife Refuges for hiking and bird watching and approximately 24,000 acres of Waterfowl Production Areas for public hunting, hiking, and bird watching. States within MLRA 56A manage approximately 39,000 acres of wildlife management areas for multiple use including hunting, fishing, hiking, birdwatching, berry picking, and other non-motorized uses. Of the 39,000 acres, approximately 21,400 are in Minnesota with approximately 16,000 acres in North Dakota and approximately 1,700 acres in South Dakota.
In North Dakota, the United States Forest Service manages 70,000 acres on the Sheyenne National Grassland for multiple uses including camping, hunting, photography, backpacking birdwatching, biking, horseback riding, and other non-motorized recreation. The Sheyenne National Grassland is also managed for livestock grazing. The Choppy Sands and Sands ecological sites dominate the Grassland. It is the only National Grassland in the tallgrass prairie region of the United States. The grassland provides habitat for greater prairie chickens as well as several other sensitive species, such as the Dakota skipper and regal fritillary. It also contains one of largest populations of the western prairie fringed orchid which is listed as a threatened species by the U.S. Fish and Wildlife Service.
Fishing: Approximately 20 lakes are managed for public fishing MLRA 56A. Most of these lakes offer boat docks and ramps. These lakes contain various sport fish including walleye, northern pike, yellow perch, crappie, and bluegill. The Red River runs from south to north through the center of the MLRA. The Red River is best known for channel catfish but also has walleye, sauger, northern pike, and smallmouth bass. The Red River is 550 miles long from its source in the southern end of the MLRA near Breckenridge, Minnesota to Lake Winnipeg in Manitoba, Canada. Between North Dakota and Minnesota, there are 32 public access points along the Red River with 18 having boat ramps.
Camping: Four state parks or recreation areas provide of modern and primitive camping facilities. Minnesota hosts the Buffalo River State Park and Red River State Park. North Dakota hosts the Icelandic State Park and Turtle River State Park. These Parks provide hiking, biking, birding, canoeing, and wildlife viewing opportunities. Many local parks and private parks provide modern and primitive camping opportunities. Limited primitive camping is also available on North Dakota Game and Fish Department Wildlife Management Areas.
Hiking/Biking/Horseback Riding: Hiking is permitted on most state and federally owned lands. Developed hiking and biking trails can be found the four state parks. The Grand Forks Greenway has over 22 miles of trials while municipalities along the Red River have extensive walking and hiking trails. A 30-mile segment of the North Country National Scenic Trail leads hikers through the Sheyenne National Grassland’s unique landforms and plant communities. This trail has three trailheads along its route; it is a graveled, marked trail. The entire North Country National Scenic Trail stretches from Crown Point, New York to Lake Sakakawea near Garrison, North Dakota.
Canoeing/Kayaking: The Red River has six designated canoe/kayaking trials. Public access, with limited rentals, is available at these segments. Sheyenne River Water Trail has a segment within the MLRA Sheyenne National Grasslands. Canoe/kayak rentals are available at Icelandic State Park.
Wood products
No wood products are present on the site.
Other products
Seed harvest of native plant species can provide additional income on this site.
Other information
• A few areas mapped as Brantford soils (I578A) are forested in Pembina and Cavalier counties. These areas need investigation to determine if the soils are correctly mapped. If so, some discussion of the forested state should be added to the ESD.
• Further evaluation and refinement of the State-and-Transition model is needed to identify disturbance driven dynamics. Additional states and/or phases may be required to address grazing response.
• Further documentation may be needed for plant communities in all states. Plant data has been collected in previous range-site investigations, including clipping data; however, this data needs review. If geo-referenced sites meeting Tier 3 standards for either vegetative or soil data are not available, representative sites will be selected for further investigation.
• Site concepts will be refined as the above noted investigations are completed.
• The long-term goal is to complete an approved, correlated Ecological Site Description as defined by the National Ecological Site Handbook.
• NASIS revisions needed:
o One Sandberg component is linked to Shallow Gravel ES while components with similar horizon data are linked to Sands ES; the one component should be relinked.
o One Sioux component is linked to Shallow Gravel ES while components with similar horizon data are linked to Very Shallow ES; the one component should be relinked.
o A few components of Renshaw need relinking from Sandy to Shallow Gravel.
This ESD is the best available knowledge. The site concept and species composition table have been used in the field and tested for more than five years. It is expected that as additional information becomes available revisions may be required.
Supporting information
Inventory data references
Information presented here has been derived from NRCS and other federal/state agency clipping and inventory data. Also, field knowledge of range-trained personnel was used. All descriptions were peer reviewed and/or field-tested by various private, state and federal agency specialists.
Other references
Bakker, K.K. 2003. The effect of woody vegetation on grassland nesting birds: an annotated bibliography. The Proceedings of the South Dakota Academy of Science 82:119-141.
Barker, W.T. and W. C. Whitman. 1988. Vegetation of the northern great plains. Rangelands 10(6): 266-272.
Bluemle. J.P. 2016. North Dakota’s Geologic Legacy. North Dakota State University Press. 382 pages.
Briske, D.D. (editor). 2017. Rangeland Systems – Processes, Management, and Challenges. Springer Series on Environmental Management. 661 pages.
Burgess, R.L. 1965. A study of plant succession in the sandhills of southeastern North Dakota. Proceedings ND Academy of Science 19:62-80
DeKeyser, E.S., G. Clambey, K. Krabbenhoft, and J. Ostendorf. 2009. Are changes in species composition on central North Dakota rangelands due to non-use management? Rangelands 31:16- 19
Dix, R.L. and F.E. Smeins. 1967. The prairie, meadow, and marsh vegetation of Nelson County, North Dakota. Canadian Journal of Botany 45:21-57.
Dornbusch, M.J., R.F. Limb, and C.K. Gasch. 2018. Facilitation of an exotic grass through nitrogen enrichment by an exotic legume. Rangeland Ecology & Management 71:691-694.
Dyke, S.R., S.K. Johnson, and P.T. Isakson. 2015. North Dakota State Wildlife Action Plan. North Dakota Game and Fish Department, Bismarck, ND. 468 pages.
Ehrenfeld, Joan G. 2002. Effects of exotic plant invasions on soil nutrient cycling processes. Ecosystems 6:503-523.
Endangered and threatened wildlife and plants; designation of critical habitat for the Dakota skipper and Poweshiek skipperling; Vol. 79 No. Final Rule October 1, 2015, 50 CFR Part 17.
Ereth, C., J. Hendrickson, D. Kirby, E. DeKeyser, K. Sedevic, and M. West. Controlling Kentucky bluegrass with herbicide and burning is influenced by invasion level. Invasive Plant Science and Management 10: 80-89.
Ewing, J. 1924. Plant Succession on the Brush Prairie in Northwestern Minnesota. Journal of Ecology 12:228-266.
Gilgert, W. and S. Zack. 2010. Integrating multiple ecosystem services introduction ecological site descriptions. Rangelands: 32:49-54.
Grant, T.A. and R.K. Murphy. 2005. Changes on woodland cover on prairie refuges in North Dakota, USA. Natural Areas Journal 25:359-368.
Heitschmidt, R. K., K. D. Klement, and M. R. Haferkamp. 2005. Interactive effects of drought and grazing on northern great plains rangelands. Rangeland Ecology and Management 58:11-19.
Hendrickson, J.R., P. S. Johnson, M. A. Liebig, K. K. Sedivec, and G. A. Halvorson. 2016. Use of ecological sites in managing wildlife and livestock: an example with prairie dogs. Rangelands
Hendrickson, J.R., S.L. Kronberg, and E.J. Scholljegerdes. 2020. Can targeted grazing reduce abundance of invasive perennial grass (Kentucky Bluegrass) on native mixed-grass prairie? Rangeland Ecology and Management, 73:547-551.
Higgins, K.F. 1984. Lightning fires in grasslands in North Dakota and in pine-savanna lands in nearby South Dakota and Montana. J. Range Manage. 37:100-103.
Higgins, K.F. 1986. Interpretation and compendium of historical fire accounts in the northern great plains. United States Department of Interior, Fish and Wildlife Service. Resource Publication 161. 39 pages.
Higgins, K.F., A.D. Kruse, and J.L. Piehl. 1989. Effects of fire in the Northern Great Plains. U.S. Fish and Wildlife Service and Cooperative Extension Service South, Dakota State University. Extension Circular 761. 48 pages.
High Plains Regional Climate Center, University of Nebraska, 830728 Chase Hall, Lincoln, NE 68583-0728. (http://hprcc.unl.edu)
Johnson, Sandra. 2015. Reptiles and Amphibians of North Dakota. North Dakota Game and Fish Department. 64 pages.
Jordan, N. R., D.L. Larson, and S.C. Huerd. 2008. Soil modification by invasive plants: effects on native and invasive species of mixed-grass prairies. Biological Invasions 10:177-190.
Mader, E., M. Shepherd, M. Vaughan, and S.H. Black. 2011. Attracting native pollinators: protecting North America's bees and butterflies. Accessed at https://xerces.org, May 1, 2017.
Minnesota Department of Natural Resources. 2005. Field guide to the native plant communities of Minnesota – the prairie parkland and tallgrass aspen parklands provinces. Minnesota DNR.
Nelson, W.T. 1986. Grassland habitat type classification of the Sheyenne National Grasslands of southeastern North Dakota. M.S. thesis. North Dakota State University. 139 pages.
North Dakota Division of Tourism, Accessed on February 25, 2019. Available at https://www.ndtourism.com/sports-recreation
North Dakota Parks and Recreation Department, Accessed on February 25, 2019. Available at http://www.parkrec.nd.gov/recreationareas/recreationareas.html
Palit, R., G. and E.S. DeKeyser. 2022. Impacts and drivers of smooth brome (Bromus inermis Leyes.) invasion in native ecosystems. Plants: 10,3390. https://www.mdpi.com/2223- 7747/11/10/1340
Palit, R., G. Gramig, and E.S. DeKeyser. 2021. Kentucky bluegrass invasion in the Northern Great Plains and prospective management approaches to mitigate its spread. Plants: 10,817. https://doi.org/10.3390/plants10040817
Peterson, K. 2013. Remediation of Sand Dune Blowouts Along Pipeline Rights of Ways. M.S. thesis. University of New Mexico, Albuquerque. https://digitalrepository.unm.edu/cgi/viewcontent.cgi?article=1015&context=geog_etds
Printz, J.L. and J.R. Hendrickson. 2015. Impacts of Kentucky bluegrass Invasion (Poa pratensis) on Ecological Processes in the Northern Great Plains. Rangelands 37(6):226-232.
Reeves, J.L., J.D. Derner, M.A. Sanderson, J.R. Hendrickson, S.L. Kronberg, M.K. Petersen, and L.T. Vermeire. 2014. Seasonal weather influences on yearling beef steer production in C3- dominated Northern Great Plains rangeland. Agriculture, Ecosystems and Environment 183:110- 117.
Ralston, R.D., and R.L. Dix. 1966. Green herbage production of native grasslands in the Red River Valley-1965. Proceedings ND Academy of Science 20:57-66.
Royer, R. A., 2003. Butterflies of North Dakota: An Atlas and Guide. Minot State University, Minot, ND.
Seabloom, R. 2020. Mammals of North Dakota. North Dakota Institute for Regional Studies, Fargo, ND. 470 pages.
Sedivec, K.D., J.L. Printz. 2014. Ranchers Guide to Grassland Management IV. NDSU Extension Service publication R1707.
Severson, K. E. and C. Hull Sieg. 2006. The Nature of Eastern North Dakota: Pre-1880 Historical Ecology. North Dakota Institute for Regional Studies.
South Dakota Dept. of Game, Fish and Parks. 2014. South Dakota Wildlife Action Plan. Wildlife Division Report 2014-03.
Spaeth, K.E., Hayek, M.A., Toledo, D., and Hendrickson, J. 2019. Cool Season Grass Impacts on Native Mixedgrass Prairie Species in the Norther Great Plains. America’s Grassland Conference: Working Across Boundaries. The Fifth Biennial Conference on the Conservation of America’s Grasslands. Bismarck, ND. 20-22 August.
Swingen, M., R, M. Walker, R. Baker, G. Nordquist, T. Catton, K. Kirschbaum, B. Dirks, and N. Dietz. 2018. Northern Long-eared Bat Roost Tree Characteristics 2015-2017. Natural Research Institute, University of Minnesota Duluth, Technical Report NRRI/TR-2018/41, 88p.
Tidwell, D., D.T. Fogarty, and J.R. Weir. 2021. Woody encroachment in grasslands, a guide for understanding risk and vulnerability. Oklahoma State University, Oklahoma Cooperative Extension Service publication E-1054. 32 pages.
Toledo, D., M. Sanderson, K. Spaeth, J. Hendrickson, and J. Printz. 2014. Extent of Kentucky bluegrass and its effect on native plant species diversity and ecosystem services in the northern great plains of the United State. Invasive Plant Science and Management 7(4): 543-552.
USDA, NRCS. 2021. National Range and Pasture Handbook, (https://www.nrcs.usda.gov/wps/portal/nrcs/detailfull/national/landuse/rangepasture/?cid=stelprdb1 043084)
USDA, NRCS. 2006. Land Resource Regions and Major Land Resource Areas of the United States, the Caribbean, and the Pacific Basin. U.S. Department of Agriculture Handbook 296.
USDA, NRCS. National Soil Information System, 100 Centennial Mall North, Room 152, Lincoln, NE 68508-3866.
(https://www.nrcs.usda.gov/wps/portal/nrcs/detail/soils/survey/tools/?cid=nrcs142p2_053552)
USDA, NRCS. National Water & Climate Center, 1201 NE Lloyd Blvd, Suite 802, Portland, OR 97232-1274. (https://www.wcc.nrcs.usda.gov/)
USDA, NRCS. 2001. The PLANTS Database, Version 3.1 (http://plants.usda.gov). National Plant Data Center, Baton Rouge, LA 70874-4490 USA.
USDA, NRCS, Various Published Soil Surveys.
USDI BLM.1999. Utilization Studies and Residual Measurements. Interagency Technical Reference 1734-3.
Vinton, M.A. and E.M. Goergen. 2006. Plant-soil feedbacks contribute to the persistence of Bromus inermis in tallgrass prairie. Ecosystems 9: 967-976.
Whitman, W.H., H. Hanson, and R. Peterson. 1943. Relation of drought and grazing to North Dakota range lands. North Dakota Agricultural Experimentation Bulletin 340.
Contributors
ND NRCS: Keith Anderson, Fred Aziz, Stan Boltz, David Dewald, Jonathan Fettig, Alan Gulsvig, Mark Hayek, Chuck Lura, Jeff Printz, Steve Sieler, Lee Voigt, and Hal Weiser.
Approval
Suzanne Mayne-Kinney, 5/21/2025
Rangeland health reference sheet
Interpreting Indicators of Rangeland Health is a qualitative assessment protocol used to determine ecosystem condition based on benchmark characteristics described in the Reference Sheet. A suite of 17 (or more) indicators are typically considered in an assessment. The ecological site(s) representative of an assessment location must be known prior to applying the protocol and must be verified based on soils and climate. Current plant community cannot be used to identify the ecological site.
| Author(s)/participant(s) | USDA-NRCS North Dakota |
|---|---|
| Contact for lead author | NRCS State Rangeland Management Specialist |
| Date | 12/01/2021 |
| Approved by | Suzanne Mayne-Kinney |
| Approval date | |
| Composition (Indicators 10 and 12) based on | Annual Production |
Indicators
-
Number and extent of rills:
Rills are not expected on this site. -
Presence of water flow patterns:
Water flow patterns are not visible. -
Number and height of erosional pedestals or terracettes:
Neither pedestals nor terracettes are expected -
Bare ground from Ecological Site Description or other studies (rock, litter, lichen, moss, plant canopy are not bare ground):
Bare ground ranges from 5 to 15%. Bare ground patches would be relatively small (less than 6 inches in diameter) and disconnected. -
Number of gullies and erosion associated with gullies:
Active gullies are not expected on this site. -
Extent of wind scoured, blowouts and/or depositional areas:
No wind-scoured or depositional areas are expected on this site. -
Amount of litter movement (describe size and distance expected to travel):
Short (12 inches or less) movement of fine/small class of litter may be observable
following intense thunderstorm activity. -
Soil surface (top few mm) resistance to erosion (stability values are averages - most sites will show a range of values):
Stability class averages 5 or greater. -
Soil surface structure and SOM content (include type of structure and A-horizon color and thickness):
Use soil series description for depth, color, and structure of A-horizon. -
Effect of community phase composition (relative proportion of different functional groups) and spatial distribution on infiltration and runoff:
Mid- and short-statured bunch grasses are dominant and well distributed across the site. Mid- and short-statured rhizomatous grasses and forbs are subdominant. -
Presence and thickness of compaction layer (usually none; describe soil profile features which may be mistaken for compaction on this site):
No compaction layers are expected on this site. -
Functional/Structural Groups (list in order of descending dominance by above-ground annual-production or live foliar cover using symbols: >>, >, = to indicate much greater than, greater than, and equal to):
Dominant:
Phase 1.1 -
Mid & short C3 bunch grasses (4); Mid & short C4 bunch grasses (2)Sub-dominant:
Phase 1.1 -
Mid & short C3 rhizomatous grasses (2); Forbs (15)Other:
Minor - Phase 1.1 -
Grass-likes; ShrubAdditional:
Due to differences in phenology, root morphology, soil biology relationships, and nutrient cycling Kentucky bluegrass, smooth brome, and crested wheatgrass are included in a new Functional/structural group, mid- and short-statured early cool-season grasses (MSeC3), not expected for this site.
To see a full version 5 rangeland health worksheet with functional/structural group tables. Please use the following hyperlink:(
https://efotg.sc.egov.usda.gov/references/public/ND/56A_Shallow_Gravel_Narrative_FINAL_Ref_FSG.pdf ) -
Amount of plant mortality and decadence (include which functional groups are expected to show mortality or decadence):
Rare to not occurring on this site. -
Average percent litter cover (%) and depth ( in):
Plant litter cover is 45 to 60% with a depth of 0.1 to 0.25 inches. Litter is in contact with the soil surface. -
Expected annual annual-production (this is TOTAL above-ground annual-production, not just forage annual-production):
Annual air-dry production is 2100 lbs./ac (reference value) with normal precipitation and temperatures. Low and high production years should yield 1400 lbs./ac to 2800 lbs./ac, respectively. -
Potential invasive (including noxious) species (native and non-native). List species which BOTH characterize degraded states and have the potential to become a dominant or co-dominant species on the ecological site if their future establishment and growth is not actively controlled by management interventions. Species that become dominant for only one to several years (e.g., short-term response to drought or wildfire) are not invasive plants. Note that unlike other indicators, we are describing what is NOT expected in the reference state for the ecological site:
State and local noxious species, Kentucky bluegrass, smooth bromegrass, crested wheatgrass, and Eastern red cedar/juniper. -
Perennial plant reproductive capability:
Noninvasive species in all functional/structural groups are vigorous and capable of reproducing annually under normal weather conditions.
Print Options
Sections
Font
Other
The Ecosystem Dynamics Interpretive Tool is an information system framework developed by the USDA-ARS Jornada Experimental Range, USDA Natural Resources Conservation Service, and New Mexico State University.
Click on box and path labels to scroll to the respective text.
Ecosystem states
| T1A | - | Introduction of exotic cool-season grasses |
|---|---|---|
| T2A | - | Long-term non-use or very light grazing and no fire |
| R3A | - | Long-term prescribed grazing and prescribed burning |
| R4A | - | Successful range planting |
| R4B | - | Failed range planting and/or secondary succession |
| T5A | - | Cessation of annual cropping |
State 1 submodel, plant communities
| 1.1A | - | Multiyear drought with/without heavy, long-term grazing |
|---|---|---|
| 1.2A | - | Return to average precipitation and reduced grazing |
State 2 submodel, plant communities
| 2.1A | - | Multiyear drought with/without heavy, long-term grazing |
|---|---|---|
| 2.2A | - | Long-term prescribed grazing and prescribed burning |