Natural Resources
Conservation Service
Ecological site R058CY077ND
Sandy
Last updated: 4/21/2025
Accessed: 12/17/2025
General information
Provisional. A provisional ecological site description has undergone quality control and quality assurance review. It contains a working state and transition model and enough information to identify the ecological site.
MLRA notes
Major Land Resource Area (MLRA): 058C–Northern Rolling High Plains, Northeastern Part
MLRA 58C covers 2,320 square miles and encompasses approximately 1.8 million acres. MLRA 58C spans two states, with 96 percent located in North Dakota and the remaining 4 percent is in Montana. The MLRA 58C landscape is characterized by steeply sloping dissected badlands along the Little Missouri River and its tributaries. Primary land uses are of rangeland for grazing and wildlife habitat. Microclimates inherent in badlands landscapes influence both variety and abundance of vegetation in MLRA 58C. South- and west- facing exposures are dry, hot, and sparsely vegetated. More humid and cooler north- and east-facing exposures are favorable for abundant forage and woody vegetation.
MLRA 58C is known as the Little Missouri Badlands, which formed when the Little Missouri River was diverted along a shorter, steeper course by Pleistocene glaciers. Due to the resulting increased gradient after its eastward diversion by the glaciers, the Little Missouri River began rapidly downcutting into the soft, calcareous sedimentary shale, siltstone, and sandstone of the Fort Union and Hell Creek geological formations. This rapid downcutting eroded and carved the badlands of the MLRA. This cycle of erosion and deposition continues today.
Most of the soils in MLRA 58C developed from residuum weathered in place. As a result of constant erosion and deposition, the majority of soils in MLRA 58C are Entisols and Inceptisols. Mollisols formed on the high, stable drainageway divides and plateaus above the steeper, dissected hillslopes and fans that define the Little Missouri Badlands. Elevation ranges from 1,835 feet (560 meters) to 3,400 feet (1,036 meters). The Little Missouri River flows through the entire length of MLRA 58C and empties into Lake Sakakawea that was formed by the Garrison Dam on the Missouri River.
Classification relationships
Level IV Ecoregions of Conterminous United States: 43b-Little Missouri Badlands.
Ecological site concept
The Sandy site is located on hillslopes, ridges and alluvial fans of sedimentary uplands and on paleoterraces. The paleoterraces occur very high on the landscape (above sedimentary beds and actively eroding badland); they have significant amounts of gravel in the substratum. Soils are moderately deep to very deep (sandstone may be as shallow as 20 inches). The soils are coarse loamy throughout (form a ribbon <1 inch long). Depth to calcium carbonates is more than 8 inches. Slopes range from 0 to 35 percent. On sedimentary uplands, Shallow Sandy and Limy Sands ecological sites occur higher than the Sandy site while Sandy Claypan and Thin Claypan typically occur lower. Loamy and Steep-Sided Wooded Draw ecological sites occur on similar landscape positions as Sandy sites. Soils on Loamy sites form a ribbon 1 to 2 inches long. Where soft sedimentary bedrock occurs within the rooting zone, it is typically mudstone or siltstone.
To see a full copy of the ecological site description with all tables and the full version 5 rangeland health worksheet, please use the following hyperlink:
https://efotg.sc.egov.usda.gov/references/public/ND/58C_Sandy_Narrative_FINAL_Ref_FSG.pdf
Associated sites
| R058CY088ND |
Shallow Sandy This site is up-slope from the Sandy site on hillslope and ridge landforms. The soils have soft, sedimentary sandstone at a depth of 10 to 20 inches. This bedrock affects root growth. This site has less production than the Sandy sites. |
|---|---|
| R058CY080ND |
Loamy This site occurs on similar landscape positions as the Sandy site. The soil forms a ribbon 1 to 2 inches long; on sedimentary uplands, it commonly has siltstone or mudstone bedrock within a depth of 40 inches. |
| R058CY081ND |
Thin Claypan This site occurs on somewhat lower landscape positions than the Sandy ecological site. The soil has a dense, sodic, root-restrictive claypan within a depth of 6 inches; accumulated salts are within a depth of 16 inches. |
| R058CY085ND |
Sandy Claypan This site occurs on fans. The soil has a dense, sodic, root-restrictive claypan starting at a depth between 6 and 20 inches. Accumulated salts, if present, are deeper than 16 inches. |
| R058CY095ND |
Limy Sands This site typically occurs higher than the Sandy ecological site on sedimentary uplands. The soils do not from a ribbon and are calcareous within a depth 8 inches. |
| R058CY101ND |
Steep-Sided Wooded Draw This site occurs on sideslopes of ridges. The aspect is typically north or east. The woodland canopy has influenced the understory plant community. |
Similar sites
| R058CY095ND |
Limy Sands This site typically occurs higher than the Sandy ecological sites on sedimentary uplands. The soils do not form a ribbon and are calcareous within a depth 8 inches. |
|---|---|
| R054XY025ND |
Sands This site occurs on similar landscape positions as Sandy ecological sites. The soil does not form a ribbon, but it may form a ball when squeezed. |
Table 1. Dominant plant species
| Tree |
Not specified |
|---|---|
| Shrub |
Not specified |
| Herbaceous |
Not specified |
Physiographic features
This site occurs on nearly level to very steep hillslopes, ridges, and alluvial fans on sedimentary uplands and on paleoterraces. The paleoterraces occur very high on the landscape (above sedimentary beds and actively eroding badland); they have significant amounts of gravel in the substratum. Parent materials are residuum (weathered sandstone), alluvium from residuum, or alluvium on paleoterraces. Slope ranges from 0 to 35 percent.
Table 2. Representative physiographic features
| Landforms |
(1)
Hillslope
(2) Paleoterrace (3) Ridge (4) Alluvial fan |
|---|---|
| Runoff class | Very low to high |
| Flooding frequency | None |
| Ponding frequency | None |
| Elevation | 1,835 – 3,400 ft |
| Slope | 35% |
| Water table depth | 80 in |
| Aspect | Aspect is not a significant factor |
Climatic features
MLRA 58C is considered to have a continental climate with cold winters and hot summers, low humidity, light rainfall, and much sunshine. Extremes in temperature are common and characteristic of the MLRA. The continental climate is the result of the location of this MLRA in the geographic center of North America. There are few natural barriers on the northern Great Plains, so air masses move unobstructed across the plains and account for rapid changes in temperature.
Annual precipitation ranges from 14 to 17 inches per year. The normal average annual temperature is about 41° F. January is the coldest month with an average temperature of about 17° F. July is the warmest month with an average temperature of about 70° F. The range of normal average monthly temperatures between the coldest and warmest months is 53° F. This large temperature range attests to the continental nature of the MLRA 58C climate. Wind speeds average about 11 miles per hour, ranging from about 13 miles per hour during the spring to about 10 miles per hour during the summer. Daytime wind speeds are generally stronger than nighttime wind speeds, and occasional strong storms may bring brief periods of high winds with gusts to more than 50 miles per hour.
Growth of native cool-season plants begins in late March and continues to early to mid-July. Native warm- season plants begin growth in mid-May and continue to the end of August. Greening up of cool-season plants can occur in September and October when adequate soil moisture is present.
Table 3. Representative climatic features
| Frost-free period (characteristic range) | 91-100 days |
|---|---|
| Freeze-free period (characteristic range) | 119-123 days |
| Precipitation total (characteristic range) | 15-16 in |
| Frost-free period (actual range) | 84-102 days |
| Freeze-free period (actual range) | 116-123 days |
| Precipitation total (actual range) | 14-16 in |
| Frost-free period (average) | 95 days |
| Freeze-free period (average) | 121 days |
| Precipitation total (average) | 15 in |
Figure 1. Monthly precipitation range
Figure 2. Monthly minimum temperature range
Figure 3. Monthly maximum temperature range
Figure 4. Monthly average minimum and maximum temperature
Figure 5. Annual precipitation pattern
Figure 6. Annual average temperature pattern
Climate stations used
-
(1) MEDORA 7 E [USW00094080], Fairfield, ND
-
(2) WATFORD CITY 14S [USC00329246], Grassy Butte, ND
-
(3) TROTTERS 3 SSE [USC00328812], Beach, ND
-
(4) CARLYLE 13 NW [USC00241518], Wibaux, MT
-
(5) AMIDON [USC00320209], Amidon, ND
Influencing water features
No significant water features influence this site. A seasonal ground water table is typically deeper than 6 feet throughout the growing season. Soils occurring on fans may receive some run-on water from adjacent uplands, but this does significantly influence the plant community. Surface infiltration and the permeability above a restrictive layer are moderately rapid. Water loss is through evapotranspiration and percolation below the root zone.
Soil features
Soils associated with Loamy ES are in the Mollisols order; nearly all are classified further as Aridic Haplustolls. However, one soil is classified as Aridic Natrustolls (depth to the root-affecting claypan exceeds 20 inches). These soils were developed under prairie vegetation. They formed in coarse-loamy residuum weathered primarily from sandstone or alluvium from the residuum, as well as alluvium on paleoterraces. Depth to soft, sedimentary bedrock ranges from 20 to more than 80 inches; where the bedrock is within 40 inches, it affects root growth and available water capacity. The soils are well drained. Soil texture to a depth of 20 inches or more is fine sandy loam or sandy loam (soil forms a ribbon <1 inch long). The dark-colored surface layer ranges from 5 to more than 8 inches thick. The depth to calcium carbonates is more than 8 inches (typically >12 inches). Soils on paleoterraces commonly have coarse sand and/or gravel in the substratum.
Soil reaction is typically slightly acid to slightly alkaline (pH 6.1 to 7.8) in the surface and upper subsoil layers; however, in a few soils it is moderately alkaline (pH 7.9 to 8.4). In the calcareous subsoil layers and substratum, it is slightly alkaline to strongly alkaline (pH 7.4 to 9.0). Salinity, typically, is none to very slight (E.C. <2 dS/m); however, in the soil with a claypan, it can range to moderately saline (E.C. 8 to 16 dS/m) below a depth of 16 inches. Sodicity is none to low (SAR <5) to a depth of 16 inches or more. In the soil with a claypan, the SAR ranges as high as 25 in the claypan and below. Calcium carbonate content is none to a depth of 8 inches; it ranges to 20 percent in the lower subsoil and substratum.
These soils are susceptible to water and wind erosion. The hazard of water erosion increases on slopes greater than about 15 percent. Low available water capacity influences the soil-water-plant relationship. In some instances, the soil-water-plant relationship may be influenced by soil properties that are deeper in the soil profile. The Desart series has high accumulations of sodium and slow permeability in the subsoil which occurs at depths of 20 to 30 inches. Other soils have discontinuities such as sandstone or sand and gravel layers in the substratum. Loss of the soil surface layer can result in a shift in species composition and/or production.
Major soil series correlated to the Sandy site are Chinook, Cozberg, and Rhame. In addition, a taxadjunct of the Desart series (established for the ustic moisture regime) is included in this site.
Access Web Soil Survey (https://websoilsurvey.sc.egov.usda.gov/App/WebSoilSurvey.aspx) for specific local soils information.
Table 4. Representative soil features
| Parent material |
(1)
Residuum
–
sandstone
(2) Alluvium – sandstone |
|---|---|
| Surface texture |
(1) Fine sandy loam (2) Sandy loam |
| Family particle size |
(1) Sandy |
| Drainage class | Well drained |
| Permeability class | Moderately rapid |
| Depth to restrictive layer | 20 – 80 in |
| Surface fragment cover <=3" | 1% |
| Surface fragment cover >3" | Not specified |
| Available water capacity (0-40in) |
2 – 6 in |
| Calcium carbonate equivalent (0-40in) |
20% |
| Electrical conductivity (0-20in) |
2 mmhos/cm |
| Sodium adsorption ratio (0-20in) |
5 |
| Soil reaction (1:1 water) (0-40in) |
6.1 – 8.4 |
| Subsurface fragment volume <=3" (0-40in) |
40% |
| Subsurface fragment volume >3" (0-40in) |
3% |
Ecological dynamics
This ecological site description is based on nonequilibrium ecology and resilience theory and utilizes a State- and-Transition Model (STM) diagram to organize and communicate information about ecosystem change as a basis for management. The ecological dynamics characterized by the STM diagram reflect how changes in ecological drivers, feedback mechanisms, and controlling variables can maintain or induce changes in plant community composition (phases and/or states). The application of various management actions, combined with weather variables, impact the ecological processes which influence the competitive interactions, thereby maintaining or altering plant community structure.
Prior to European influence, the historical disturbance regime for MLRA 58C included frequent fires, both anthropogenic and natural in origin. Most fires, however, were anthropogenic fires set by Native Americans. Native Americans set fires in all months except perhaps January. These fires occurred in two peak periods, one from March-May with the peak in April and another from July-November with the peak occurring in October. Most of these fires were scattered and of small extent and duration. The grazing history would have involved grazing and browsing by large herbivores (such as American bison, elk, pronghorn, mule deer, and whitetail deer). Herbivory by small mammals, insects, nematodes, and other invertebrates are also important factors influencing the production and composition of the communities. Grazing and fire interaction, particularly when coupled with drought events, influenced the dynamics discussed and displayed in the following state and transition diagram and descriptions.
A Note on Prairie Dogs: Prairie dogs prefer habitats composed predominantly of shortgrasses and avoid those dominated by tallgrasses. Historically prairie dogs likely occupied a wide range of soils (at least occasionally) due to variations in environmental factors (such as drought severity and length, grazing, etc.). Presently, the known occupation of this ecological site in this MLRA by prairie dogs is considered to be uncommon to rare. As a result, the presence of prairie dog towns for this ecological site in this MLRA is not included in this ecological description. However, prairie dog towns may be encountered on the site. If encountered impact would include increased bare ground and decreased production and plant vigor.
Following European influence, this ecological site generally has had a history of grazing by domestic livestock, particularly cattle, which along with other related activities (e.g., fencing, water development, fire suppression) has changed the disturbance regime of the site. Changes will occur in the plant communities due to these and other factors.
Weather fluctuations coupled with managerial factors may lead to changes in the plant communities and may, under adverse impacts, result in a slow decline in vegetative vigor and composition. However, under favorable conditions the botanical composition may resemble that prior to European influence.
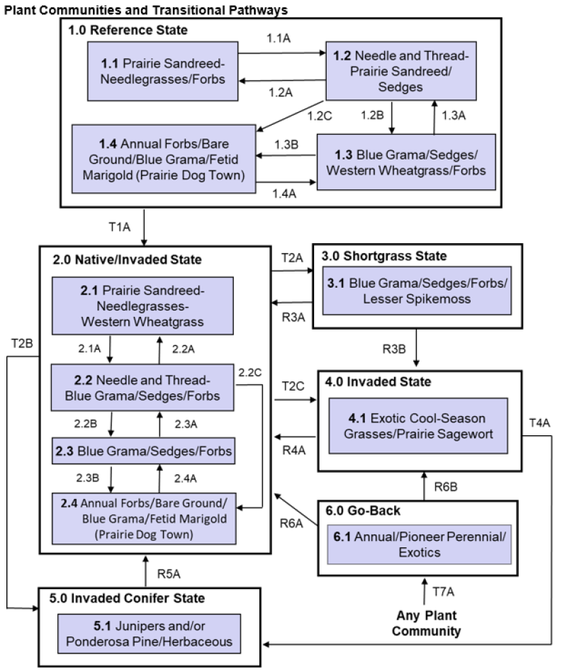
Six vegetative states have been identified for the site (Reference, Native/Invaded, Shortgrass, Invaded, Conifer Invaded, and Go-Back). Within each state, one or more community phases have been identified. These community phases are named based on the more dominant and visually conspicuous species; they have been determined by study of historical documents, relict areas, scientific studies, and ecological aspects of plant species and plant communities. Transitional pathways and thresholds have been determined through similar methods.
State 1: Reference State represents the natural range of variability that dominated the dynamics of this ecological site prior to European influence. Dynamics of the state were largely determined by variations in climate and weather (e.g., drought), as well as that of fire (e.g., timing, frequency) and grazing by native herbivores (e.g., frequency, intensity, selectivity). Due to those variations, the Reference State is thought to have shifted temporally and spatially between four plant community phases.
Currently the primary disturbances include widespread introduction of exotic species, concentrated livestock grazing, lack of fire, and perhaps long-term non-use and no fire. Because of these changes (particularly the widespread occurrence of exotic species), as well as other environmental changes, the Reference State is considered to no longer exist. Thus, the presence of exotic species on the site precludes it from being placed in the Reference State. It must then be placed in one of the other states, commonly State 2: Native/Invaded State (T1A).
State 2: Native/Invaded State. Colonization of the site by exotic species results in a transition from State 1: Reference State to State 2: Native/Invaded State (T1A). This transition was probably inevitable; it often resulted from colonization by exotic cool-season grasses (such as Kentucky bluegrass, crested wheatgrass, and/or smooth brome) which have been particularly and consistently invasive under extended periods of no use and no fire. Other exotics, such as Canada thistle and leafy spurge, are also known to invade the site.
Four community phases have been identified for this state; they are similar to the community phases in the Reference State but have now been invaded by exotic cool-season grasses. These exotic cool-season grasses can be expected to increase. As that increase occurs, plants more desirable to wildlife and livestock may decline. A decline in forb diversity can also be expected. Under non-use or minimal use management, mulch increases and may become a physical barrier to plant growth. This also changes the micro-climate near the soil surface and may alter infiltration, nutrient cycling, and biological activity near the soil surface. As a result, these factors combined with shading cause desirable native plants to have increasing difficulty remaining viable and recruitment declines.
To slow or limit the invasion of these exotic grasses or other exotic plants, it is imperative that managerial techniques (e.g., prescribed grazing, prescribed burning) be carefully constructed, monitored, and evaluated with respect to that objective. If management does not include measures to control or reduce these exotic plants, the transition to State 3: Invaded State should be expected (T2C). This state may also transition to State 3: Shortgrass State during long-term drought coupled with heavy grazing (T2A). The state may also transition to State 5: Invaded Conifer State during long-term lack of fire (T2B). Managers need to understand when the plant community is at or near these parameters, all data available needs to be evaluated to determine needed management actions.
State 3: Shortgrass State. This state results from extended drought coupled with heavy grazing resulting in shortgrasses (e.g., blue grama), sedges, and lesser spikemoss becoming dominant. Lesser spikemoss soil surface cover is often 25% or greater. Once the state is well established, mechanical as well as other treatments have been largely ineffective in suppressing or eliminating lesser spikemoss, even though some short-term reductions may appear successful. As a result, restoration pathway to State 2: Native/Invaded State (R3A) will likely be temporary. A failed grazing land mechanical treatment (R3B) may remain in State 3: Shortgrass State or, if adjacent exotic cool-season grasses provide a seed source or encroach vegetatively, it will lead to State 4: Invaded State (R3B).
Note: Lesser spikemoss (Selaginella densa, Selaginellaceae) is native to western North America where it forms small mats on a variety of habitats. The role of lesser spikemoss in the northern mixed grass prairie is not well understood, particularly as it relates to grazing and drought. It appears to be unable to compete with other plants under relatively moist conditions; as such, it is most abundant on xeric soils (e.g., Sandy ecological sites) where it is highly tolerant of desiccation. Although it does not provide forage for livestock and wildlife, it does protect the soil from erosion and the effects of trampling. If the roots are not disturbed, the plant is very resistant to drought. However, because it is weakly rooted, it may decrease under proper grazing management. Site differences are probably more important than grazing.
State 4: Invaded State. The threshold for this state is reached when both the exotic cool-season grasses (e.g., Kentucky bluegrass, crested wheatgrass, smooth brome) exceed 30% of the plant community and native grasses represent less than 40% of the community. Managers need to understand when the plant community is at or near these parameters; all data available needs to be evaluated to determine needed management actions. One community phase has been identified for this state.
The exotic cool-season grasses can be quite invasive and often form monotypic stands. As they increase, both forage quantity and quality of the annual production becomes increasingly restricted to late spring and early summer, even though annual production may increase. Forb diversity often declines. Under non-use or minimal use management, mulch can increase and become a physical barrier to plant growth which alters nutrient cycling, infiltration, and soil biological activity. As such, desirable native plants become increasingly displaced.
Once the state is well established, prescribed burning and prescribed grazing techniques have been largely ineffective in suppressing or eliminating the exotic cool-season grasses, even though some short-term reductions may appear successful. However, assuming there is an adequate component of native grasses to respond to treatments, a restoration pathway to State 2: Native/Invaded State may be accomplished with the implementation of long-term prescribed grazing in conjunction with prescribed burning, perhaps followed by a range planting (R4A). This state may also transition to State 5: Invaded Conifer State during periods of long- term lack of fire (T4A).
State 5: Invaded Conifer State. This state may be characterized by the dominance of Rocky Mountain juniper and/or ponderosa pine. Other junipers (e.g., creeping juniper, common juniper, eastern red cedar) may also be present. Depending upon tree density, the herbaceous layer may be minimal to non-existent and dominated by needle cast. One community phase has been identified and often result from extended periods of no fire (e.g., T2B, T4A).
A marked increase in non-use management and active fire suppression since European influence has enabled this state to expand and become more widespread. This is particularly important to the fire-intolerant juniper species’ ability to expand, exploit and dominate grasslands. Where a conifer seed source is available, woody encroachment processes begin to dominate as fire intervals increase or fire is eliminated from the site. As depicted in the following diagram, conifer seeds disperse into an intact grassland State 1.0 or 2.0, beginning the process of woody encroachment. Extended fire intervals allow conifer to establish allowing for a transition to State 5: Invaded Conifer State.
This Invaded Conifer State often results from long-term lack of fire (T2B, T4A). A stand-replacing wildfire or frequent prescribed burning may lead to State 2: Native/Invaded State (R5A). However, depending on the abundance of exotic grasses, a follow-up range planting may be necessary to complete the restoration.
State 6: Go-Back State. This state often results following cropland abandonment and consists of only one plant community phase. This weedy assemblage may include noxious weeds that need control. Over time, the exotic cool-season grasses (Kentucky bluegrass, crested wheatgrass, and/or smooth brome) will likely predominate.
Initially, due to extensive bare ground and a preponderance of shallow rooted annual plants, the potential for soil erosion is high. Plant species richness may be high, but overall diversity (i.e., equitability) is typically low with the site dominated by a relatively small assemblage of species. Due to the lack of native perennials and other factors, restoring the site with the associated ecological processes is difficult. However, a successful range planting may result in something approaching State 2: Native/Invaded State (R6A). Following seeding, prescribed grazing, prescribed burning, haying, and the use of herbicides will generally be necessary to achieve the desired result and control weeds, some of which may be noxious weeds. A failed range planting and/or secondary succession will lead to State 4: Invaded State (R6B).
The following state and transition model diagram illustrates the common states, community phases, community pathways, and transition and restoration pathways that can occur on the site. These are the most common plant community phases and states based on current knowledge and experience; changes may be made as more data are collected. Pathway narratives describing the site’s ecological dynamics reference various management practices (e.g., prescribed grazing, prescribed fire, brush management, herbaceous weed treatment) which, if properly designed and implemented, will positively influence plant community competitive interactions. The design of these management practices will be site specific and should be developed by knowledgeable individuals; based upon management goals and a resource inventory; and supported by an ongoing monitoring protocol.
When the management goal is to maintain an existing plant community phase or restore to another phase within the same state, modification of existing management to ensure native species have the competitive advantage may be required. To restore a previous state, the application of two or more management practices in an ongoing manner will be required. Whether using prescribed grazing, prescribed burning, or a combination of both with or without additional practices (e.g., brush management), the timing and method of application needs to favor the native species over the exotic species. Adjustments to account for variations in annual growing conditions and implementing an ongoing monitoring protocol to track changes and adjust management inputs to ensure desired outcome will be necessary.
The plant community phase composition table(s) has been developed from the best available knowledge including research, historical records, clipping studies, and inventory records. As more data are collected, plant community species composition and production information may be revised.
State and transition model
Figure 7. Stages of Woody Encroachment - Adapted from: Reducing Woody Encroachment in Grasslands – A Guide for Understanding Risk and Vulnerability; Oklahoma Cooperative Extension Service
Figure 8. Sandy Ecological Site State and Transition model
Figure 9. State and Transition Model Key
More interactive model formats are also available.
View Interactive Models
More interactive model formats are also available.
View Interactive Models
Click on state and transition labels to scroll to the respective text
Ecosystem states
States 2, 5 and 6 (additional transitions)
| T1A | - | Introduction of exotic cool-season grasses |
|---|---|---|
| T2A | - | Long-term drought with heavy grazing |
| T2C | - | Long-term no use or light grazing use, long-term lack of fire |
| T2B | - | Long-term lack of fire |
| R3A | - | Successful grazing land mechanical treatment |
| R3B | - | Failed grazing land mechanical treatment |
| R4A | - | Prescribed burning with prescribed grazing perhaps followed by a range planting |
| T4A | - | Long-term lack of fire |
| R5A | - | Stand replacing wildfire or frequent prescribed burning perhaps followed by a range planting |
| R6A | - | Successful native range planting followed by prescribed grazing and prescribed burning |
| R6B | - | Failed range planting and/or secondary succession |
State 1 submodel, plant communities
| 1.1A | - | Long-term drought with/without heavy, long-term grazing |
|---|---|---|
| 1.2A | - | Return to average precipitation and reduced grazing |
| 1.2B | - | Long-term drought with heavy grazing |
| 1.2C | - | Long-term prairie dog occupation |
| 1.3A | - | Return to average precipitation and reduced grazing |
| 1.3B | - | Long-term prairie dog occupation |
| 1.4A | - | Abandonment of prairie dogs |
State 2 submodel, plant communities
| 2.1A | - | Heavy season-long grazing with or without drought |
|---|---|---|
| 2.2A | - | Prescribed grazing and prescribed burning, return to average precipitation |
| 2.2B | - | Heavy season-long grazing coupled with long-term drought |
| 2.2C | - | Long-term prairie dog occupation |
| 2.3A | - | Return to average precipitation with prescribed grazing and prescribed burning |
| 2.3B | - | Long-term prairie dog occupation |
| 2.4A | - | Prairie dog removal or abandonment |
State 3 submodel, plant communities
State 4 submodel, plant communities
State 5 submodel, plant communities
State 6 submodel, plant communities
State 1
Reference State
This state represents the natural range of variability that dominated the dynamics of this ecological site prior to European influence. The primary disturbance mechanisms for this site in the reference condition included frequent fire and grazing by large herding ungulates. Timing of fires and grazing, coupled with weather events, dictated the dynamics that occurred within the natural range of variability. These factors likely caused the community to shift both spatially and temporally between three community phases.
Characteristics and indicators. Because of changes in disturbances and other environmental factors (particularly the widespread occurrence of exotic species), the Reference State is considered to no longer exist.
Resilience management. If intact, the reference state should probably be managed with current disturbance regimes which has permitted the site to remain in reference condition, as well as maintaining the quality and integrity of associated ecological sites. Maintenance of the reference condition is contingent upon a monitoring protocol to guide management
Community 1.1
Prairie Sandreed-Needlegrasses/ Forbs (Calamovilfa longifolia- Hesperostipa spp., Nassella viridula/ Forbs)
This community phase was historically the most dominant both temporally and spatially. Dominant grasses included prairie sandreed, needle and thread, and blue grama. Other grasses and grass-likes included little bluestem, green needlegrass, western wheatgrass, and threadleaf sedge. Common forbs included tarragon, white sagebrush, prairie clover, hairy false goldenaster, blazing star, beardtongue, scurfpea, and goldenrod. In many areas western snowberry was the principal shrub and occurred in patchy mosaics. In other areas, silver sagebrush was the dominant shrub and occurred more evenly dispersed across the site. Other shrubs included prairie rose, leadplant, prairie sagewort, and soapweed yucca. Annual production likely varied from about 1300-2700 pounds per acre with grasses and grass-likes, forbs, and shrubs contributing about 85%, 10% and 5%, respectively. Both warm-season grasses and cool-season grasses were well represented in the community; as a result, production was distributed throughout the growing season. This community represents the plant community phase upon which interpretations are primarily based and is described in the “Plant Community Composition and Group Annual Production” portion of this ecological site description.
Figure 10. Annual production by plant type (representative values) or group (midpoint values)
Table 5. Annual production by plant type
| Plant type | Low (lb/acre) |
Representative value (lb/acre) |
High (lb/acre) |
|---|---|---|---|
| Grass/Grasslike | 1170 | 1770 | 2365 |
| Forb | 95 | 150 | 205 |
| Shrub/Vine | 35 | 70 | 105 |
| Microbiotic Crusts | 0 | 10 | 25 |
| Total | 1300 | 2000 | 2700 |
Community 1.2
Needle and Thread-Prairie Sandreed/ Sedges (Hesperostipa comata- Calamovilfa longifolia/ Carex spp)
This plant community resulted from long-term drought with or without heavy long-term grazing. Compared to Community Phase 1.1 prairie sandreed, porcupinegrass, and green needlegrass have decreased in importance while upland sedges and needle and thread have increased. Common forbs included tarragon, scurfpea, white sagebrush, scarlet globemallow, and common yarrow. Annual production would have dropped to 85-95% of that of Community Phase 1.1. Also, peak production would have shifted slightly towards spring and early summer due to a decline in warm-season grasses.
Community 1.3
Blue Grama/ Sedges/ Western Wheatgrass/ Forbs (Bouteloua gracilis/ Carex spp./ Pascopyrum smithii/ Forbs)
This plant community phase resulted from long-term drought with heavy grazing. It was characterized by grazing-tolerant grasses and forbs (i.e., blue grama, sedges, goldenrods, and tarragon). Bare ground increased while litter decreased. Less grazing-tolerant species were still present in reduced amounts, but this phase could still return to Community Phase 1.1.
Community 1.4
Annual Forbs/ Bare Ground/ Blue Grama/ Fetid Marigold (Annual Forbs/ Bare Ground/ Bouteloua gracilis /Dyssodia papposa): Prairie Dog Town
This community phase formed during periods of long-term occupation by prairie dogs. It was characterized by the abundance of annual forbs (e.g., woolly plantain, knotweed, Canadian horseweed), bare ground, blue grama, and sedges. Some perennial native species remained but were greatly reduced in vigor and may not have been readily visible.
Pathway 1.1A
Community 1.1 to 1.2
Community Phase Pathway 1.1 to 1.2 occurred during long-term drought with or without heavy long-term grazing. This resulted in marked increases in needle and thread and sedges with corresponding decreases in prairie sandreed along with porcupinegrass and green needlegrass.
Pathway 1.2A
Community 1.2 to 1.1
Community Phase Pathway 1.2 to 1.1 occurred with the return to average precipitation and reduced grazing. This resulted in a marked increase in prairie sandreed along with porcupinegrass and green needlegrass with corresponding decreases in needle and thread and sedges.
Pathway 1.2B
Community 1.2 to 1.3
Community Phase Pathway 1.2 to 1.3 occurred during long-term drought with heavy grazing. This resulted in marked increases in blue grama, sedges, western wheatgrass, and forbs with corresponding decreases in the needle and thread and prairie sandreed.
Pathway 1.2C
Community 1.2 to 1.4
Community Phase Pathway 1.2 to 1.4 occurred with long-term occupation by prairie dogs. This resulted in the site becoming dominated by annual forbs, bare ground, blue grama, and sedges.
Pathway 1.3A
Community 1.3 to 1.2
Community Phase Pathway 1.3 to 1.2 occurred with the return to average precipitation and reduced grazing which resulted in increases in needle and thread and prairie sandreed with a corresponding decrease in blue grama.
Pathway 1.3B
Community 1.3 to 1.4
Community Phase Pathway 1.3 to 1.4 occurred with long-term occupation by prairie dogs. This resulted in the site becoming dominated by annual forbs, bare ground, blue grama, and sedges.
Pathway 1.4A
Community 1.4 to 1.3
Community Phase Pathway 1.4 to 1.3 occurred with abandonment of prairie dogs, resulting in the site becoming characterized by the abundance of blue grama, sedges, western wheatgrass, and forbs.
State 2
Native/Invaded State
This state is similar to State 1: Reference State but has now been colonized by the exotic cool-season grasses (commonly Kentucky bluegrass, crested wheatgrass, and/or smooth brome) which are now present in small amounts. Although the state is still dominated by native grasses, an increase in these exotic cool-season grasses can be expected. These exotic cool-season grasses can be quite invasive on the site and are particularly well adapted to heavy grazing. They also often form monotypic stands. As these exotic cool-season grasses increase, both forage quantity and quality become increasingly restricted to late spring and early summer due to the monotypic nature of the stand, even though annual production may increase. Native forbs generally decrease in production, abundance, diversity, and richness compared to that of State 1: Reference State. These exotic cool-season grasses have been particularly and consistently invasive under extended periods of no use and no fire. To slow or limit the invasion of these exotic grasses, it is imperative that managerial techniques (e.g., prescribed grazing, prescribed burning) be carefully constructed, monitored, and evaluated with respect to that objective. If management does not include measures to control or reduce these exotic cool-season grasses, the transition to State 3: Invaded State should be expected. Annual production of this state can be quite variable, in large part due to the amount of exotic cool-season grasses. However, as the exotic cool-season grasses increase, peak production will shift to earlier in the growing season.
Characteristics and indicators. The presence of trace amounts of exotic cool-season grasses indicates a transition from State 1 to State 2. The presence of exotic biennial or perennial leguminous forbs (i.e., sweet clover, black medic) may not, on their own, indicate a transition from State 1 to State 2 but may facilitate that transition.
Resilience management. To slow or limit the invasion of these exotic grasses, it is imperative that managerial techniques (e.g., prescribed grazing, prescribed burning) be carefully constructed, monitored, and evaluated with respect to that objective. Grazing management should be applied that enhances the competitive advantage of native grass and forb species. This may include: (1) grazing when exotic cool-season grasses are actively growing and native cool- season grasses are dormant; (2) applying proper deferment periods allowing native grasses to recover and maintain or improve vigor; (3) adjusting overall grazing intensity to reduce excessive plant litter (above that needed for rangeland health indicator #14 – see Rangeland Health Reference Worksheet); (4) incorporating early heavy spring utilization which focuses grazing on exotic cool-season grasses and reduces plant litter, provided that livestock are moved when grazing selection shifts from exotic cool-season grasses to native grasses. Prescribed burning should be applied in a manner that maintains or enhances the competitive advantage of native grass and forb species. Prescribed burns should be applied as needed to adequately reduce/remove excessive plant litter and maintain the competitive advantage for native species. Timing of prescribed burns (spring vs. summer vs. fall) should be adjusted to account for differences in annual growing conditions and applied during windows of opportunity to best shift the competitive advantage to the native species.
Community 2.1
Prairie Sandreed-Needlegrasses-Western Wheatgrass (Calamovilfa longifolia-Hesperostipa spp., Nassella viridula-Pascopyrum smithii)
This Community Phase is similar to Community Phase 1.1 but has been colonized by exotic cool-season grasses (often Kentucky bluegrass, smooth brome, and/or crested wheatgrass). However, these exotics are present in smaller amounts with the community still dominated by native grasses. Major grasses include prairie sandreed, needle and thread, green needlegrass, and western wheatgrass. Tarragon, white sagebrush, hairy false goldenaster, and blazing star are among the common forbs. Leadplant, prairie sagewort, and rose are among the common shrubs. This warm-season grass dominated community can be maintained with grazing systems that allow for adequate recovery periods following grazing events and, potentially, the combination of prescribed grazing and prescribed burning which closely mimics the natural disturbance regime. Annual production may be comparable to that of Community Phase 1.1 (1300-2700 pounds per acre). However, as the exotic cool- season grasses increase, peak production will shift to earlier in the growing season.
Community 2.2
Needle and Thread-Blue Grama/ Sedges/ Forbs (Hesperostipa comata- Bouteloua gracilis/ Carex spp./ Forbs)
Figure 11. Community Phase 2.2 Needle and Thread-Blue Grama/Sedges/Forbs
This Community Phase forms when natural or management actions favor the development of a short-statured grass-dominated community. It is dominated by needle and thread, blue grama, and upland sedges. Common forbs often include tarragon, hairy false goldenaster, and stiff sunflower. Grazing-tolerant exotic grasses, such as Kentucky bluegrass and crested wheatgrass, may increase in this plant community phase if not properly managed. This Community Phase is approaching the threshold leading to a transition to State 4: Invaded State. As a result, it is an “at risk” community. If management does not include measures to control the exotic cool-season grasses, the transition to State 4: Invaded State should be expected.
Community 2.3
Blue Grama/ Sedges/ Forbs (Bouteloua gracilis/ Carex spp./ Forbs)
This plant community phase is dominated by species that tolerate long-term drought and heavy grazing. It is dominated by blue grama and sedges with minor amounts of western wheatgrass and Fendler threeawn. Common yarrow, western rockjasmine, field chickweed, pussytoes, spiny phlox, and rough false pennyroyal can be common forbs with shrubs (such as prairie sagewort). Production declines and bare ground increases. This Community Phase is approaching the threshold leading to a transition to State 3: Shortgrass State. As a result, it is an “at risk” community. If management following the drought does not include measures to improve plant composition and vigor, the transition to State 3: Shortgrass State should be expected.
Community 2.4
Annual Forbs/ Bare Ground/ Blue Grama/ Fetid Marigold (Annual Forbs/ Bare Ground/ Bouteloua gracilis/ Dyssodia papposa): Prairie Dog Town
This community phase forms during periods of long-term occupation by prairie dogs. It is characterized by the abundance of annual forbs (e.g., woolly plantain, knotweed, Canadian horseweed) bare ground, blue grama, and sedges. Some perennial native species remained but were greatly reduced in vigor and may not have been readily visible.
Pathway 2.1A
Community 2.1 to 2.2
Community Phase Pathway 2.1 to 2.2 occurs with heavy continuous grazing with or without drought. The combination of heavy continuous grazing and drought accelerate the pathway. Needle and thread, blue grama, sedges, and forbs increase markedly while prairie sandreed, porcupinegrass, and green needlegrass decrease. Peak production shifts from spring and early summer to early spring and summer along the pathway.
Pathway 2.2A
Community 2.2 to 2.1
Community Phase Pathway 2.2 to 2.1 occurs with the initiation of a prescribed grazing system, prescribed burning, and return to average precipitation which results in increases in prairie sandreed, porcupine grass, green needlegrass, and western wheatgrass with corresponding decreases in blue grama, sedges, and forbs. It may be implemented with prescribed grazing management which includes adequate recovery periods following each grazing event and stocking levels which match the available resources.
Pathway 2.2B
Community 2.2 to 2.3
Community Phase Pathway 2.2 to 2.3 occurs with heavy continuous grazing coupled with long-term drought. Blue grama, upland sedges, and forbs increase markedly with a corresponding decrease in the less grazing and drought tolerant species. Along this pathway, annual production decreases and peak production shifts from spring and early summer to early spring and summer.
Pathway 2.2C
Community 2.2 to 2.4
Community Phase Pathway 2.2 to 2.4 occurs with long-term occupation by prairie dogs. This results in the site becoming dominated by annual forbs, bare ground, blue grama, and sedges.
Pathway 2.3A
Community 2.3 to 2.2
Community Phase Pathway 2.3 to 2.2 occurs with return to average precipitation and reduced grazing. This community pathway may be initiated by implementation of prescribed grazing management which includes adequate recovery periods following each grazing event and stocking levels which match the available resources. If properly implemented, this will shift the competitive advantage from the exotic cool-season species to native warm- and cool-season grasses.
Pathway 2.3B
Community 2.3 to 2.4
Community Phase Pathway 2.3 to 2.4 occurs with long-term occupation by prairie dogs. This results in the site becoming dominated by annual forbs, bare ground, blue grama, and sedges.
Pathway 2.4A
Community 2.4 to 2.3
Community Phase Pathway 2.4 to 2.3 occurred with the removal or abandonment of prairie dogs which resulted in the site becoming characterized by the abundance of blue grama, sedges, and forbs.
State 3
Shortgrass State
This state often results from extended drought coupled with long-term heavy grazing. As a result, shortgrasses (e.g., blue grama), upland sedges, and lesser spikemoss become dominant. Lesser spikemoss soil surface cover is often 25% or greater. Once the state is well established, mechanical as well as other treatments have been largely ineffective in suppressing or eliminating it, even though some short-term reductions may appear successful. As a result, the restoration pathway to State 2: Native/Invaded State (R3A) will likely be temporary.
Characteristics and indicators. This site is characterized by lesser spikemoss occupying plant interspaces and prevalence of shortgrasses (i.e., blue grama) and sedges.
Resilience management. This plant community is resilient and resistant to most management techniques. Overgrazing with/without drought will maintain this state.
Community 3.1
Blue Grama/ Sedges/ Forbs/ Lesser Spikemoss (Bouteloua gracilis/Carex spp./ Forbs/ Selaginella densa)
A dense sod of lesser spikemoss, blue grama, and sedges dominate this plant community. Lesser spikemoss may have increased or perhaps became more conspicuous due to loss of vigor of the grasses through Transition T2A. The differences are related to which community phase of State 2: Native/Invaded State was involved in the transition. Lesser spikemoss occupies bare soil areas within plant communities that have reduced plant vigor due to long-term repeated disturbances. Lesser spikemoss soil surface cover is often 25 percent or greater and creates a more arid micro-climate, resulting in extreme competition for available moisture. As a result, vigor and production of other species declines.
State 4
Invaded State
This state is the result of invasion and dominance by the exotic cool-season grasses (commonly Kentucky bluegrass, crested wheatgrass, and/or smooth brome). The exotic leafy spurge may also invade the site. These exotic cool-season grasses can be quite invasive on the site and are particularly well adapted to heavy grazing. They also often form monotypic stands. As these exotic cool-season grasses increase, both forage quantity and quality become increasingly restricted to late spring and early summer due to the monotypic nature of the stand, even though annual production may increase. Native forbs generally decrease in production, abundance, diversity, and richness compared to that of State 1: Reference State. Common forbs often include hairy false goldenaster, goldenrod, common yarrow, and white sagebrush. Shrubs, such as western snowberry and rose, may show marked increases. Once the state is well established, prescribed burning and grazing techniques have been largely ineffective in suppressing or eliminating the exotic species, even though some short-term reductions may appear successful. Annual production of this state may vary widely, in part due to variations in the extent of invasion by exotic cool-season grasses. However, as the exotic cool-season grasses increase, peak production will shift to earlier in the growing season.
Characteristics and indicators. This site is characterized by exotic cool-season grasses constituting greater than 30 percent of the annual production and native grasses constituting less than 40 percent of the annual production.
Resilience management. Light or moderately stocked continuous, season-long grazing or a prescribed grazing system which incorporates adequate deferment periods between grazing events and proper stocking rate levels will maintain this State. Application of herbaceous weed treatment, occasional prescribed burning and/or brush management may be needed to manage noxious weeds and increasing shrub (e.g., western snowberry) populations.
Community 4.1
Exotic Cool-Season Grasses/ Prairie Sagewort (Exotic Cool-Season Grasses/ Artemisia frigida)
Figure 12. Community Phase 4.1 Exotic Cool-Season Grasses/ Prairie Sagewort Blue Grama/ Sedges/ Forbs/ Lesser Spikemoss
This community may be characterized by an overstory of exotic cool-season grasses (often crested wheatgrass) and prairie sagewort. There may be an understory of blue grama and/or lesser spikemoss depending upon whether this community phase resulted from Restoration R3B or Transition T2C. Lesser spikemoss creates a more arid micro-climate, resulting in extreme competition for available moisture. As a result, vigor and production of other native species declines. Once lesser spikemoss has become well established, mechanical (as well as other treatments) have been largely ineffective in suppressing or eliminating it, even though some short-term reductions may appear successful. As a result, this restoration pathway will likely be temporary. Excessive accumulation of mulch may also be present, particularly when dominated by Kentucky bluegrass. Exotic forbs including Canada thistle and leafy spurge may also invade the site. Native warm-season grasses (i.e., blue grama, prairie sandreed, sand dropseed), cool-season grasses (i.e., needlegrasses, western wheatgrass, prairie Junegrass), and forbs (i.e., blazing star, purple prairie clover and blacksamson echinacea) are minor components of the community (i.e., less than 5%). The longer this community phase exists, the more resilient it becomes. Natural or management disturbances that reduce the cover of Kentucky bluegrass, crested wheatgrass, and/or smooth brome are typically short-lived.
State 5
Invaded Conifer State
This state is characterized by a dominance of Rocky Mountain juniper and/or ponderosa pine trees in all layers. Other junipers (e.g., creeping juniper, common juniper, eastern red cedar) may also be present. Depending upon tree density, the herbaceous layer may be minimal to non-existent and dominated by needle cast. A marked increase in non-use management and active fire suppression since European influence has enabled this state to expand and become more widespread.
Characteristics and indicators. The dominance of conifers (by cover and production) distinguishes this state from other herbaceously dominated states.
Resilience management. This state is resistant to change in the long-term absence of fire. Restoration efforts would require the use of prescribed fire, mechanical treatment, and prescribed grazing. Considerable time and effort will be required to restore to other States.
Community 5.1
Junipers and/or Ponderosa Pine/Herbaceous (Juniper spp. and/or Pinus ponderosa/Herbaceous)
This community is characterized by the complete dominance of Rocky Mountain juniper and/or ponderosa pine with an understory of herbaceous vegetation completely different from the Reference Plant Community State. Other junipers (e.g., creeping juniper, common juniper, eastern red cedar) may also be present. As junipers increase in size and number, they further reduce the potential for a ground fire by reducing the amount of available fine fuel. Herbaceous species characteristic of the Reference State may still be present (such as prairie sandreed, needle and thread, tarragon, white sagebrush, and blazing star). However, depending upon tree density, the herbaceous layer may be minimal to non-existent and dominated by needle cast.
State 6
Go-Back State
This state is highly variable depending on the level and duration of disturbance related to the T7A transitional pathway (e.g., cropping, recreational activity, or concentrated livestock activity for a prolonged period). Following cessation of disturbances, the plant community will initially include a variety of annual forbs and grasses, some of which may be noxious weeds and need control. Over time, the exotic cool-season grasses (Kentucky bluegrass, smooth brome, and/or crested wheatgrass) will likely predominate.
Characteristics and indicators. Tillage has destroyed the native plant community, altered soil structure and biology, reduced soil organic matter, and resulted in the formation of a tillage induced compacted layer which is restrictive to root growth. Removal of perennial grasses and forbs results in decreased infiltration and increased runoff.
Resilience management. Continued tillage will maintain the state. Control of noxious weeds will be required.
Community 6.1
Annual/Pioneer Perennial /Exotics
This community phase is highly variable depending on the level and duration of disturbance related to the T7A transitional pathway. This plant community will initially include a variety of annual forbs and grasses, including noxious weeds (e.g., Canada thistle) which may need control. Over time, the exotic cool-season (grasses Kentucky bluegrass, smooth brome, and/or crested wheatgrass) will likely predominate.
State 7
Any Plant Community
Transition T1A
State 1 to 2
This is the transition from the State 1: Reference State to the State 2: Native/Invaded State due to the introduction and establishment of exotic cool-season grasses (typically Kentucky bluegrass, crested wheatgrass and/or smooth brome). This transition was probably inevitable and corresponded to a decline in native warm-season and cool-season grasses; it may have been exacerbated by chronic season-long or heavy late season grazing. Complete rest from grazing and suppression of fire could also have hastened the transition. The threshold between states was crossed when Kentucky bluegrass, smooth brome, crested wheatgrass, or other exotic species became established on the site.
Constraints to recovery. Current knowledge and technology will not facilitate a successful restoration to Reference State.
Transition T2A
State 2 to 3
The transition from State 2: Native/Invaded State to State 3: Shortgrass State occurs with long-term drought coupled with heavy grazing leading to the site becoming dominated by short-statured warm- season grasses (e.g., blue grama) along with sedges, forbs, and lesser spikemoss. Lesser spikemoss is prevalent in the western portion of the MLRA, while the eastern portion is characterized by dense blue grama sod.
Constraints to recovery. Variations in growing conditions (e.g., cool, wet spring) will influence effects of various management activities on exotic cool-season grass populations.
Transition T2C
State 2 to 4
This transition from the State 2: Native/Invaded State to State 4: Invaded State generally occurs with long-term no use or light grazing and lack of fire. Exotic cool-season grasses (such as Kentucky bluegrass, crested wheatgrass, and/or smooth brome) become the dominant graminoids. Studies indicate that a threshold may exist in this transition when both Kentucky bluegrass exceeds 30% of the plant community and native grasses represent less than 40% of the plant community composition. Similar thresholds may exist for other exotic cool-season grasses. This transition may occur under other managerial conditions, including heavy season-long grazing (primarily Kentucky bluegrass).
Constraints to recovery. Variations in growing conditions (e.g., cool, wet spring) will influence effects of various management activities on exotic cool-season grass populations.
Transition T2B
State 2 to 5
This transition from the State 2: Native/Invaded to State 5: Invaded Conifer State generally occurs during extended periods no fire. It frequently occurs when the site is in close proximity to a junipers or ponderosa pine that can serve as a seed source for these species to colonize the site. It has also become more frequent following European settlement when the historic fire regime was markedly reduced.
Constraints to recovery. The extended fire interval may make recovery doubtful due to the abundance of exotic cool-season grasses and lack of native grasses. Fire intensity along with consumption of available fuels may cause incomplete or patchy burns. Ladder fuel and/or fuel loading are required for successfully controlling ponderosa pine (crown vs. ground fire). Continued recruitment of seeds (juniper and pine) from adjacent sites will hamper site restoration. Constraints to recovery include reticence to undertake tree removal and the perception that trees may be a desirable vegetation component for wildlife habitat, carbon sequestration, aesthetics, etc. Managing the site for mule deer, big horn sheep, livestock, or grassland nesting birds will need to consider the intensive management required to restore and maintain the site in State 2. The disturbance regime necessary to restore this site to State 2: Native/Invaded State is very labor intensive and costly; therefore, addressing woody removal earlier in the encroachment phase is the most cost-effective treatment for woody control.
Restoration pathway R3A
State 3 to 2
This restoration pathway from State 3: Shortgrass State to State 2: Native/Invaded State may be accomplished with a grazing land mechanical treatment. Once lesser spikemoss has become well established, mechanical (as well as other treatments) have been largely ineffective in suppressing or eliminating it, even though some short-term reductions may appear successful. As a result, this restoration pathway will likely be temporary.
Context dependence. This community is very resilient to change. Periods of above average precipitation will increase grass and forb production.
Restoration pathway R3B
State 3 to 4
This restoration from State 3: Shortgrass State to State 4: Invaded State results from a failed grazing land mechanical treatment. Depending upon the amount of exotic cool-season grasses occupying the site (or in close proximity) to enable the species to colonize the site via seeds or encroach vegetatively; the time necessary to complete this pathway may vary considerably or stay in State 3: Shortgrass State.
Context dependence. This community is very resilient to change. Periods of above average precipitation will increase grass and forb production.
Restoration pathway R4A
State 4 to 2
This restoration pathway from State 4: Invaded State to State 2: Native/Invaded State may be accomplished with the implementation of long-term prescribed grazing and prescribed burning, assuming there is an adequate component of native grasses to respond to the treatments. However, in some cases a subsequent range planting may be necessary to complete the restoration. Both prescribed grazing and prescribed burning are likely necessary to successfully initiate this restoration pathway, the success of which depends upon the presence of a remnant population of native grasses in Community Phase 4.1. That remnant population, however, may not be readily apparent without close inspection. The application of several prescribed burns may be needed at relatively short intervals in the early phases of this restoration process, in part because many of the shrubs (e.g., western snowberry) sprout profusely following one burn. Early season prescribed burns have been successful; however, fall burning may also be an effective technique. The prescribed grazing should include adequate recovery periods following each grazing event and stocking levels which match the available resources. If properly implemented, this will shift the competitive advantage from the exotic cool-season grasses to the native cool-season grasses.
Context dependence. Grazing management should be applied in a manner that enhances/maximizes the competitive advantage of native grass and forb species over the exotic species. This may include the use of prescribed grazing to reduce excessive plant litter accumulations above that needed for rangeland health indicator #14 (see Rangeland Health Reference Worksheet). Increasing livestock densities may facilitate the reduction in plant litter provided length and timing of grazing periods are adjusted to favor native species. Grazing prescriptions designed to address exotic grass invasion and favor native species may involve earlier, short, intense grazing periods with proper deferment to improve native species health and vigor. Fall (e.g., September, October) prescribed burning followed by an intensive, early spring graze period with adequate deferment for native grass recovery may shift the competitive advantage to the native species, facilitating the restoration to State 2: Native/Invaded. Prescribed burning should be applied in a manner that enhances the competitive advantage of native grass and forb species over the exotic species. Prescribed burns should be applied at a frequency which mimics the natural disturbance regime, or more frequently as is ecologically (e.g., available fuel load) and economically feasible. Burn prescriptions may need adjustment to: (1) account for change in fine fuel orientation (e.g., “flopped” Kentucky bluegrass); (2) fire intensity and duration by adjusting ignition pattern (e.g., backing fires vs head fires); (3) account for plant phenological stages to maximize stress on exotic species while favoring native species (both cool- and warm-season grasses).
Transition T4A
State 4 to 5
This transition from the State 4: Invaded to State 5: Invaded Conifer State generally occurs during extended periods of no fire. It frequently occurs when the site is in close proximity to conifers that can serve as a seed source for these species to colonize the site. It has also become more frequent following European settlement when the historic fire regime was markedly reduced.
Constraints to recovery. Lack of fine fuels in the tree understory limits fire intensity causing incomplete or patchy burns. Ladder fuels and/or fuel loading are required, but are limited, for successfully controlling ponderosa pine (crown vs. ground fire). Cost of mechanical and/or chemical treatment may be prohibitive. Continued recruitment of seeds (juniper and pine) from adjacent sites and sprouting nature of deciduous trees and shrubs will hamper site restoration. Existing herbaceous vegetation (native grasses and cool-season exotics) may be lacking, allowing for invasive species (e.g., Canada thistle, leafy spurge) to dominate after a prescribed fire. Constraints to recovery include reticence to undertake tree removal and the perception that trees may be a desirable vegetation component for wildlife habitat, carbon sequestration, aesthetics, etc. Managing the site for mule deer, big horn sheep, livestock, or grassland nesting birds will need to consider the intensive management required to restore and maintain the site in State 3. The disturbance regime necessary to restore this site to State 2: Native/Invaded State is very labor intensive and costly; therefore, addressing woody removal earlier in the encroachment phase is the most cost-effective treatment for woody control.
Restoration pathway R5A
State 5 to 2
This restoration pathway from State 5: Invaded Conifer State to State 2: Native/Invaded State can occur with a stand replacing wildfire or frequent prescribed burning. However, if exotic cool-season grasses dominate the understory, a follow-up range planting may be necessary to complete the restoration.
Context dependence. Fire intensity along with consumption of available fuels may cause incomplete or patchy burns. Ladder fuel and/or fuel loading are required for successfully controlling ponderosa pine (crown vs. ground fire). Continued recruitment of seeds (juniper and pine) from adjacent sites will hamper site restoration. Intensive management is required to restore and maintain the site in State 2.
Restoration pathway R6A
State 6 to 2
This Restoration Pathway from State 6: Go-Back State to the State 2: Native/Invaded State can be accomplished with a successful range planting. Following seeding, prescribed grazing, prescribed burning, haying, or use of herbicides will generally be necessary to achieve the desired result and control any noxious weeds. It may be possible using selected plant materials and agronomic practices to approach something very near the functioning of State 2: Native/Invaded State. Application of chemical herbicides and the use of mechanical seeding methods using adapted varieties of the dominant native grasses are possible and can be successful. After establishment of the native plant species, prescribed grazing should include adequate recovery periods following each grazing event and stocking levels which match the available resources; management objectives must include the maintenance of those species, the associated reference state functions, and continued treatment of exotic grasses.
Context dependence. A successful range planting will include proper seedbed preparation, weed control (both prior to and after the planting), selection of adapted native species representing functional/structural groups inherent to the State 1, and proper seeding technique. Management (e.g., prescribed grazing, prescribed burning) during and after establishment must be applied in a manner that maintains the competitive advantage for the seeded native species. Adding non-native species can impact the above and below ground biota. Elevated soil nitrogen levels have been shown to benefit smooth brome and Kentucky bluegrass more than some native grasses. As a result, fertilization, exotic legumes in the seeding mix, and other techniques that increase soil nitrogen may promote smooth brome and Kentucky bluegrass invasion. The method or methods of herbaceous weed treatment will be site specific to each situation; but generally, the goal would be to apply the pesticide, mechanical control, or biological control (either singularly or in combination) in a manner that shifts the competitive advantage from the targeted species to the native grasses and forbs. The control method(s) should be as specific to the targeted species as possible to minimize impacts to non-target species.
Restoration pathway R6B
State 6 to 4
A failed range planting and/or secondary succession will lead to State 4: Invaded State.
Context dependence. Failed range plantings can result from many causes (both singularly and in combination) including drought, poor seedbed preparation, improper seeding methods, seeded species not adapted to the site, insufficient weed control, herbicide carryover, poor seed quality (purity & germination), and/or improper management.
Transition T7A
State 7 to 6
This transition from any plant community to State 6: Go-Back State. It is commonly associated with the cessation of cropping without the benefit of range planting, resulting in a “go-back” situation. Prolonged periods of recreational activity and concentrated livestock activity are also factors in this transition. Soil conditions can be quite variable on the site, in part due to variations in the management/cropping history (e.g., development of a tillage induced compacted layer (plow pan), erosion, fertility, and/or herbicide/ pesticide carryover). Thus, soil conditions should be assessed when considering restoration techniques.
Additional community tables
Table 6. Community 1.1 plant community composition
| Group | Common name | Symbol | Scientific name | Annual production (lb/acre) | Foliar cover (%) | |
|---|---|---|---|---|---|---|
|
Grass/Grasslike
|
||||||
| 1 | Warm-Season Grasses | 200–500 | ||||
| prairie sandreed | CALO | Calamovilfa longifolia | 100–300 | – | ||
| blue grama | BOGR2 | Bouteloua gracilis | 100–160 | – | ||
| little bluestem | SCSC | Schizachyrium scoparium | 20–100 | – | ||
| 2 | Cool-Season Grasses | 100–400 | ||||
| needle and thread | HECO26 | Hesperostipa comata | 100–200 | – | ||
| western wheatgrass | PASM | Pascopyrum smithii | 60–120 | – | ||
| green needlegrass | NAVI4 | Nassella viridula | 40–100 | – | ||
| porcupinegrass | HESP11 | Hesperostipa spartea | 0–60 | – | ||
| 3 | Other Native Grasses | 100–300 | ||||
| sideoats grama | BOCU | Bouteloua curtipendula | 0–100 | – | ||
| prairie Junegrass | KOMA | Koeleria macrantha | 20–40 | – | ||
| Scribner's rosette grass | DIOLS | Dichanthelium oligosanthes var. scribnerianum | 20–40 | – | ||
| sand dropseed | SPCR | Sporobolus cryptandrus | 20–40 | – | ||
| Canada wildrye | ELCA4 | Elymus canadensis | 20–40 | – | ||
| Fendler threeawn | ARPUL | Aristida purpurea var. longiseta | 20–40 | – | ||
| Grass, perennial | 2GP | Grass, perennial | 0–40 | – | ||
| plains muhly | MUCU3 | Muhlenbergia cuspidata | 0–20 | – | ||
| plains reedgrass | CAMO | Calamagrostis montanensis | 0–20 | – | ||
| 4 | Grass-Likes | 80–140 | ||||
| threadleaf sedge | CAFI | Carex filifolia | 60–120 | – | ||
| sun sedge | CAINH2 | Carex inops ssp. heliophila | 40–60 | – | ||
| Pennsylvania sedge | CAPE6 | Carex pensylvanica | 0–20 | – | ||
| Grass-like (not a true grass) | 2GL | Grass-like (not a true grass) | 0–20 | – | ||
|
Forb
|
||||||
| 5 | Forbs | 100–200 | ||||
| tarragon | ARDR4 | Artemisia dracunculus | 20–40 | – | ||
| white sagebrush | ARLU | Artemisia ludoviciana | 20–40 | – | ||
| prairie clover | DALEA | Dalea | 20–40 | – | ||
| hairy false goldenaster | HEVIV | Heterotheca villosa var. villosa | 20–40 | – | ||
| blazing star | LIATR | Liatris | 20–40 | – | ||
| beardtongue | PENST | Penstemon | 20–40 | – | ||
| scurfpea | PSORA2 | Psoralidium | 20–40 | – | ||
| goldenrod | SOLID | Solidago | 20–40 | – | ||
| western marbleseed | ONBEO | Onosmodium bejariense var. occidentale | 0–40 | – | ||
| common yarrow | ACMI2 | Achillea millefolium | 20 | – | ||
| groundplum milkvetch | ASCR2 | Astragalus crassicarpus | 20 | – | ||
| saints fleabane | ERSA2 | Erigeron sanctarum | 20 | – | ||
| stiff sunflower | HEPA19 | Helianthus pauciflorus | 20 | – | ||
| upright prairie coneflower | RACO3 | Ratibida columnifera | 20 | – | ||
| spiderwort | TRADE | Tradescantia | 20 | – | ||
| wavyleaf thistle | CIUN | Cirsium undulatum | 0–20 | – | ||
| blacksamson echinacea | ECAN2 | Echinacea angustifolia | 0–20 | – | ||
| rush skeletonplant | LYJU | Lygodesmia juncea | 0–20 | – | ||
| purple locoweed | OXLA3 | Oxytropis lambertii | 0–20 | – | ||
| spiny phlox | PHHO | Phlox hoodii | 0–20 | – | ||
| cinquefoil | POTEN | Potentilla | 0–20 | – | ||
| scarlet globemallow | SPCO | Sphaeralcea coccinea | 0–20 | – | ||
| American vetch | VIAM | Vicia americana | 0–20 | – | ||
| Forb (herbaceous, not grass nor grass-like) | 2FORB | Forb (herbaceous, not grass nor grass-like) | 0–20 | – | ||
|
Shrub/Vine
|
||||||
| 6 | Shrubs | 40–100 | ||||
| leadplant | AMCA6 | Amorpha canescens | 40–60 | – | ||
| western snowberry | SYOC | Symphoricarpos occidentalis | 0–60 | – | ||
| prairie sagewort | ARFR4 | Artemisia frigida | 20–40 | – | ||
| silver sagebrush | ARCA13 | Artemisia cana | 0–40 | – | ||
| Shrub (>.5m) | 2SHRUB | Shrub (>.5m) | 0–40 | – | ||
| rose | ROSA5 | Rosa | 20 | – | ||
| pricklypear | OPUNT | Opuntia | 0–20 | – | ||
| soapweed yucca | YUGL | Yucca glauca | 0–20 | – | ||
|
Microbiotic Crusts
|
||||||
| 7 | Cryptograms | 0–20 | ||||
| lesser spikemoss | SEDE2 | Selaginella densa | 0–20 | – | ||
Interpretations
Animal community
Wildlife Interpretations
Landscape:
The MLRA 58C landscape is characterized by moderately dissected rolling plains with areas of local Badlands, buttes, and isolated hills. MLRA 58C is considered to have a continental climate with cold winters and hot summers, low humidity, light rainfall, and much sunshine. Extremes in temperature are common and characteristic of the MLRA. This area supports natural mixed-grass prairie vegetation with prairie rose, leadplant, and patches of western snowberry interspersed throughout the area. Green ash, chokecherry, and buffaloberry occur in draws and narrow valleys, creating woody riparian corridors. Complex/intermingled ecological sites create diverse grass- and shrubland habitats interspersed with varying densities linear, slope, depressional, and in-stream wetlands associated with headwater streams and tributaries to the Missouri River. These habitats provide critical life-cycle components for many wildlife species.
Historic Communities/Conditions within MLRA 58C:
The northern mixed-grass prairie was a disturbance-driven ecosystem with fire, herbivory, and climate functioning as the primary ecological drivers (either singly or often in combination). Many species of grassland birds, small mammals, insects, reptiles, amphibians, and large herds of Audubon bighorn sheep, roaming bison, elk, and pronghorn were historically among the inhabitants adapted to this semi-arid region. Bighorn sheep have been re-introduced. Roaming herbivores, as well as several small mammal and insect species, were the primary consumers linking the grassland resources to large predators (such as the wolf, mountain lion, and grizzly bear) and smaller carnivores (such as the coyote, bobcat, red fox, and raptors). The black-tailed prairie dog was once abundant and provided ecological services by manipulating the plant and soil community providing habitat for the black-footed ferret, burrowing owl, ferruginous hawk, mountain plover, swift fox, small mammals, and amphibians and reptiles. Extirpated species include free-ranging American bison, Canada lynx, common raven, grizzly bear, gray wolf, black-footed ferret, mountain plover, and peregrine falcon (breeding). Extinct from the region is the Rocky Mountain locust.
Present Communities/Conditions within MLRA 58C:
Following European influence, domestic livestock grazing, elimination of fire, energy development, and other anthropogenic factors influenced plant community composition and abundance. Transportation corridors, energy development, and Rocky Mountain juniper and ponderosa pine encroachment are the main factors contributing to habitat fragmentation, reducing habitat quality for area-sensitive species. These influences fragmented the landscape, reduced or eliminated ecological drivers (fire), and introduced exotic plant species including smooth brome, crested wheatgrass, Kentucky bluegrass, and leafy spurge further impacting plant and animal communities. The loss of the bison, reduction of black-tailed prairie dogs, and fire, as primary ecological drivers, greatly influenced the character of the remaining native plant communities and the associated wildlife moving towards a less diverse and more homogeneous landscape, lacking diverse species composition and stature.
Extensive fragmentation by annual cropping has not occurred within the MLRA. Limited fragmentation from annual cropping or tame hay production has occurred within the Little Missouri River flood plain and the higher, flat plateaus. Fragmentation east and west of MLRA 58C has funneled many species into this area in search of expansive grasslands.
Some wildlife species in this area are: mule deer, white-tailed deer, elk, bighorn sheep, pronghorn, mountain lion, coyote, red fox, bobcat, prairie rattlesnake, American badger, raccoon, North American porcupine, beaver, striped skunk, American mink, white-tailed jackrabbit, black-tailed prairie dog, Eastern and Merriam’s wild turkey, golden eagle, ferruginous hawks, sharp-tailed grouse, greater sage-grouse, black-billed magpie, and numerous species of grassland-nesting birds and pollinating insects. The highest diversity of bats in North Dakota also occurs in this MLRA, where eleven species have been documented.
Presence of wildlife species is often determined by ecological site characteristics including grass and forb species, hydrology, aspect, and other associated ecological sites. Home ranges for most species are larger than one ecological site or are dependent on more than one ecological site for annual life requisites. Ecological sites offer different habitat elements as the annual life requisites change. Habitat improvement and creation must be conducted within the mobility limits of a known population for the species.
Insects play an important role providing ecological services for plant community development. Insects that are scavengers or aid in decomposition provide the food chain baseline sustaining the carnivorous insects feeding upon them. Many insects provide the ecological services necessary for pollination, keeping plant communities healthy and productive. Insects provide a protein food source for numerous species including grassland nesting birds and their young.
Species unique to the MLRA:
Mountain Lions: Mountain lions were relatively common in the Badlands but disappeared from the state by the early 20th Century. Sightings resumed in the 1950’s and have subsequently increased since that time. The species has recently taken up permanent residency within the region. Mountain lions occur in of the Little Missouri Badlands and woody habitat in MLRA 58C. Rugged terrain and forest provide excellent stalking cover to hunt large mammals and other prey. Mountain lions make use of caves for escape and loafing cover.
Bighorn sheep: Bighorn sheep make use of the rugged terrain, rocky outcrops, and high plateaus of MLRA 58C along the Little Missouri River. North Dakota bighorn sheep populations are almost exclusively within MLRA 58C. Bighorn sheep were once extirpated from North Dakota but were successfully reintroduced in the mid-twentieth century. They now occur in several distinct populations within MLRA 58C. Rocky Mountain juniper encroachment degrades the limited habitat for bighorn sheep. Managers should consider bighorn sheep association with domestic sheep, since transfer of pneumonia and other diseases is known to occur.
Golden eagle: The badlands within MLRA 58C are key areas for Golden eagle nesting. Adjacent grasslands, shrublands, and black-tailed prairie dog towns are used for hunting.
Bats: MLRA 58C provides life requisites for several bat species, in part due to presence of riparian forest, wooded draws, caves, and rocky outcrops. Hibernacula of six bat species have been found in MRLA 58C; however, additional work is needed to further understand utilization of hibernacula by bats during the winter months in North Dakota.
Short-horned lizard and sagebrush lizard: This MLRA provides preferred habitat for these two species. The short-horned lizard prefers semi-arid, shortgrass prairie in rough terrain, and is uncommon to locally abundant in MLRA 58C. The rare sagebrush lizard prefers sagebrush and rocky areas provided by this MLRA and adjacent MLRA 58D.
Greater sage-grouse and Brewer’s sparrow: The extreme southwest extension of MLRA 58C have ecological sites capable of producing sufficient big sage canopy cover to provide greater sage-grouse life requisites. MLRA 58C and 58D are the only MLRAs in North Dakota that support Wyoming big sage brush (big sage) production. Research data indicates greater sage-grouse prefer big sagebrush canopy cover for nesting at ≥8% with an average height of around 16 inches. The species prefers winter cover canopy that averages 15% with an average height of around 8 inches. Soil site potential, management, climate, and other factors all play a role in the amount, if any, of big sagebrush on an ecological site. Changes in big sage canopy cover occur slowly (30-50 years) unless the site is impacted by fire or cultivation. Big sage recovery after a burn can take 30 to 100 years. Greater sage- grouse and Brewer’s sparrow habitat and populations are reduced or eliminated when big sagebrush canopy is reduced to less than 8% for greater sage-grouse and 10% cover for Brewer’s sparrow. As conifer encroachment increases, greater sage-grouse lekking activity decreases. Once conifer encroachment exceeds 4% canopy cover, no leks remain.
Species of Concern within the MLRA:
Following is a list of species considered “species of conservation priority” in the North Dakota State Wildlife Action Plan (2015); “species of greatest conservation need” in the Montana State Wildlife Action Plan (2015); and species listed as “threatened, endangered, or petitioned” under the Endangered Species Act within MLRA 58C at the time this section was developed:
Invertebrates: Dakota skipper, monarch butterfly, regal fritillary, yellow-banded bumble bee, and western bumble bee.
Birds: American kestrel, Baird’s sparrow, bald eagle, black-billed cuckoo, bobolink, Brewer’s sparrow, burrowing owl, chestnut-collared longspur, common poorwill, eastern screech-owl ferruginous hawk, golden eagle, grasshopper sparrow, greater sage-grouse, lark bunting, loggerhead shrike, long-billed curlew, marbled godwit, McCown’s longspur, mountain plover, northern harrier, northern pintail, peregrine falcon (migration), prairie falcon, red knot (migration), red-headed woodpecker, sharp-tailed grouse, short-eared owl, Sprague’s pipit, Swainson’s hawk, upland sandpiper, western meadowlark, Wilson’s phalarope, whooping crane (migration), and willet.
Mammals: Big brown bat, black-footed ferret, black-tailed prairie dog, dwarf shrew, gray wolf, hispid pocket mouse, little brown bat, long-eared bat, long-legged bat, meadow jumping mouse, Merriam’s shrew, northern long-eared bat, porcupine, sagebrush vole, swift fox, Townsend’s big- eared bat, and western small-footed bat.
Amphibians and Reptiles: Common snapping turtle, Great Plains toad, greater short-horned lizard, milk snake, northern leopard frog, plains hognose snake, plains spadefoot, sagebrush lizard, smooth softshell, smooth green snake, and spiny softshell.
Fish and Mussels: Blue sucker, burbot, Flathead chub, northern redbelly dace, sickle-fin chub, pearl dace, shortnose gar, sturgeon chub, and sauger.
Grassland Management for Wildlife in the MLRA
Management activities within the community phase pathways impact wildlife. Community phase, transitional, and restoration pathways are keys to long-term management within each State and between States. Significant inputs must occur to cross the threshold between States (e.g., State 3.0 to 2.0) requiring substantial economic inputs and management (mechanical, reseeding, prescribed fire, woody vegetation removal, grazing intensity, etc.). Timing, intensity, and frequency of these inputs can have dramatic positive or negative effects on local wildlife species. Ranchers and other land managers must always consider the long-term beneficial effects of management on the habitat in comparison to potential short-term negative effects to individuals.
Ecological sites occur as intermingled complexes on the landscape with gradual or sometimes abrupt transitions. Rarely do ecological sites exist in large enough acreage to manage independently. Ecological sites, supporting a dominance of herbaceous vegetation (Loamy/Limy Residual), can be located adjacent to ecological sites that support medium to tall shrubs (Loamy Overflow). Conversely, ecological sites that are dominated by short to mid statured grasses (Claypan) can be adjacent to sites with bare soil only supporting minor amounts of short grasses and forbs (Thin Claypan).
Management of these complex ecological sites can provide a heterogeneous or a homogenous landscape. Grassland bird use declines as the plant community transitions to a homogenous state. Managers need to recognize ecological sites and the complexes they occur in to properly manage the landscape. A management regime for one ecological site may negatively impact an adjacent site (e.g., alteration of a grazing regime within a Flat Bottom Wooded Draw ecological site to encourage understory growth may encourage exotic, cool-season grasses to increase or dominate an adjacent ecological site).
Life requisites and habitat deficiencies are determined for targeted species. Deficiencies need to be addressed along community phase, transitional, and restoration pathways as presented in specific state and transition models. Ecological sites should be managed and restored within the capabilities of the site to provide sustainable habitat. Managers also need to consider habitat provided by adjacent/intermingled ecological sites for species with home ranges or life requisites that cannot be provided by one ecological site.
With populations of many grassland-nesting birds in decline, it is important to maintain these ecological sites in a 1.0 Reference State or the 2.0 Native/Invaded. Plant communities, optimal for a guild of grassland species, serve as a population source where the birth rate exceeds mortality. Species may use marginal plant communities; however, these sites may function as a population sink where mortality exceeds the birth rate.
Understanding preferred vegetative stature and sensitivity to woody encroachment is necessary to manage for the specific grassland species. Various grass heights may be used for breeding, nesting, foraging, or winter habitat. While most species use varying heights, many have a preferred vegetative stature height. Please reference the provisional ESD on the North Dakota eFOTG (linked below) for a chart that provides preferred vegetative stature heights and sensitivity to woody vegetation encroachment.
https://efotg.sc.egov.usda.gov/references/public/ND/58C_Sandy_Narrative_FINAL_Ref_FSG.pdf
Sandy Wildlife Habitat Interpretation:
Sandy ecological sites are somewhat droughty sites identified by the moderately coarse soil textures (e.g., sandy loam) to a depth of 20 inches or more. Sandy sites support drought-tolerant species, they but are still productive due to the increase in tall warm-season grasses (such as prairie sandreed). Sandy sites support diverse stands of tall and short warm-season grasses, along with a diverse stand of cool-season grass and numerous forb species. Associated ecological sites include Loamy, Thin Claypan, Sandy Claypan, Shallow Sandy, Limy Sands, and Steep-Sided Wooded Draw. This complex of ecological sites provides habitat for many edge-sensitive grassland bird species.
Sandy habitat features and components commonly support grassland-nesting birds, notably nesting and brood cover and lekking sites for sharp-tailed grouse (dependent upon its state). Insects rely on associated forbs and grasses for survival; the insects serve as food sources for birds and their young, and as forage for small and large herbivores.
Sandy ecological sites may be found in six plant community states (1.0 Reference State, 2.0 Native/Invaded State, 3.0 Shortgrass State, 4.0 Invaded State, 5.0 Invaded Conifer State, and 6.0 Go-Back State) within a local landscape. Multiple plant community phases may exist within each state. Today, these states occur primarily in response to grazing and drought. Secondary influences include anthropogenic disturbances, black-tailed prairie dogs, and fire.
Because there is no known restoration pathway from State 2.0 to State 1.0, it is important to intensively manage using tools in State 1.0 and State 2.0 Community Phase Pathways to prevent further plant community degradation along either the T1A transitional pathway to Native/Invaded State 2.0 or T2A transitional pathway to Shortgrass State 3.0 thresholds. Native wildlife generally benefits from a heterogeneous grassland found in States 1.0 and 2.0 that includes diverse grass and forb species with varying stature and density. As plant communities degrade within State 2.0, short warm-season grasses increase while native forbs are reduced. This transition results in reduced stature and increased plant community homogeneity. When adjacent/intermingled ecological sites undergo the same transition, the result can be an expansive, homogenous landscape.
State 3.0 has a dramatic increase of short, warm-season grasses and lesser spikemoss with a further reduction in native forbs. Reduced forb diversity limits insect populations, negatively affecting foraging opportunities for grassland-nesting birds. Increased lesser spikemoss can limit access to bare ground by nesting. A homogenous grassland landscape does not provide quality escape or winter cover. As a result, many species are not able to meet life requisites within the Sandy ecological site. Once lesser spikemoss has become well established, mechanical (as well as other treatments) have been largely ineffective in suppressing or eliminating it, even though some short- term reductions may appear successful. As a result, this restoration pathway will likely be temporary.
Likewise, success along Restoration Pathway R4A from State 4.0 to State 2.0 is very difficult and is dependent upon presence of a remnant native grass population. This concept also applies to wildlife as the target species must either be present on adjacent State 1.0 or State 2.0 plant communities or on ecological sites within the species’ mobility limits. Species with limited mobility, such as Dakota skippers, must exist near the plant community to utilize restored sites. Mobile species, such as grassland-nesting birds, can easily locate isolated, restored plant communities.
Management along community phase, transition, or restoration pathways should focus upon attainable changes. Short- and long-term monetary costs must be evaluated against short- and long- term ecological services in creating and maintaining habitat of sufficient quality to support a sustainable population density.
1.0 Reference State
Community Phase 1.1 Prairie Sandreed-Needlegrasses/Forbs:
This plant community offers quality wildlife habitat; every effort should be made to maintain this ecological site within this community phase. This phase retains high functionality through continued maintenance, including prescribed grazing with adequate recovery period as well as prescribed fire. Predominance of grass species in this community favors grazers and mixed-feeders (animals selecting grasses as well as forbs and shrubs). The structural diversity provides habitat for a wide array of migratory and resident birds.
Invertebrates: Insects play a role in maintaining the forb community and provide a forage base for grassland birds, reptiles and rodents. Ecological services, historically provided by bison, are mirrored by domestic livestock. These services include putting plant material and dung in contact with mineral soil to be used by low trophic level consumers (such as invertebrate shredders, predators, herbivores, dung beetles, and fungal-feeders).
Dakota skippers may use this site due to presence of host plants, such as little bluestem and prairie dropseed. Regal fritillary habitat is limited due to the rarity of Nuttall's violet and prairie violets. Monarch butterfly may use flowering forbs on this site; however, few milkweed species are found on this site to support breeding. Bumblebees and other native bees utilize forbs as a nectar source and bare ground for nesting sites in bunchgrasses. Prescribed grazing with adequate recovery periods (as well as prescribed fire) to maintain the 1.1 phase has little effect on nests of ground-dwelling insects.
Birds: This plant community provides quality nesting, foraging, and escape habitats favored by mid- to tallgrass-nesting birds.
Several species of grassland birds that prefer mid- to tallgrass stature will use this site. In years with reduced precipitation or drought, nesting recruitment may be compromised. This plant community provides suitable areas for sharp-tailed grouse nesting and brood-rearing habitat. Diverse prey populations provide good hunting opportunities for grassland raptors.
Mammals: The diversity of grasses and forbs provide high nutrition levels for small and large herbivores including voles, mice, rodents, jackrabbits, pronghorn, and deer (white-tailed and mule). Short to moderate stature provides suitable food and thermal, protective, and escape cover for small herbivores. The composition of mid- to tallgrasses may limit use by the hispid pocket mouse.
Amphibians/Reptiles: The Limy Sands ecological site and associated plant communities provide habitat for smooth green snakes. This ecological site can provide habitat for the plains hog-nosed snake and plains spadefoot. The plains spadefoot needs small ephemeral ponds for breeding and, if not available, may not use this site. Northern leopard frog and Great Plains toad may be present if freshwater habitats (such as stock water ponds) are located in or adjacent to the site. Sandy soils provide burrowing sites for short-horned lizards; however, vegetation may be too dense. Even though silver sagebrush is common on this site, this site may not provide habitat for sagebrush lizards since they prefer rocky areas. This ecological site can provide habitat for the plains hog-nosed snake (prefer sandy soils) and plains spadefoot (prefer gravelly or sandy soils).
Fish and Mussels: This ecological site is not directly associated with streams, rivers, or water bodies. Associated ecological sites, such as Loamy Overflow, can receive run-on hydrology from Sandy sites. Management on these interconnected sites will have limited, secondary effects on aquatic species.
Community Phase 1.2 Needle and Thread–Prairie Sandreed/Sedges:
Long-term, heavy, continuous grazing, repeated spring and summer drought, and/or annual, early spring seasonal grazing increases the percentage of sedges in this plant community. This plant community becomes dominated by cool-season grasses, changing the stature of plant community from mid- to tallgrass, to mid- to short-grass species.
Invertebrates: This phase provides similar life requisites as Community Phase 1.1. However, heavy, continuous seasonal grazing may negatively impact ground-nesting sites for bumblebees, other native bees, and other ground-nesting insects due to reduction of forbs, timing of forb flowering, or increased soil compaction.
Birds: This plant community provides nesting, foraging, and escape habitats favored by short- to midgrass-nesting birds. A shift to a shorter herbaceous plant structure (along Community Phase Pathway 1.1A) begins to benefit McCown’s longspur, chestnut collared longspur, horned lark, and burrowing owl. Species that prefer a midgrass stature will be generally successful with normal to above-normal precipitation and a change in management along the 1.2A Community Phase Pathway. In years with reduced precipitation or heavy grazing, nesting recruitment may be compromised for midgrass-nesting species. This plant community provides areas suitable for sharp-tailed grouse leks. Limited cover and diverse prey populations provide good hunting opportunities for grassland raptors.
Mammals: Provides similar life requisites as Community Phase 1.1.
Amphibians/Reptiles: Provides similar life requisites as Community Phase 1.1.
Fish and Mussels: Provides similar life requisites as Community Phase 1.1.
Community Phase 1.3 Blue Grama/Sedges/Western Wheatgrass/Forbs:
Short-statured grasses will dominate with continued heavy grazing, repeated drought, short-term prairie dog occupation, or a combination of these disturbances. Perennial grasses and forbs are reduced in stature and abundance.
Invertebrates: Reduction in forbs (stature and abundance) will reduce nectar availability for foraging insect populations. Continued heavy grazing may negatively impact ground-nesting sites for bumblebees, other native bees, and other ground-nesting insects due to reduction of forbs, timing of forb flowering, or increased soil compaction. However, prairie dog burrows will provide nesting sites for bumblebees.
Birds: This plant community provides quality nesting, foraging, and escape habitats favored by shortgrass- nesting birds. A shift to a shorter plant structure (along Community Phase Pathway 1.2B) benefits McCown’s longspur, chestnut collared longspur, horned lark, and burrowing owl. Species that prefer a midgrass stature may be successful with normal to above-normal precipitation and a change in management along the 1.3A Community Phase Pathway. In years with reduced precipitation or heavy grazing, nesting recruitment will be compromised for midgrass-nesting species. Limited cover and diverse prey populations provide good hunting opportunities for grassland raptors.
Mammals: Shorter statured grasses reduce thermal cover and protection for mammals. This site is susceptible to short-term prairie dog invasion.
Amphibians/Reptiles: Provides similar life requisites as Community Phase 1.1.
Fish and Mussels: Provides similar life requisites as Community Phase 1.1.
Community Phase 1.4 Annual Forbs/Bare Ground/Blue Gram/Sedges (Prairie Dog Town):
This plant community phase is characterized by short- or long-term prairie dog occupation. Perennial forbs’ stature and abundance are replaced by short-statured annual forbs. Bare ground increases, litter amounts and infiltration rates decline, and soil surface temperatures increase. This short-statured plant community is resilient, retaining sufficient grazing-sensitive native species to return to the 1.3 community phases via Community Phase Pathway 1.4A (prairie dog abandonment).
Invertebrates: A switch to annual forbs from perennial forbs will not have a significant impact to invertebrates but may reduce season-long nectar-producing plants for pollinators. Season-long nectar sources may be found on adjacent plant communities or ecological sites for mobile species. Increased areas of bare ground provide increased nesting sites for bumble bees and other ground-nesting insects. Burrowing owls place dung around their burrow entrance, attracting dung beetles and other insects as a food source.
Birds: This short-statured phase (driven by long-term prairie dog occupation) is favored by burrowing owls, chestnut-collared longspur, and McCown’s longspur. Prairie dog towns provide abundant prey populations for grassland raptors. The lack of grass and forb stature limits use by many bird species preferring mid-statured vegetation. Burrowing owls nest in abandoned prairie dog burrows.
Mammals: Suitable food, thermal, protective, and escape cover (reduction in litter) for most mammals becomes limited. The loss of grass and forb diversity reduces nutrition levels for small and large herbivores including voles, mice, rodents, white-tailed jackrabbits, cottontail rabbits, and deer. Nonetheless, black-tailed prairie dog towns provide important habitat for many mammal species including small rodents. Grazers, such as pronghorn and bison, use prairie dog towns for foraging and loafing.
Amphibians/Reptiles: Prairie dog towns provide habitat for both amphibians and reptiles. Tiger salamanders, prairie rattlesnakes, and other snake species will use the burrow systems of prairie dogs for shelter and denning.
Fish and Mussels: Provides similar life requisites as Community Phase 1.1.
2.0 Native/Invaded State
Community Phase 2.1 Prairie Sandreed-Needlegrasses-Western Wheatgrass: This plant community develops through Transition Pathway T1A, due to changes in management (chronic season-long or heavy late season grazing or complete rest) and the presence of exotic, cool-season grasses. The threshold between States 1.0 and 2.0 is crossed when Kentucky bluegrass, crested wheatgrass, smooth brome grass, or other exotic species become established. This plant community phase has a very similar appearance and function to the Reference State of Community 1.1, except that it has a minor amount of cool-season exotic grasses and forbs. This phase functions at a high level for native wildlife; therefore, managers should consider the 2.0 Community Phase Pathways to avoid transitioning to State 3.0.
Invertebrates: Provides similar life requisites as Community Phase 1.1. Birds: Provides similar life requisites as Community Phase 1.1.
Mammals: Provides similar life requisites as Community Phase 1.1.
Amphibians/Reptiles: Provides similar life requisites as Community Phase 1.1.
Fish and Mussels: Provides similar life requisites as Community Phase 1.1.
Community Phase 2.2 Needle and Thread-Blue Grama/Sedges/Forbs:
Continuous, heavy season-long grazing or heavy seasonal grazing (along Community Phase Pathway 2.1A) leads to shorter-statured species, such as blue grama and sedges. Dominated by shorter-statured grasses and a loss of nitrogen- fixing or leguminous native forbs, the diversity of this plant community is reduced. Both tap- and fibrous- rooted perennial forbs increase in this phase, but remain a minor component. Prescribed grazing with adequate recovery periods along Community Phase Pathway 2.2A is an efficient, effective method to regain the cool-season grass and forb diversity components in Community Phase 2.1.
Invertebrates: The loss of native forbs and increase in sod-forming grasses limit foraging and nesting sites for all pollinators. Continuous, heavy season-long grazing or heavy seasonal grazing may reduce ground- nesting site availability. Homogeneity of forb species may limit season-long nectar availability.
Birds: Continuous, heavy season-long grazing or heavy seasonal grazing will reduce nesting sites, forage (invertebrates), and cover. A reduced forb component may limit foraging opportunities. The stature is generally short, serving both mid- and shortgrass-nesting birds. Shortgrass-nesting birds favor this phase. Species that prefer a midgrass stature will be generally successful with normal to above-normal precipitation and a change in management along the 2.2A Community Phase Pathway. In years with reduced precipitation or heavy grazing during the nesting season, nesting recruitment may be compromised for midgrass-nesting species. This plant community provides areas suitable for sharp-tailed grouse lek site development. Limited stature and diverse prey populations provide good hunting opportunities for grassland raptors.
Mammals: Suitable food, thermal, protective, and escape cover (reduction in litter) for most mammals becomes limited. The loss of diversity of grasses and forbs reduces nutrition levels for small and large herbivores including voles, mice, rodents, jack rabbits, pronghorn, and deer.
Amphibians/Reptiles: Provides similar life requisites as Community Phase 1.1.
Fish and Mussels: Provides similar life requisites as Community Phase 1.1.
Community Phase 2.3 Blue Grama/Sedges/Forbs:
Community Phase Pathway 2.2B is characterized by complete rest or light utilization (less than 20 percent) grazing and elimination of fire when exotic cool- season grasses are present (as in Community Phase 2.2). Plant community diversity is reduced with a decline of deeper-rooted native species, replaced by shallow-rooted exotic cool-season grasses. This plant community is on the cusp of crossing the threshold to the 3.0 Invaded State. Prescribed grazing with adequate recovery periods between grazing will shift the competitive edge to native species along Community Phase Pathway 2.3A; this is the most effective method to regain diverse cool-season grass and forb components in Community Phase 2.1. Every effort should be used to manage within Community Phase Pathway 2.3A to avoid crossing the threshold into State 3.0. Restoration Pathway R3A requires intensive management and economic inputs to successfully cross back to State 2.0.
Invertebrates: Provides similar life requisites as Community Phase 2.2. However, the loss of native forbs and increase in sod-forming grasses limit foraging and nesting sites for all pollinators. Homogeneity of forb species may limit season-long nectar availability. Litter build-up, resulting from complete rest or light utilization, may reduce ground-nesting site availability.
Birds: An increase in cool-exotic cool-season grasses, moves this plant community towards homogeneity. Native grasses are still present in the plant community; however, the increase in cool-season exotic grasses reduces plant structure. With reduced amounts of native grasses and forbs, reduced plant stature, and increased litter, bird species shift from mid- to short-grass species. Sharp-tailed grouse may still use this plant community for leks and brood rearing; however, winter cover must be provided by adjacent ecological sites or plant communities. Management for bird species that prefer mid- to tall- statured grasses should follow Community Phase Pathway 2.3A.
Mammals: Provides similar life requisites as Community Phase 2.2.
Amphibians/Reptiles: Provides similar life requisites as Community Phase 1.1.
Fish and Mussels: Provides similar life requisites as Community Phase 1.1.
Community Phase 2.4 Annual Forbs/Bare Ground/Blue Grama/Sedges (Prairie Dog Town):
This plant community is a result of ecological services provided by long-term black-tailed prairie dog occupation coupled with the introduction of exotic cool-season grasses and annual forbs along Community Phase Pathways 2.2C. Black-tailed prairie dogs provide primary ecological services to transition to and maintain Plant Community Phase 2.4. Utilizing one or more tools in Community Phase Pathway 2.4A (e.g., removal of black-tailed prairie dogs, control of exotic perennial forbs, implementation of prescribed grazing) can move this community back to Phase 2.3, but this may require significant management and economic inputs.
Invertebrates: The loss of native forb diversity limits use by all pollinators. However, invasive forbs will provide limited seasonal use dependent on bloom period. Bare ground, burrows, and short plant stature provide nest sites for bumblebees and other ground-nesting insects. Burrowing owls place dung around their burrow entrance, attracting dung beetles and other insects, as a food source.
Birds: Burrowing owl and McCown’s longspur rely on the stature and composition that this plant community provides. Presence of black-tailed prairie dogs provided diverse prey populations for grassland raptors, including burrowing owls, prairie falcons, and ferruginous hawks. Burrowing owls nest in abandoned prairie dog burrows.
Mammals: Suitable food, thermal, protective, and escape cover (reduction in litter) for most mammals becomes limited. The loss of grass and forb diversity reduces nutrition levels for small and large herbivores including voles, mice, rodents, white-tailed jackrabbits, cottontail rabbits, and deer. Except for black-tailed prairie dog, this plant community provides little habitat for mid-sized or small herbivores. Nonetheless, black-tailed prairie dog towns provide important habitat for many mammal species, including small rodents. Grazers, such as pronghorn and bison, use prairie dog towns for foraging and loafing.
Amphibians/Reptiles: Prairie dog towns provide habitat for both amphibians and reptiles. Tiger salamanders, prairie rattlesnakes, and other snake species will use the burrow systems of prairie dogs for shelter and denning.
Fish and Mussels: Provides similar life requisites as Community Phase 1.1.
3.0 Shortgrass State
Community Phase 3.1 Blue Grama/Sedges/Forbs/Lesser Spikemoss:
Heavy grazing coupled with drought (through Community Phase Pathway T2A) results in a plant community dominated by blue grama and lesser spikemoss. Lesser spikemoss can cover 25 percent or more of the area. Perennial forbs have been replaced by annual forbs with variable bloom periods, dependent on climatic conditions. Range seeding, with or without mechanical treatment, will be necessary to move this plant community to the 2.0 State.
Invertebrates: Lesser spikemoss does not provide any nectar, while blue grama can form a sod-like surface reducing or eliminating ground-nesting bee opportunities. The loss of native forbs and dominance of lesser spikemoss limits foraging and nesting sites for pollinating insects.
Birds: Blue grama benefits species dependent upon shortgrass structure. A reduced forb component may limit foraging opportunities. Sharp-tailed grouse may still use this plant community for leks where lesser spikemoss does not dominate. Management for bird species that prefer mid- to tall-statured grasses should follow Community Phase Pathway T2A.
Mammals: Provides similar life requisites as Community Phase 2.2.
Amphibians/Reptiles: Provides similar life requisites as Community Phase 1.1.
Fish and Mussels: Provides similar life requisites as Community Phase 1.1.
4.0 Invaded State
Community Phase 4.1 Exotic Cool-Season Grasses/Prairie Sagewort: This community phase is dominated by exotic cool-season grasses, mainly crested wheatgrass. Excessive accumulation of mulch may also be present, particularly when dominated by Kentucky bluegrass. Native forbs generally decrease in production, abundance, diversity, and richness compared to that of State 1: Reference State. Common forbs often include hairy false goldenaster, goldenrod, common yarrow, and white sagebrush. Shrubs, such as western snowberry and rose, may show marked increases. Once the state is well established, prescribed burning and grazing techniques have been largely ineffective in suppressing or eliminating the exotic species, even though some short-term reductions may appear successful. Intensified management along the R4A pathway may have significant short-term negative impacts on wildlife habitat.
Invertebrates: Increased litter and lack of grazing leads to limited contact between plant material and mineral soil; this results in a cooler micro-climate which is unfavorable to most insects. Lack of bare soil limits ground nesting sites for native bees and other ground-nesting insects. The lack of nectar-producing plants limits forage opportunities for bumblebees, regal fritillary, monarch butterfly, and other pollinating species.
Birds: This homogeneous community phase, dominated by exotic plant species, provides limited habitat and life requisites for most obligate grassland-nesting birds. Lack of stature and plant diversity, along with increased litter and the tendency of Kentucky bluegrass to lay down, limits use by many grassland-nesting birds. Litter accumulations reduce use by chestnut-collared and McCown’s longspurs. Sharp-tailed grouse may use these sites for brood rearing and winter cover; however, the reduction in forbs may limit foraging opportunities for chicks.
Mammals: Litter accumulation favors thermal, protective, and escape cover for small rodents, while limiting use by large ungulates.
Amphibians/Reptiles: Provides similar life requisites as Community Phase 1.1. However, increased litter and cooler soil temperature may reduce use by sagebrush lizard, plains spadefoot, and short-horned lizard.
Fish and Mussels: Provides similar life requisites as Community Phase 1.1.
5.0 Invaded Conifer State
Community Phase 5.1 Junipers and/or Ponderosa Pine/Herbaceous: Resulting from Pathways T2B and T4A, elimination of fire is the major contributor to this community phase crossing the threshold from an herbaceous plant community to a community completely dominated by Rocky Mountain juniper and/or ponderosa pine. Sandy sites did not historically support a Rocky Mountain juniper and/or ponderosa pine plant community. This phase is dependent upon seed dispersal by birds and mammals from nearby sites. Dense conifers lead to changes in soil chemistry and a change in the associated herbaceous plan. A detritus layer of pine needles and juniper needles-leaves, shade, shallow root system, and interception of precipitation with a possible soil chemistry change (decrease in pH) reduces or eliminates an herbaceous or forb understory.
Invertebrates: Conifers are wind-pollinated and thus do not benefit pollinating insects. The loss of a forb component limits insect populations.
Birds: Juniper and pine occur along a continuum. Light infestation may continue to support some grassland and open-area species tolerant of woody invasion (e.g., lark sparrow, vesper sparrow). Bird species intolerant of woody vegetation is eliminated. Species associated with woodlands and woodland edges will increase. The presence of woody plant species may increase predation by mammals and avian predators and brood parasitism by brown-headed cowbirds. Nearly all grassland-nesting bird species are negatively affected by Community Phase 5.1.
Mammals: Nearly all bat species in North Dakota use Community Phase 5.1 for roost sites if mature trees are available. Nearby community phases supporting insects provide foraging opportunities. This phase provides significant thermal, escape and loafing habitat for elk and deer.
Amphibians/Reptiles: Provides similar life requisites as Community Phase 1.1.
Fish and Mussels: Provides similar life requisites as Community Phase 1.1.
6.0 Go-Back State
Community Phase 6.1 Annual/Pioneer Perennial/Exotics:
These plant communities are the result of severe soil disturbance (such as cropping, recreational activity, or concentrated livestock activity for a prolonged period). Following cessation of disturbances, the resulting plant community is dominated by early pioneer annual and perennial plant species. Plant species composition and production are highly variable. Weedy plants can provide pollinator habitat along with spring and summer cover for many mammals and birds, and their young. Dense weed cover can keep soils moist, increasing insect presence. Tall stature provided by some weeds, such as marsh elder and ragweed, offer thermal cover and seeds throughout winter.
Successful restoration of native species along Transition Pathway R6A results in a native grass and forb community in State 2.0. Failed restoration to native species through Restoration Pathway R6B results in Invaded State 3.0. Wildlife species response will be dependent upon plant community composition, vegetative structure, patch size, and management activities (such as prescribed grazing, burning, interseeding, haying, or noxious weed control).
Grazing Interpretations:
This site is well adapted to managed grazing by domestic livestock. The predominance of herbaceous plants across all plant community phases best lends these sites to grazing by cattle, but other domestic grazers with differing diet preferences may also be a consideration depending upon management objectives. Often, the current plant community does not match any particular plant community (as described in the ecological site description). Because of this, a resource inventory is necessary to document plant composition and production. Proper interpretation of this inventory data will permit the establishment of a safe, initial stocking rate for the type and class of animals and level of grazing management. More accurate stocking rate estimates should eventually be calculated using actual stocking rate information and monitoring data.
NRCS defines prescribed grazing as “managing the harvest of vegetation with grazing and/or browsing animals with the intent to achieve specific ecological, economic, and management objectives”. As used in this site description, the term ‘prescribed grazing’ is intended to include multiple grazing management systems (e.g., rotational grazing, twice-over grazing, conservation grazing, targeted grazing, etc.) provided that, whatever management system is implemented, it meets the intent of prescribed grazing definition.
The basic grazing prescription addresses balancing forage demand (quality and quantity) with available forage, varying grazing and deferment periods from year-to-year, matching recovery/deferment periods to growing conditions when pastures are grazed more than once in a growing season, implementation of a contingency (e.g., drought) plan, and a monitoring plan. When the management goal is to facilitate change from one plant community phase or state to another, then the prescription needs to be designed to shift the competitive advantage to favor the native grass and forb species.
Grazing levels are noted within the plant community narratives and pathways in reference to grazing management on adjacent sites. “Degree of utilization” is defined as the proportion of the current years forage production that is consumed and/or destroyed by grazing animals (may refer to a single plant species or a portion or all the vegetation). “Grazing utilization” is classified as slight, moderate, full, close, and severe (see the following table for description of each grazing use category). The following utilization levels are also described in the Ranchers Guide to Grassland Management IV. Utilization levels are determined by using the landscape appearance method as outlined in the Interagency Technical Reference “Utilization Studies and Residual Measurements” 1734-3.
Utilization Level:
Slight (Light) 0-20% Appears practically undisturbed when viewed obliquely. Only choice areas and forage utilized.
Moderate 20-40% Almost all of accessible range shows grazing. Little or no use of poor forage. Little evidence of trailing to grazing.
Full 40-60% All fully accessible areas are grazed. The major sites have key forage species properly utilized (about half taken, half left). Points of concentration with overuse limited to 5 to 10 percent of accessible area.
Close (Heavy) 60-80% All accessible range plainly shows use and major sections closely cropped. Livestock forced to use less desirable forage, considering seasonal preference.
Severe > 80% Key forage species completely used. Low-value forages are dominant.
Hydrological functions
Water is the principal factor limiting herbage production on this site. The site is dominated by soils in hydrologic groups A and B but includes on soil in group C. Infiltration rate is moderately rapid; runoff potential for this site varies from very low to high depending upon slope and ground cover. In many cases, areas with greater than 75% ground cover have the greatest potential for high infiltration and lower runoff. An exception would be where short grasses form a dense sod and dominate the site. Areas where ground cover is less than 50% have the greatest potential to have reduced infiltration and higher runoff (refer to Section 4, NRCS National Engineering Handbook for runoff quantities and hydrologic curves).
Recreational uses
The largest acreage of public land available for recreation in the MLRA is owned and managed by the United States Forest Service (USFS) within the Little Missouri National Grasslands in North Dakota (525,211 acres). These areas are available for hunting, fishing, hiking, camping, horse and bike riding, nature viewing, etc. In addition, the Bureau of Land Management (BLM) manages 30,895 acres in North Dakota and Montana with the same recreational opportunities as the USFS lands. North Dakota and Montana Department of Trust Lands (80,220 acres) provide hunting, bird watching, hiking, and other outdoor recreation opportunities. North Dakota Wildlife Management Areas (3,447 acres) of land managed by the states for wildlife habitat in MLRA 58C.
MLRA 58C is home to the North and South Units of Theodore Roosevelt National Park. The Park encompasses approximately 70,000 acres and welcomes approximately 900,000 visitors annually. 29,920 acres of the park is designated Wilderness Area. The south unit of the park has a 48-mile scenic drive while the north unit has a 28-mile scenic drive. The Badland and associated ecological sites provide the main scenery attraction.
Bird watching: Public and private grasslands within MLRA 58C provide essential habitat for prairie-dependent bird species (such as Sprague's pipits, western meadowlark, and Baird's sparrow) along with some of the larger, showy members of the upland prairie including marbled godwits, upland sandpipers, and willets. The abundance of publicly owned lands (such as Theodore Roosevelt National Park, USFS, North Dakota Department of Trust Lands, BLM, etc.) provide excellent birding opportunities. MLRA 58C is in the Central Flyway.
Hunting/Fishing: MLRA 58C is a fall destination for upland game bird hunters, especially sharp-tailed grouse. This MLRA also provides excellent white-tailed deer, mule deer, pronghorn, elk, coyote, and mountain lion hunting opportunities along with the only bighorn sheep hunting units in the North Dakota. The North Dakota Game and Fish Department manages three man-made fishing lakes within the MLRA. Available species include rainbow and brown trout, bluegill, and largemouth and smallmouth bass.
Camping: Many camping opportunities exist in the MLRA. Modern and primitive camping is available at the Theodore Roosevelt National Park, Sully’s Creek State Park, Little Missouri State Park, Buffalo Gap Campground, BLM land, and the Dakota Prairie National Grasslands. The Sully’s Creek and Little Missouri State Parks are designated horse parks.
Hiking/Biking: Over 150 miles of the May-Daah-Hey Trail provide some of the best single-track trails in the world for biking, hiking, or horseback riding. The International Mountain Biking Association (IMBA) has designated the hiking, biking, and horseback riding trail as EPIC - meaning it’s one of the top mountain biking trails in the United States. The trail has nine fenced campgrounds, each accessible by gravel surfaced roads; they include camping spurs, potable water, hitching rails, picnic tables, fire rings, and accessible toilets. They are spaced about every 20 miles along the trail. The North and South Units of the Theodore Roosevelt National Park provide 38.9 and 49.6 miles, respectively, of hiking trails for walkers, bikers, or horseback riders. The Little Missouri State Park has 45 miles of trails that run through the North Dakota Badlands.
Canoeing: Traversing 274 miles through MLRA 58C, the Little Missouri River provides early spring canoeing and kayaking. The Little Missouri River is the only designated State Scenic River in the MLRA. The river passes through Sully Creek State Park, the Little Missouri National Grassland, and Theodore Roosevelt National Park.
Wood products
No appreciable wood products are present on the site.
Other products
Seed harvest of native plant species can provide additional income on this site.
Other information
Site Development and Testing Plan
The range of slopes for this site is very wide (0 to 35% slopes). Future investigation of plant communities and forage production on steep slopes is recommended.
This ESD is the best available knowledge. The site concept and species composition table have been used in the field and tested for more than five years. It is expected that as additional information becomes available revisions may be required.
Supporting information
Inventory data references
Information presented here has been derived from NRCS and other federal/state agency clipping and inventory data. Also, field knowledge of range-trained personnel was used. All descriptions were peer reviewed and/or field-tested by various private, state, and federal agency specialists.
Other references
Abbott, P.L., 2004, Natural disasters, New York, McGraw-Hill Companies, Inc., 460 p.
Bakker, K.K. 2003. The effect of woody vegetation on grassland nesting birds: an annotated bibliography. The Proceedings of the South Dakota Academy of Science 82:119-141.
Barker, W.T. and W. C. Whitman. 1988. Vegetation of the Northern Great Plains. Rangelands 10: 266-272h
Barnhart, Paul. 2017. Documentation of overwintering bat species presence and hibernacula use in the badlands of North Dakota, Northwestern Naturalist 98(1), 48-56, (1 March 2017). https://doi.org/10.1898/NWN15-34.1.
Bjustad, A. J. 1965. Vegetation measurements in relation to range condition classification on the principal range sites of southwestern North Dakota. Ph.D. Thesis. North Dakota State University.
Bluemle. J.P. 2016. North Dakota’s geologic legacy. North Dakota State University Press. 382 pages.
Brand, M. D. and H. Goetz. 1986. Vegetation of exclosures in southwestern North Dakota. Journal of Range Management 39:434-437.
Briske, D.D. (editor). 2017. Rangeland systems – processes, management, and challenges. Springer Series on Environmental Management. 661 pages.
DeKeyser, S., G. Clambey, K. Krabbenhoft and J. Ostendorf. 2009. Are changes in species composition on central North Dakota rangelands due to non-use management? Rangelands 31:16-19.
Dodd, J.L. 1970. Distribution and community site relations of bluebunch wheatgrass in North Dakota. Ph.D. Thesis. North Dakota State University.
Dyke, S. R., S. K. Johnson, and P.T. Isakson. 2015. North Dakota state wildlife action plan – North Dakota Game and Fish Department.
Ehrenfeld, J.G. 2002. Effects of exotic plant invasions on soil nutrient cycling processes. Ecosystems 6:503- 523.
Endangered and threatened wildlife and plants; designation of critical habitat for the Dakota skipper and Poweshiek skipperling; Vol. 79 No. Final Rule October 1, 2015, 50 CFR Part 17.
Ereth, C., J. Hendrickson, D. Kirby, E. DeKeyser, K. Sedevic, and M. West. Controlling Kentucky bluegrass with herbicide and burning is influenced by invasion level. Invasive Plant Science and Management 10:80-89.
Flesland, J.R. 1964. Composition and structure of the salt-desert shrub type in the badlands of western North Dakota. M.S. Thesis. North Dakota State University.
Gilgert, W.; and S. Zack. 2010. Integrating multiple ecosystem services introduction ecological site descriptions. Rangelands 32:49-54.
Gillam, Erin. Distribution and habitat use of the bats of North Dakota, Final Report, T2-5-R Bat Survey Final Report 2012_0.pdf (nd.gov).
Grant, T.A. and R.K. Murphy. 2005. Changes on woodland cover on prairie refuges in North Dakota, USA. Natural Areas Journal 25:359-368.
Hanson, H.C and W. Whitman. 1938. Characteristics of major grassland types in western North Dakota. Ecological Monographs 8:57-114.
Heitschmidt, R. K., K. D. Klement, and M. R. Haferkamp. 2005. Interactive effects of drought and grazing on Northern Great Plains rangelands. Rangeland Ecology and Management 58:11-19.
Hendrickson, J.R., P. S. Johnson, M. A. Liebig, K. K. Sedivec, and G. A. Halvorson. 2016. Use of ecological sites in managing wildlife and livestock: an example with prairie dogs. Rangelands 38:23-28.
Higgins, K.F. 1984. Lightning fires in North Dakota grasslands and in pine-savanna lands of South Dakota and Montana. Journal of Range Management 37:100-103.
Higgins, K.F. 1986. Interpretation and compendium of historical fire accounts in the northern great plains. United States Department of Interior, Fish and Wildlife Service. Resource Publication 161. 39 pages.
Higgins, K. F., A. D. Kruse, and J. L. Piehl. 1987. Effects of fire in the northern Great Plains. South Dakota State University Extension Circular Paper 429.
High Plains Regional Climate Center, University of Nebraska. http://hprcc.unl.edu, Accessed on May 1, 2017.
Hirsch, K.L. 1985. Habitat type classification of grasslands and shrublands of southwestern North Dakota. Ph.D. Thesis. North Dakota State University.
Johnson, S. 2015. Reptiles and amphibians of North Dakota. North Dakota Game and Fish Department. 64 pages.
Jordan, N. R., D.L. Larson, and S.C. Huerd. 2008. Soil modification by invasive plants: effects on native and invasive species of mixed-grass prairies. Biological Invasions 10:177-190.
Mader, E., M. Shepherd, M. Vaughan, and S.H. Black. 2011. Attracting native pollinators: protecting North America's bees and butterflies. Accessed at https://xerces.org, May 1, 2017.
Montana’s State Wildlife Action Plan. 2015. Montana Fish, Wildlife and Parks. Viewed at https://xerces.org/ on May 1, 2017.
North Dakota Division of Tourism, Accessed on February 25, 2019. Available at https://www.ndtourism.com/sports-recreation
North Dakota Parks and Recreation Department, Accessed on February 25, 2019. Available at http://www.parkrec.nd.gov/recreationareas/recreationareas.html
Palit, R., G. and E.S. DeKeyser. 2022. Impacts and drivers of smooth brome (Bromus inermis Leyes.) invasion in native ecosystems. Plants: 10,3390. http://http://https://www.mdpi.com/2223-7747/11/10/1340
Palit, R., G. Gramig, and E.S. DeKeyser. 2021. Kentucky bluegrass invasion in the Northern Great Plains and prospective management approaches to mitigate its spread. Plants: 10,817. https://doi.org/10.3390/plants10040817
Printz, J.L. and J.R. Hendrickson. 2015. Impacts of Kentucky bluegrass invasion (Poa pratensis) on ecological processes in the Northern Great Plains. Rangelands 37:226-232.
Redmann, R.E. 1975. Production ecology of grassland plant communities in western North Dakota. Ecological Monographs 45:83-106.
Reeves, J.L., J.D. Derner, M.A. Sanderson, J.R. Hendrickson, S.L. Kronberg, M.K. Petersen, and L.T. Vermeire. 2014. Seasonal weather influences on yearling beef steer production in C3-dominated Northern Great Plains rangeland. Agriculture, Ecosystems and Environment 183:110-117.
Robinson, A.C. 2014. Management plan and conservation strategies for greater sage grouse in North Dakota. North Dakota Game and Fish Department.
Royer, R. A., 2003. Butterflies of North Dakota: an atlas and guide. Minot State University.
Sanford, R.C. 1970. Skunk bush in the North Dakota badlands: ecology, phytosociology, browse production, and utilization. Ph.D. Thesis. North Dakota State University.
Seabloom, R. 2020. Mammals of North Dakota. North Dakota State University Press.
Sedivec, K.K., and J.L. Printz. 2014. Ranchers guide to grassland management IV. North Dakota State University Extension Service publication R1707.
South Dakota Dept. of Game, Fish and Parks. 2014. South Dakota wildlife action plan. Wildlife Division Report 2014-03.
Spaeth, K.E., Hayek, M.A., Toledo, D., and Hendrickson, J. 2019. Cool season grass impacts on native mixed grass prairie species in the Northern Great Plains. America’s Grassland Conference: Working Across Boundaries. The Fifth Biennial Conference on the Conservation of America’s Grasslands. Bismarck, ND. 20- 22 August.
Steffens, Tim, G. Grisson, M. Barnes, F. Provenza, and R. Roath. Adaptive grazing management for recovery. Know why you’re moving from paddock to paddock. Rangelands 35(5):28–34
Tidwell, D., D.T. Fogarty, and J.R. Weir. 2021. Woody encroachment in grasslands, a guide for understanding risk and vulnerability. Oklahoma State University, Oklahoma Cooperative Extension Service Publication E- 1054. 32 pages.
Toledo, D., M. Sanderson, K. Spaeth, J. Hendrickson, and J. Printz. 2014. Extent of Kentucky bluegrass and its effect on native plant species diversity and ecosystem services in the Northern Great Plains of the United State. Invasive Plant Science and Management 7:543-552.
United States Department of Agriculture, Natural Resources Conservation Service. 2006. Land Resource Regions and Major Land Resource Areas of the United States, the Caribbean, and the Pacific Basin. U.S. Department of Agriculture Handbook 296.
USDA, NRCS. National Water and Climate Center. (http://www.wcc.nrcs.usda.gov)
USDA, NRCS. National range and pasture handbook, September 1997.
USDA, NRCS. National Soil Information System, Information Technology Center. Accessed on May 1, 2017 at http://nasis.nrcs.usda.gov.
USDA, NRCS. 2001. The PLANTS Database, Version 3.1. http://plants.usda.gov. Accessed May 2, 2017.
USDA, NRCS. 2021. Species diversification of crested wheatgrass dominated grasslands: a review of methods. Plant Materials Technical Note No. MT-126 November 2021.
USDA, NRCS, Various published soil surveys.
USDI BLM. Utilization studies and residual measurements. Interagency Technical Reference 1734-3. 1999.
Vinton, M.A. and E.M. Goergen. 2006. Plant-soil feedbacks contribute to the persistence of Bromus inermis in tallgrass prairie. Ecosystems 9:967-976.
Whitman, W., H. Hanson, and R. Peterson. 1943. Relation of drought and grazing to North Dakota rangelands. North Dakota Agricultural Experimentation Bulletin 320.
Zaczkowski, N. K. 1972. Vascular flora of Billings, Bowman, Golden Valley, and Slope counties, North Dakota. Ph.D. Thesis, North Dakota State University.
Zimmerman, G. M. 1981. Effects of fire upon selected plant communities in the little Missouri badlands. M.S. Thesis, North Dakota State University.
Contributors
ND NRCS: David Dewald, Alan Gulsvig, Mark Hayek, Jeanne Heilig, John Kempenich, Chuck Lura, Jeff Printz, and Steve Sieler.
Approval
Suzanne Mayne-Kinney, 4/21/2025
Acknowledgments
NRCS would like to acknowledge the United State Forest Service (USFS) and National Park Service (NPS) for access to USFS and NPS properties and technical assistance in ESD development. USFS: Jack Dahl, Nickole Dahl, Chad Prosser, Jack Butler; NPS: Chad Sexton.
Rangeland health reference sheet
Interpreting Indicators of Rangeland Health is a qualitative assessment protocol used to determine ecosystem condition based on benchmark characteristics described in the Reference Sheet. A suite of 17 (or more) indicators are typically considered in an assessment. The ecological site(s) representative of an assessment location must be known prior to applying the protocol and must be verified based on soils and climate. Current plant community cannot be used to identify the ecological site.
| Author(s)/participant(s) | USDA-NRCS North Dakota |
|---|---|
| Contact for lead author | NRCS State Rangeland Management Specialist |
| Date | 04/25/2025 |
| Approved by | Suzanne Mayne-Kinney |
| Approval date | |
| Composition (Indicators 10 and 12) based on | Annual Production |
Indicators
-
Number and extent of rills:
Rills are not expected on this site. -
Presence of water flow patterns:
Water flow patterns are not visible. -
Number and height of erosional pedestals or terracettes:
Neither pedestals nor terracettes are expected. -
Bare ground from Ecological Site Description or other studies (rock, litter, lichen, moss, plant canopy are not bare ground):
Bare ground ranges from 15 to 20%. Bare ground patches should be small (less than 2 inches in diameter) and not connected. Animal activity (burrows and ant mounds) may occasionally result in isolated bare patches of up to 24” in diameter. -
Number of gullies and erosion associated with gullies:
Active gullies are not expected on this site. -
Extent of wind scoured, blowouts and/or depositional areas:
Wind-scoured or depositional areas are not expected on this site. -
Amount of litter movement (describe size and distance expected to travel):
Plant litter movement is not expected on this site. -
Soil surface (top few mm) resistance to erosion (stability values are averages - most sites will show a range of values):
Stability class anticipated to average 5 or greater. -
Soil surface structure and SOM content (include type of structure and A-horizon color and thickness):
Primary surface structure is fine granular. A-horizon is 5 to 12 inches thick with very dark grayish brown (10YR 3/2 moist) or grayish brown (10YR 5/2 dry) colors. -
Effect of community phase composition (relative proportion of different functional groups) and spatial distribution on infiltration and runoff:
Mid- and short-statured bunch grasses are dominant and well distributed across the site. Tall rhizomatous grasses and a diverse mixture of forbs are subdominant. -
Presence and thickness of compaction layer (usually none; describe soil profile features which may be mistaken for compaction on this site):
No compaction layers occur naturally on this site. -
Functional/Structural Groups (list in order of descending dominance by above-ground annual-production or live foliar cover using symbols: >>, >, = to indicate much greater than, greater than, and equal to):
Dominant:
Phase 1.1
Mid & short C3 bunch grasses (4); Mid & short C4 bunch grasses (5)Sub-dominant:
Phase 1.1
Tall C4 rhizomatous grasses (1); Forbs (14)Other:
Minor-Phase 1.1
Mid & short C3 rhizomatous grasses; Grass-likes; Mid & short C4 rhizomatous grasses; Shrub
Trace - Phase 1.1:
Evergreen forbAdditional:
Due to differences in phenology, root morphology, soil biology relationships, and nutrient cycling Kentucky bluegrass, smooth brome, and crested wheatgrass are included in a new Functional/structural group, mid- and short-statured early cool-season grasses (MSeC3), not expected for this site.
To see a full version 5 rangeland health worksheet with functional/structural group tables, please use the following hyperlink:
https://efotg.sc.egov.usda.gov/references/public/ND/58C_Sandy_Narrative_FINAL_Ref_FSG.pdf -
Amount of plant mortality and decadence (include which functional groups are expected to show mortality or decadence):
Rarely occurring on this site. Some dead centers on warm-season bunchgrasses (i.e., little bluestem) may be observable following multi-year drought. -
Average percent litter cover (%) and depth ( in):
Plant litter cover is 40 to 60% with a depth of 0.25 to 0.5 inches. Litter is in contact with soil surface. -
Expected annual annual-production (this is TOTAL above-ground annual-production, not just forage annual-production):
Annual air-dry production is 2000 lbs./ac (reference value) with normal precipitation and temperatures. Low and high production years should yield 1300 lbs./ac to 2700 lbs./ac, respectively. -
Potential invasive (including noxious) species (native and non-native). List species which BOTH characterize degraded states and have the potential to become a dominant or co-dominant species on the ecological site if their future establishment and growth is not actively controlled by management interventions. Species that become dominant for only one to several years (e.g., short-term response to drought or wildfire) are not invasive plants. Note that unlike other indicators, we are describing what is NOT expected in the reference state for the ecological site:
State and local noxious species, Kentucky bluegrass, smooth bromegrass, crested wheatgrass, Rocky Mountain juniper. -
Perennial plant reproductive capability:
Noninvasive species in all functional/structural groups are vigorous and capable of reproducing annually under normal weather conditions.
Print Options
Sections
Font
Other
The Ecosystem Dynamics Interpretive Tool is an information system framework developed by the USDA-ARS Jornada Experimental Range, USDA Natural Resources Conservation Service, and New Mexico State University.
Click on box and path labels to scroll to the respective text.
Ecosystem states
States 2, 5 and 6 (additional transitions)
| T1A | - | Introduction of exotic cool-season grasses |
|---|---|---|
| T2A | - | Long-term drought with heavy grazing |
| T2C | - | Long-term no use or light grazing use, long-term lack of fire |
| T2B | - | Long-term lack of fire |
| R3A | - | Successful grazing land mechanical treatment |
| R3B | - | Failed grazing land mechanical treatment |
| R4A | - | Prescribed burning with prescribed grazing perhaps followed by a range planting |
| T4A | - | Long-term lack of fire |
| R5A | - | Stand replacing wildfire or frequent prescribed burning perhaps followed by a range planting |
| R6A | - | Successful native range planting followed by prescribed grazing and prescribed burning |
| R6B | - | Failed range planting and/or secondary succession |
State 1 submodel, plant communities
| 1.1A | - | Long-term drought with/without heavy, long-term grazing |
|---|---|---|
| 1.2A | - | Return to average precipitation and reduced grazing |
| 1.2B | - | Long-term drought with heavy grazing |
| 1.2C | - | Long-term prairie dog occupation |
| 1.3A | - | Return to average precipitation and reduced grazing |
| 1.3B | - | Long-term prairie dog occupation |
| 1.4A | - | Abandonment of prairie dogs |
State 2 submodel, plant communities
| 2.1A | - | Heavy season-long grazing with or without drought |
|---|---|---|
| 2.2A | - | Prescribed grazing and prescribed burning, return to average precipitation |
| 2.2B | - | Heavy season-long grazing coupled with long-term drought |
| 2.2C | - | Long-term prairie dog occupation |
| 2.3A | - | Return to average precipitation with prescribed grazing and prescribed burning |
| 2.3B | - | Long-term prairie dog occupation |
| 2.4A | - | Prairie dog removal or abandonment |