Natural Resources
Conservation Service
Ecological site R055BY071ND
Wet Meadow
Last updated: 4/25/2025
Accessed: 12/22/2025
General information
Provisional. A provisional ecological site description has undergone quality control and quality assurance review. It contains a working state and transition model and enough information to identify the ecological site.
Figure 1. Mapped extent
Areas shown in blue indicate the maximum mapped extent of this ecological site. Other ecological sites likely occur within the highlighted areas. It is also possible for this ecological site to occur outside of highlighted areas if detailed soil survey has not been completed or recently updated.
MLRA notes
Major Land Resource Area (MLRA): 055B–Central Black Glaciated Plains
The Central Black Glaciated Plains MLRA is an expansive and agriculturally important region consisting of more than 10,000,000 acres and including all or a portion of 27 counties in east-central and southeastern North Dakota and northeastern South Dakota.
Most of MLRA 55B is covered by till: material that was moved and redeposited by the glaciers. Pre-glaciated bedrock (shale) is exposed on the breaks to some of the valleys and incised drainageways; but what covers the bedrock is glacier sediment, known as drift. These areas have the Late Wisconsin age till plain integrated drainage system in contrast to the closed drainage of the majority of the till plain and moraines. Some soils, particularly along the Elm, James and Sheyenne rivers, have weathered shale beds in the substratum.
The Drift Prairie Region consists of nearly level to gently rolling glacial till plains dissected by glacial outwash channels. MLRA 55B is located within the boundaries of the Prairie Pothole Region with numerous wetlands in areas without integrated drainage systems. Seven rivers flow through parts of the MLRA. The James and Sheyenne Rivers both have their headwaters in the northern part of the MLRA. A relatively narrow, low range of hills separates these rivers creating a continental watershed divide. The James River flows generally southward through the MLRA and empties into the Missouri River beyond the MLRA border. The Sheyenne River flows to the south and to the east; it empties into the Red River of the North in MLRA 56. Major tributaries to the James River are the Pipestem and Elm Rivers. The Sheyenne River receives additional water from Devils Lake (during periods of high lake levels) via two outlet pumping stations. Other important rivers in the MLRA are the Goose, Maple, and Wild Rice rivers which are also tributaries to the Red River of the North. The Wild Rice River begins in northeastern South Dakota and flows northward and eastward. In Marshall County, South Dakota and Sargent County, North Dakota, major ditch construction has served to straighten this river and more quickly drain water off adjacent farmland.
Surface and subsurface (tile) drainage systems have been constructed/installed in many areas to manage excess water and/or salinity on cropland. Soils that were poorly drained prior to wide-spread drainage may now function as somewhat poorly drained or moderately well drained soils. Restoration of hydrology to the natural conditions of the reference state may not be possible.
This region is utilized mostly by farms and ranches; about 75 percent is cropland that is dry-farmed. Cash-grain, bean and oil production crops are the principal enterprise on many farms, but other feed grains and hay are also grown. The vegetation on the steeper slopes, very stony areas, and thinner (or sandy) soils is still native rangeland. About 1 percent of this area is forested. Most forested areas occur along rivers, particularly the Sheyenne River Valley.
Classification relationships
Level IV Ecoregions of the Conterminous United States: 46c – Glacial Lake Basins; 46d – Glacial Lake Deltas; 46e – Tewaukon Dead Ice Moraine; 46f – End Moraine Complex; 46i – Drift Plains; 46j – Glacial Outwash
Wetland Description: System Subsystem Class Sub-class Water Regime
Cowardin, et. al., 1979 Palustrine N/A Emergent Persistent Temporary/Saturated
Ecological site concept
The Wet Meadow ecological site is generally located in depressions and on low-lying flats on uplands – till plains, lake plains, outwash plains, and eolian sand plains; however, it also occurs in drainageways, on concave areas of flood plains, and on lake beaches. In addition, a few areas occur on upland seeps. The soil is very deep. It is poorly drained - a seasonal high water table is typically within a depth of 1.5 feet during the months of April through June; in depressions, it is frequently ponded (typically <1.5) in April and May. Generally, redox features are within a depth of 18 inches. Very slight or slight salinity (E.C. <8) is allowable on this site. Effervescence ranges from none to violent. Hydrology (surface and sub-surface) is the primary factor used in identifying this site. All textures are included in the site. Slope is typically less than 2 percent; however, areas of seeps have slopes up to 6 percent. On the landscape, this site is below the Clayey, Loamy, Loamy Overflow, Limy Subirrigated, and Subirrigated Sands ecological sites and above the Shallow Marsh site. The Subirrigated ecological site occurs in shallow depressions and concave areas on flats; it has redoximorphic features at a depth of 18 to 30 inches. The Saline Lowland site is on similar landscape positions; it has moderate or strong soil salinity (E.C. >8). Note: Some frequently flooded soils may be included in this site. The Riparian Complex ecological site should be considered for such soils.
To see a full copy of the ecological site description with all tables and the full version 5 rangeland health worksheet. Please use the following hyperlink:
https://efotg.sc.egov.usda.gov/references/public/ND/55B_Wet_Meadow_Narrative_FINAL_Ref_FSG.pdf
Associated sites
| R055BY074ND |
Subirrigated Sands This site occurs somewhat higher on the landscape on sand plains. The subsoil does not form a ribbon. It is 30 to 40 inches to redoximorphic features. |
|---|---|
| R055BY056ND |
Clayey This site occurs on higher, linear slopes on lake plains and till plains. The surface layer and subsoil layers form a ribbon >2 inches long. It is >30 inches to redoximorphic features. |
| R055BY058ND |
Limy Subirrigated This site occurs on rims of Wet Meadow sites and adjacent flats. All textures are included in the site. The soils are highly calcareous within a depth of 16 inches and have redoximorphic features at a depth of 18 to 30 inches. |
| R055BY060ND |
Saline Lowland This site occurs on rims of depressions and adjacent flats. It has an accumulation of salts in the surface and subsoil layers (E.C. >8). Typically, this site does not have a claypan layer, but one is allowed if the soil is poorly drained. All textures are included in this site. |
| R055BY064ND |
Loamy This site occurs on higher, linear slopes on till plains and lake plains. The surface layer and subsoil layers form a ribbon 1 to 2 inches long. It is >30 inches to redoximorphic features. |
| R055BY065ND |
Subirrigated This site occurs on concave areas of flats and in shallow depressions with occasional, brief ponding. It has redoximorphic features at a depth of 18 to 30 inches. All textures are included in this site. |
| R055BY070ND |
Shallow Marsh This site occurs in deep depressions which have frequent ponding through most of the growing season. All textures are included in this site. |
| R055BY059ND |
Loamy Overflow This site occurs in upland swales and on floodplains. The surface and subsoil layers form a ribbon 1 to 2 inches long. It is deeper than 30 inches to redoximorphic features. |
Similar sites
| R055BY070ND |
Shallow Marsh This site occurs in deep depressions which have frequent ponding through most of the growing season. All textures are included in this site. |
|---|---|
| R055BY065ND |
Subirrigated This site occurs on concave areas of flats and in shallow depressions with occasional, brief ponding. It has redoximorphic features at a depth of 18 to 30 inches. All textures are included in this site. |
Figure 2. Wet Meadow in relationship to other ecological sites.
Table 1. Dominant plant species
| Tree |
Not specified |
|---|---|
| Shrub |
Not specified |
| Herbaceous |
(1) Carex pellita |
Physiographic features
This site typically occurs in depressions on uplands – till plains, lake plains, outwash plains, and eolian sand plains; it also occurs in drainageways, on concave areas of flood plains, and on lake beaches. The parent materials vary widely. Slope is typically less than 2 percent; however, areas of seeps have slopes up to 6 percent.
Landform: depression, pothole, floodplain, beach, seep
Table 2. Representative physiographic features
| Landforms |
(1)
Pothole
(2) Depression (3) Flood plain (4) Beach (5) Seep |
|---|---|
| Runoff class | Negligible to medium |
| Flooding duration | Long (7 to 30 days) |
| Flooding frequency | None to frequent |
| Ponding duration | Very long (more than 30 days) |
| Ponding frequency | None to frequent |
| Elevation | 980 – 2,135 ft |
| Slope | 6% |
| Ponding depth | 18 in |
| Water table depth | 42 in |
| Aspect | Aspect is not a significant factor |
Climatic features
MLRA 55B is considered to have a continental climate – cold winters and hot summers, low humidity, light rainfall, and much sunshine. Extremes in temperature are characteristic of the MLRA. The climate is the result of this MLRA’s location in the geographic center of North America. There are few natural barriers on the northern Great Plains. The air masses move unobstructed across the plains and account for rapid changes in temperature.
Annual precipitation ranges from 18 to 23 inches per year. The normal average annual temperature is about 41.5° F. January is the coldest month with average low temperature ranging from about -4.3° F (Petersburg, ND) to about 2.5° F (Mellette, SD). July is the warmest month with temperatures averaging from about 79° F (Petersburg, ND) to about 84° F (Mellette, SD). The range of normal average monthly temperatures between the coldest and warmest months is about 64° F. This large annual range attests to the continental nature of this MLRA's climate. Winds average about 11 miles per hour annually, ranging from about 13 miles per hour during the spring to about 10 miles per hour during the summer. Daytime winds are generally stronger than nighttime and strong storms may bring brief periods of high winds with gusts to more than 50 miles per hour.
Growth of native cool-season plants begins in late March and continues to early to mid-July. Native warm- season plants begin growth in mid-May and continue to the end of August. Greening up of cool-season plants can occur in September and October when adequate soil moisture is present.
Table 3. Representative climatic features
| Frost-free period (characteristic range) | 111-117 days |
|---|---|
| Freeze-free period (characteristic range) | 128-134 days |
| Precipitation total (characteristic range) | 19-22 in |
| Frost-free period (actual range) | 105-119 days |
| Freeze-free period (actual range) | 124-135 days |
| Precipitation total (actual range) | 18-23 in |
| Frost-free period (average) | 114 days |
| Freeze-free period (average) | 131 days |
| Precipitation total (average) | 21 in |
Figure 3. Monthly precipitation range
Figure 4. Monthly minimum temperature range
Figure 5. Monthly maximum temperature range
Figure 6. Monthly average minimum and maximum temperature
Figure 7. Annual precipitation pattern
Figure 8. Annual average temperature pattern
Climate stations used
-
(1) BUTTE 5SE [USC00321225], Butte, ND
-
(2) CARRINGTON [USC00321360], Carrington, ND
-
(3) FORMAN 5 SSE [USC00323117], Forman, ND
-
(4) HARVEY 4NE [USC00324013], Harvey, ND
-
(5) LA MOURE [USC00324937], Lamoure, ND
-
(6) MELLETTE 4 W [USC00395456], Northville, SD
-
(7) PETERSBURG 2 N [USC00327027], Petersburg, ND
-
(8) COLUMBIA 8 N [USC00391873], Columbia, SD
Influencing water features
This site is poorly drained. Many areas of this site receive additional water as surface runoff from adjacent uplands. Under normal climatic conditions, the soils in depressions are frequently ponded in April and May and occasionally ponded in June. Depth of ponding typically is less than 1.5 feet during these months. In mid and late summer, ponded water commonly is not evident except after heavy rains. Ponding is commonly rare on flats; but, if adjacent to depressions, it may be occasional. Where present, ponding is less than 1 foot deep and of brief duration. Soils in this site occurring on flood plains have rare, brief to frequent, long flooding. On lake beaches, periodic inundation occurs with fluctuating lake levels.
When not ponded, a seasonal high-water table typically fluctuates with precipitation events between the surface and a depth of 1.5 feet during the months of April through June and is typically within a depth 3.5 feet through the remainder of the growing season. Some of the soils in this site have endosaturation (apparent water table) and some have episaturation (perched water table above a subsoil layer with slow permeability).
Surface infiltration ranges from slow to rapid. Permeability typically ranges from slow to rapid; some soils have a coarser-textured substratum with very rapid permeability.
Wetlands receive water from different sources including ground water movement. Recharge wetlands (Wet Meadow) have groundwater flow predominantly away from the wetland moving toward or into a discharge wetland basin. Flowthrough wetlands have groundwater flowing away from the wetland basin but is balanced with water flowing into the basin.
Due to the potential high rate of surface evaporation, areas of this site without frequent ponding are at risk of becoming saline (Saline Lowland) if vegetative cover is reduced or removed.
Water loss is primarily through evapotranspiration and lateral movement into (and evaporation from) adjacent soils. During periods of drought or extreme wetness, water table fluctuations will also have an impact on depth of ponding, especially in sandy soils. During periods of drawdown (e.g., prolonged drought), soil and water chemistry may significantly impact the soil/water/vegetation dynamics of the site (see Site Development and Testing Plan).
Fluctuations in specific conductance are less pronounced during average or normal water conditions than during periods of excessive water depth or extreme drought. The approximate normal and extreme range in specific conductance (micromhos/cm3) of surface water in plant communities that are indicators of differences in average salinity are as follows:
Plant Community Normal Range (micromhos/cm3) Electroconductivity (dS/m)
Fresh <40 - 500 0.5
Slightly brackish 500 - 2,000 0.5 to 2.0
Moderately 2,000 - 5,000 2.1 to 5.0
brackish
Brackish 5,000 - 15,000 5.1 to 15.0
Sub-saline 15,000 - 45,000 15.1 to 45.0
Saline 45,000 -100,000 > 45.0
These depressions are considered temporary wetlands; however, during wetter than normal climate cycles, these soils may have seasonal ponding.
Wetland description
Wetland Description: Cowardin, et al., 1979
System: Palustrine
Subsystem: N/A
Class: Emergent
Sub-class: Persistent
Water Regime: Temporary / Saturated
Figure 9. Surface/ Subsurface Water Flow Diagram (Adapted from Seelig and Dekeyser 2006)
Soil features
Soils associated with Wet Meadow ES are in the Mollisol, Entisol, and Vertisol orders. The Mollisols are classified further as Argiaquic Argialbolls, Vertic Argialbolls, Typic Argiaquolls, Typic Calciaquolls, Typic Endoaquolls, and Cumulic Endoaquolls. The Entisols are classified further as Vertic Fluvaquents and Typic Psammaquents. The Vertisols are further classified as Typic Calciaquerts, Typic Endoaquerts, and Typic Epiaquerts. These soils were developed under wetland vegetation. They formed in till, glaciolacustrine sediments, glaciofluvial deposits, eolian deposits, local alluvium from till, or in flood plain alluvium; some formed in beach deposits.
The common feature of soils in this site are inundation or near-surface saturation in the early part of the growing season. The soils are very deep and poorly drained. Some are in depressions and potholes that are ponded in April and May; some are on low-flying flats which have prolonged saturation in the spring; and some are on flood plains with frequent, brief or long flooding. The ecological site includes poorly drained soils on lake beaches and upland seeps. Since hydrology (surface and sub-surface) is the primary factor used in identifying this site, all textures are included. Therefore, soil physical properties associated with texture vary widely.
Soil salinity is none to slight (E.C. <8 dS/m) to a depth of >20 inches; in many soils it increases to moderate (E.C. 8-16 dS/m) in the lower subsoil and substratum. Sodicity is none or slight in the upper part of the soil; it is none to moderate in the substratum. Soil reaction typically is moderately acid to moderately alkaline (pH 5.6 to 8.4); but in a few soils may be strongly alkaline (pH 8.5 to 9.0) in the substratum. The calcium carbonate content is none too high.
The soil surface is stable and intact. In some soils, sub-surface layers are non-restrictive to water movement; in other soils a layer of clay accumulation slows water movement and prolongs surface ponding. The soil/water/plant relationship is strongly influenced by ponded/and or saturated conditions.
Major soil series correlated to the Wet Meadow site are Arveson, Borup, Colvin, Fargo, Fossum, Hamar, Hegne, Koto, Kratka, Lallie, Lamoure, Lindaas, Lowe, Ludden, Marysland, Minnewaukan, Mustinka, Perella, Rimlap, Tiffany, Tonka, Vallers, and Verendrye. In addition, the poorly drained phase of Bantry is included in this site.
Access Web Soil Survey (https://websoilsurvey.sc.egov.usda.gov/App/WebSoilSurvey.aspx) for specific local soils information.
Table 4. Representative soil features
| Parent material |
(1)
Alluvium
(2) Glaciolacustrine deposits (3) Glaciofluvial deposits (4) Eolian deposits (5) Till |
|---|---|
| Surface texture |
(1) Silt loam (2) Silty clay loam (3) Fine sandy loam (4) Loam (5) Silty clay (6) Clay loam |
| Family particle size |
(1) Loamy (2) Clayey (3) Sandy |
| Drainage class | Poorly drained |
| Permeability class | Slow to rapid |
| Soil depth | 80 in |
| Surface fragment cover <=3" | 8% |
| Surface fragment cover >3" | 1% |
| Available water capacity (0-40in) |
1.5 – 12 in |
| Calcium carbonate equivalent (0-40in) |
35% |
| Electrical conductivity (0-40in) |
8 mmhos/cm |
| Sodium adsorption ratio (0-40in) |
8 |
| Soil reaction (1:1 water) (0-40in) |
5.6 – 8.4 |
| Subsurface fragment volume <=3" (Depth not specified) |
32% |
| Subsurface fragment volume >3" (Depth not specified) |
5% |
Ecological dynamics
This ecological site description is based on nonequilibrium ecology and resilience theory and utilizes a State- and-Transition Model (STM) diagram to organize and communicate information about ecosystem change as a basis for management. The ecological dynamics characterized by the STM diagram reflect how changes in ecological drivers, feedback mechanisms, and controlling variables can maintain or induce changes in plant community composition (phases and/or states). The application of various management actions, combined with weather variables, impact the ecological processes which influence the competitive interactions, thereby maintaining or altering plant community structure.
Prior to European influence, the historical disturbance regime for MLRA 55B included frequent fires, both anthropogenic and natural in origin. Most fires, however, were anthropogenic fires set by Native Americans. Native Americans set fires in all months except perhaps January. These fires occurred in two peak periods, one from March-May with the peak in April and another from July-November with the peak occurring in October. Most of these fires were scattered and of small extent and duration. The grazing history would have involved grazing and browsing by large herbivores (such as American bison, elk, and whitetail deer). Herbivory by small mammals, insects, nematodes, and other invertebrates are also important factors influencing the production and composition of the communities. Grazing and fire interaction, particularly when coupled with drought events, influenced the dynamics discussed and displayed in the following state and transition diagram and descriptions.
This ecological site generally has a history of grazing by domestic livestock (particularly cattle) which, along with related activities (e.g., fencing, water development), has changed the disturbance regime of the site. Changes will occur in the plant communities due to weather fluctuations and/or management actions; under adverse impacts, a slow decline in vegetative vigor and composition will result. However, under favorable conditions the site has the potential to resemble the reference state.
Although grazing and fire are significant ecological drivers for this site, equally important drivers are hydrology and water chemistry. Hydrology is mainly a factor of landscape position including the size of the contributing watershed, connectivity to other basins, and whether the basin has an outlet. Water chemistry is influenced by soil chemistry and whether the site is a recharge, flow-through, or discharge site. Grazing and fire interaction, particularly when coupled with drought events, set up the dynamics discussed and displayed in the following state and transition diagram and descriptions.
Several years of above or below average precipitation can have a dramatic impact on this ecological site. During periods of above average precipitation the site has been observed to support vegetative communities associated with the Shallow Marsh ecological site. During drought periods the vegetation of the site may be similar to that of Subirrigated ecological site.
When soils are saturated, particularly in the spring and early summer, Wet Meadow sites are susceptible to pugging damage (or hummocking of the soil by livestock walking on the site). Pugging is a form of soil compaction due to livestock which damages the soil structure. It can seal the soil surface which reduced infiltration and exacerbates waterlogging of the topsoil. The microtopography created by pugging generally supports plants of more well drained conditions; it is often associated with an increase in weedy species. This can lead to a significant reduction in plant production and utilization.
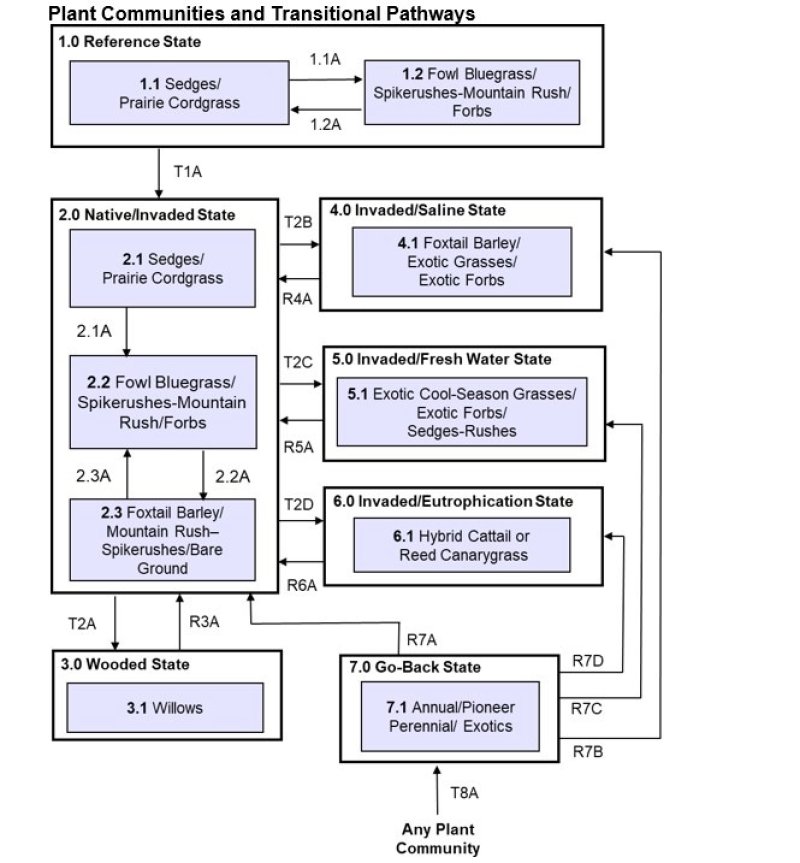
Seven vegetative states have been identified for the site (Reference, Native/Invaded, Wooded, Invaded/Saline, Invaded/Fresh Water, Invaded/Eutrophic, and Go-Back). Within each state, one or more community phases have been identified. These community phases are named based on the more dominant and visually conspicuous species; they have been determined by study of historical documents, relict areas, scientific studies, and ecological aspects of plant species and plant communities. Transitional pathways and thresholds have been determined through similar methods.
State 1: Reference State represents the natural range of variability that dominated the dynamics of this ecological site prior to European influence. Dynamics of the state were largely determined by variations in climate and weather (e.g., drought), as well as that of fire (e.g., timing, frequency) and grazing by native herbivores (e.g., frequency, intensity, selectivity). Due to those variations, the Reference State is thought to have shifted temporally and spatially between two plant community phases.
State 2: Native/Invaded State. Colonization of the site by exotic plants results in a transition from State 1: Reference State to State 2: Native/Invaded State (T1A). This transition is probably inevitable; it often results from colonization by exotic grasses (e.g., Kentucky bluegrass, smooth brome, quackgrass, red top, barnyard grass and/or exotic strains or hybrids of reed canarygrass) which have been particularly and consistently invasive under extended periods of non-use and no fire. Other exotic plants (e.g., hybrid cattail, Russian olive) may also invade the site.
Three community phases have been identified for this state; they are similar to the community phases in the Reference State but have now been invaded by exotic grasses. These exotic grasses can be expected to increase, particularly under long-term non-use or very light grazing, and no fire. As that increase occurs, plants more desirable to wildlife and livestock may decline. A decline in forb diversity can also be expected. Under non-use or minimal use management, mulch increases and may become a physical barrier to plant growth. This also changes the micro-climate near the soil surface and may alter infiltration, nutrient cycling, and biological activity near the soil surface. As a result, these factors coupled with shading cause desirable native plants to have increasing difficulty remaining viable and recruitment declines.
To slow or limit the invasion of these exotic grasses or other exotic plants, it is imperative that managerial techniques (e.g., prescribed grazing, prescribed burning) be carefully constructed, monitored, and evaluated with respect to that objective. Depending upon variations in water chemistry, heavy season-long grazing and below average precipitation can lead to a transition to either State 4: Invaded/Saline State via (T2B), or State 5: Invaded/Fresh Water State via (T2C). Both states are dominated by exotic grasses. Eutrophication and sedimentation may cause a transition to State 6: Invaded/Eutrophication State which is dominated by cattails or reed canarygrass via (T2D). This state may also transition to State 3: Wooded State if willows are allowed to increase in size and extent during extended periods of infrequent fire (T2A).
State 3: Wooded State. This state may form during extended periods of infrequent fire and consists of one community phase. Bebb willow and perhaps other willows become dominant. Over time, the willows may form rather extensive stands or thickets. Russian olive is also known to invade the site. A marked increase in non- use management and active fire suppression since European influence has enabled this state to expand and become more widespread. Mechanical treatment and prescribed burning may lead to State 2: Native/Invaded State (R3A).
State 4: Invaded/Saline State. This state, which is characterized by foxtail barley, exotic grasses, and exotic forbs, forms from State 2: Native/Invaded State (via T2B) during periods of heavy season-long grazing during times of below average precipitation leading to a decrease in water depth and brackish (alkalinity/salinity) conditions (discharge site). It may also form during periods of non-use, no fire, no planting, saline conditions, and a successful hydrological restoration from State 7: Go-Back State via R7B. Extended periods of above average precipitation will lead to State 2: Native/Invaded State (R4A).
State 5: Invaded/Fresh Water State. This state is characterized by exotic grasses, exotic forbs, sedges, and rushes and forms from State 2: Native/Invaded Site (via T2C) during periods heavy season-long grazing, below average precipitation, and no salinity (recharge site). It may also form during periods of non-use, no fire, and no planting with freshwater conditions and a successful hydrological restoration from State 7: Go-Back State (via R7C). Extended periods of above average precipitation will lead to State 2: Native/Invaded State (R5A).
State 6: Invaded/Eutrophication State. This state, characterized by hybrid cattail or exotic strains/hybrids of reed canarygrass, forms from State 2: Native/Invaded State (via T2D) due to eutrophication and sedimentation of the site, often due to tillage on or adjacent to the site. A rise in water levels, particularly when in association with Shallow Marsh ecological sites, may also lead to dominance by cattails. It may also form during periods of non-use and no fire under conditions of eutrophication and sedimentation with a successful hydrological restoration from State 7: Go-Back State (via R7D). Extended periods of above average precipitation will lead to State 2: Native/Invaded State (R6A).
State 7: Go-Back State. This state often results following cropland abandonment and consists of only one plant community phase. This weedy assemblage may include noxious weeds that need control. Over time, the exotic grasses (Kentucky bluegrass, smooth brome, quackgrass, red top, barnyard grass, or exotic strains/hybrids of reed canarygrass) will likely predominate.
Initially, due to extensive bare ground and a preponderance of shallow-rooted annual plants, the potential for soil erosion is high. Plant species richness may be high, but overall diversity (i.e., equitability) is typically low, with the site dominated by a relatively small assemblage of species. Due to the lack of native perennials and other factors, restoring the site with the associated ecological processes is difficult. However, a successful hydrological restoration and planting may result in something approaching State 2: Native/Invaded State (R7A). Following planting, prescribed grazing, prescribed burning, haying, and the use of herbicides will generally be necessary to achieve the desired result and control weeds, some of which may be noxious weeds. A successful hydrological restoration followed by non-use, no fire, and no planting will lead to one of the three invaded states depending upon variations in hydrology and water chemistry (e.g., R7B, R7C, R7D).
Drainage/Hydrological Manipulation: Hydrological manipulation (surface or tile drainage, pumping, surface water diversion, etc.) modifies this ecological site. For more detailed information on drainage/hydrological manipulation of the site, see the “Hydrology Functions” section of this document.
The following state and transition model diagram illustrates the common states, community phases, community pathways, and transition and restoration pathways that can occur on the site. These are the most common plant community phases and states based on current knowledge and experience; changes may be made as more data are collected. Pathway narratives describing the site’s ecological dynamics reference various management practices (e.g., prescribed grazing, prescribed fire, brush management, herbaceous weed treatment) which, if properly designed and implemented, will positively influence plant community competitive interactions. The design of these management practices will be site specific and should be developed by knowledgeable individuals; based upon management goals and a resource inventory; and supported by an ongoing monitoring protocol.
When the management goal is to maintain an existing plant community phase or restore to another phase within the same state, modification of existing management to ensure native species have the competitive advantage may be required. To restore a previous state, the application of two or more management practices in an ongoing manner will be required. Whether using prescribed grazing, prescribed burning, or a combination of both with or without additional practices (e.g., brush management), the timing and method of application needs to favor the native species over the exotic species. Adjustments to account for variations in annual growing conditions and implementing an ongoing monitoring protocol to track changes and adjust management inputs to ensure desired outcome will be necessary.
The plant community phase composition table(s) has been developed from the best available knowledge including research, historical records, clipping studies, and inventory records. As more data are collected, plant community species composition and production information may be revised.
State and transition model
More interactive model formats are also available.
View Interactive Models
Click on state and transition labels to scroll to the respective text
Ecosystem states
States 2, 5, 6 and 7 (additional transitions)
States 4 and 7 (additional transitions)
State 2 submodel, plant communities
State 3 submodel, plant communities
State 4 submodel, plant communities
State 5 submodel, plant communities
State 6 submodel, plant communities
State 7 submodel, plant communities
State 1
Reference
This site develops under Northern Great Plains climatic conditions which include frequent droughts and wide fluctuations in temperature and precipitation which can result in both short-term and long-term changes in water levels and water chemistry (e.g., alkalinity/salinity). Hydrology, water chemistry, grazing, and fire can all serve as important drivers of this site. Hydrology is mainly a factor of landscape position, including the size of the contributing watershed, connectivity to other basins, and whether the basin has an outlet. Water chemistry is influenced by soil chemistry and whether the site is a recharge, flow-through, or discharge site. This state is typically co-dominated by a mixture of cool-season and warm-season graminoids (mainly woolly sedge, wheat sedge, and Sartwell’s sedge) along with prairie cordgrass and northern reedgrass. Prior to European influence, the primary disturbance mechanisms for this site in the reference condition included water level fluctuations, periodic fire, and grazing by large herding ungulates. Spring snowmelt runoff and rainfall events, coupled with timing of fires and grazing events, dictated the dynamics that occurred within the natural range of variability. Along with water level fluctuations and water chemistry, present day primary disturbances are from concentrated livestock grazing and a lack of fire. Under these conditions, vegetation for livestock and wildlife can be expected to decline along with a corresponding increase in less desirable vegetation. Wet Meadow ecological sites are highly influenced by water levels (including saturated soil), water movement, and water chemistry (i.e., discharge and recharge hydrology). Water levels influence fire effectiveness and livestock use. Water levels also influence exotic species invasion. As Wet Meadow sites draw down, drying and losing soil moisture, they transition to functioning as an upland ecological site and can increase in salinity/alkalinity. Exotic grasses and forbs begin to invade starting from the upland edge of the Wet Meadow ecological site moving toward the deeper portion of the wetland. Many factors will dictate the speed of exotic species invasion including duration of draw-down phase, management of the sites during the draw-down phase, changes in soil chemistry, and availability of exotic species seed or plants parts (e.g., propagules). During extended periods of draw-down, presence of exotic species adjacent to the site and lack of fire or heavy season-long livestock grazing can speed up the invasion of cool-season exotic grasses or forbs such as Canada thistle or sow thistle. Once the site is invaded, increased water depth can begin to reverse the invasion of exotic species. However, the increase in salt accumulation will be difficult to reverse back to levels prior to extended periods of draw- down. In addition, exotic grasses (e.g., quackgrass) and foxtail barley can tolerate extended periods of inundation or saturation, never totally drowning out along the outer margins of the Wet Meadow site. The continued presence of cool-season exotic grasses prevents the site from transitioning back to State 1: Reference State.
Characteristics and indicators. Because of changes in disturbances and other environmental factors (particularly the widespread occurrence of exotic species), the Reference State is considered to no longer exist.
Resilience management. If intact, the reference state should probably be managed with current disturbance regimes which has permitted the site to remain in reference condition, as well as maintaining the quality and integrity of associated ecological sites. Maintenance of the reference condition is contingent upon a monitoring protocol to guide management.
Community 1.1
Sedges/Prairie Cordgrass (Carex spp./Spartina pectinata)
This community phase evolved with grazing by large herbivores, occasional prairie fires, and relatively frequent shallow ponding or saturation events. It may be found on areas that are properly managed with grazing and/or prescribed burning and, sometimes, on areas receiving occasional short periods of rest. Woolly sedge is typically the dominant graminoid while prairie cordgrass is the dominant warm-season grass and northern reedgrass the dominant cool-season species. A variety of sedges and rushes also occur throughout this community (such as wheat sedge, mountain rush, and spikerush). Switchgrass and fowl bluegrass are also common. Common forbs often include Canada germander, goldenrods, Flodman’s thistle, Indianhemp, white doll’s aster, and white panicle aster. Shrubs such as willow (e.g., Bebb willow), meadowsweet, and redosier dogwood are often minor components. Annual production can vary from roughly 3500-5500 pounds per acre, consisting of about 40 percent grass-like species, 47 percent grasses, 10 percent forbs, and 3 percent shrubs. The community is further described in the “Plant Community Composition and Group Annual Production” portion of this ecological site description. This plant community phase is diverse, stable, productive, and well adapted to the Northern Great Plains. Temporary ponding or a high-water table supplies much of the moisture for plant growth; the plant composition and diversity will shift with these changes. This is a sustainable plant community in terms of soil stability, watershed function, and biologic integrity.
Figure 10. Annual production by plant type (representative values) or group (midpoint values)
Table 5. Annual production by plant type
| Plant type | Low (lb/acre) |
Representative value (lb/acre) |
High (lb/acre) |
|---|---|---|---|
| Grass/Grasslike | 3305 | 4095 | 4815 |
| Forb | 195 | 338 | 535 |
| Shrub/Vine | 0 | 68 | 150 |
| Total | 3500 | 4501 | 5500 |
Figure 11. Plant community growth curve (percent production by month). ND5508, Central Black Glaciated Plains, lowland cool-season/warm-season co-dominant.. Cool-season, warm-season co-dominant, lowland..
| Jan | Feb | Mar | Apr | May | Jun | Jul | Aug | Sep | Oct | Nov | Dec |
|---|---|---|---|---|---|---|---|---|---|---|---|
| J | F | M | A | M | J | J | A | S | O | N | D |
| 0 | 0 | 0 | 3 | 35 | 35 | 15 | 5 | 5 | 2 | 0 | 0 |
Community 1.2
Fowl Bluegrass/Spikerushes-Mountain Rush/Forbs (Poa palustris/Eleocharis spp.-Juncus arcticus/Forbs)
This community develops during periods of heavy season-long grazing, particularly during decreasing or low water conditions when grazing pressure on the site is disproportionately high. Compared to Community Phase 1.1, prairie cordgrass, northern reedgrass, and switchgrass have declined with noticeable increases in fowl bluegrass, spikerush, mountain rush, and forbs. Common forbs include asters, goldenrods, and cinquefoil.
Pathway 1.1A
Community 1.1 to 1.2
Community Phase Pathway 1.1 to 1.2 occurs with below average precipitation and heavy season-long grazing. This is associated with a drop in water level and an increased frequency and intensity of grazing due to limited forage availability on the adjacent upland sites.
Pathway 1.2A
Community 1.2 to 1.1
Community Phase Pathway 1.2 to 1.1 results with the return to average precipitation resulting in increased water depth and the implementation of prescribed grazing with adequate recovery periods. This results in noticeable increases in prairie cordgrass, northern reedgrass, and switchgrass.
State 2
Native/Invaded State
This state may be characterized as consisting of similar community phases as found in the Reference State (i.e., Community Phase 1.1 and 1.2), but the site has now been colonized by exotic plants (e.g., grasses such as Kentucky bluegrass, quackgrass, smooth brome, red top, barnyard grass, or exotic strains/hybrids of reed canarygrass). Canada thistle is also a frequent exotic on the state. Although the state is still dominated by native cool-season grasses and graminoids, an increase in the exotic grasses can be expected. These exotic grasses have been particularly and consistently invasive under extended periods of non-use and no fire. To slow or limit the invasion of these exotic grasses, it is imperative that managerial techniques (e.g., prescribed grazing, prescribed burning, other) be carefully constructed, monitored, and evaluated with respect to that objective. If management does not include measures to control or reduce these exotic grasses, the transition to State 3: Invaded State should be expected. Willows (e.g., Bebb willow) may be present in this state. They may markedly increase, particularly during periods of infrequent fire (i.e., +/- 5-10 year intervals), leading to the transition to State 3: Wooded State (T2A). Restoration of State 2: Native/Invaded State back to State 1: Reference State is not considered to be achievable. However, it should be noted that, if the major invader is reed canarygrass, prescribed grazing techniques that target reed canarygrass may be a good choice for restoration efforts because the species is not very tolerant of heavy grazing.
Characteristics and indicators. The presence of trace amounts of exotic grasses indicates a transition from State 1 to State 2. The presence of exotic biennial leguminous forbs (e.g., sweet clover) may not, on their own, indicate a transition from State 1 to State 2 but may facilitate that transition.
Resilience management. To slow or limit the invasion of these exotic grasses, it is imperative that managerial techniques (e.g., prescribed grazing, prescribed burning) be carefully constructed, monitored, and evaluated with respect to that objective. Grazing management should be applied that enhances the competitive advantage of native grass and forb species. This may include: (1) grazing when exotic grasses are actively growing and native cool-season grasses are dormant; (2) applying proper deferment periods allowing native grasses to recover and maintain or improve vigor; (3) adjusting overall grazing intensity to reduce excessive plant litter (above that needed for rangeland health indicator #14 – see Rangeland Health Reference Worksheet); (4) incorporating early heavy spring utilization which focuses grazing pressure on exotic grasses and reduces plant litter, provided that livestock are moved when grazing selection shifts from exotic grasses to native grasses. Prescribed burning should be applied in a manner that maintains or enhances the competitive advantage of native grass and forb species. Prescribed burns should be applied as needed to adequately reduce/remove excessive plant litter and maintain the competitive advantage for native species. Timing of prescribed burns (spring vs. summer vs. fall) should be adjusted to account for differences in annual growing conditions and applied during windows of opportunity to best shift the competitive advantage to the native species.
Community 2.1
Sedges/Prairie Cordgrass (Carex spp./Spartina pectinata)
This plant community phase is similar in composition and production to that of Plant Community Phase 1.1 but has been colonized by exotic plants. It often develops under conditions of non-use and no fire which can result in excessive litter accumulates; this exacerbates the invasion by exotic plants (such as reed canarygrass, Canada thistle, and perhaps red top). It can also develop under heavy season-long grazing.
Community 2.2
Fowl Bluegrass/Spikerushes-Mountain Rush/Forbs (Poa palustris/Eleocharis spp.-Juncus arcticus/Forbs)
This plant community phase develops with heavy season-long grazing during periods of below average precipitation leading to decreasing water levels. Sedges, mountain rush, spikerushes, and bulrush will increase noticeably. Prairie cordgrass and sedges will decline, while grazing tolerant invasive plants (e.g., creeping meadow foxtail) may become prevalent if a seed source is present or nearby. This plant community is somewhat resistant to change. A combination of both prescribed grazing and prescribed burning is most effective in moving this plant community towards the Reference State. This community phase is often dispersed throughout a pasture in an overgrazed/undergrazed pattern, typically referred to as patch grazing. Some overgrazed areas will exhibit the impacts of heavy use, while the ungrazed areas will have a build-up of litter and increased plant decadence. This is a typical pattern found in properly stocked pastures grazed season-long. As a result, Kentucky bluegrass tends to increase more in the undergrazed areas while the more grazing tolerant short-statured species (such as blue grama and sedges) increase in the heavily grazed areas. If present, Kentucky bluegrass may increase under heavy grazing.
Community 2.3
Foxtail Barley/Mountain Rush-Spikerush/Bare Ground (Hordeum jubatum/Juncus arcticus-Eleocharis spp./Bare Ground
This plant community phase develops under prolonged conditions of disturbance (e.g., heavy season-long grazing), particularly during periods of below average precipitation when water depths lower and salinity increases (discharge site). The prolonged nature of this disturbance will tend to increase soil temperatures and evaporation, causing this site to become drier. Foxtail barley often becomes a prominent component of the community, largely resulting from an increase in soil salinity/sodicity and lack of utilization by livestock once awns begin to appear. Production and diversity are much reduced compared to that of the Reference State. Production may be in the range of 4150 pounds per acre with the foxtail barley, mountain rush, and spikerushes accounting for over one- half of the total production and forbs contributing less than one percent.
Pathway 2.1A
Community 2.1 to 2.2
Community Phase Pathway 2.1 to 2.2 occurs during times of below average precipitation leading to a decreasing water depth in conjunction with heavy season-long grazing.
Pathway 2.2A
Community 2.2 to 2.3
Community Phase Pathway 2.2 to 2.3 occurs with heavy season-long grazing along with a decrease in water depth and increased salinity (discharge site).
Pathway 2.3A
Community 2.3 to 2.2
Community Phase Pathway 2.3 to 2.2 occurs with prescribed grazing in conjunction with increased precipitation leading to an increase in water depth above plant height leading to plant mortality.
State 3
Wooded State
This state occurs throughout the MLRA and often results from extended periods of infrequent fire. A threshold leading to this state appears to occur over 5-10 years +/- of no fire. Bebb willow and many other willows resprout following burns. A vigorous sprouting response, in combination with increased growth (e.g., size, canopy cover), and reduced fine fuel loads beneath the canopy often enables the willows to increase with infrequent fires. Older, larger plants survive the fires while smaller and younger plants resprout following a burn. Over time, the willows may form rather extensive stands or thickets. A marked increase in non-use management and active fire suppression since European influence has enabled this state to expand and become more widespread. The site may also be invaded by Russian olive.
Characteristics and indicators. The dominance of woody species (by cover and production) distinguishes this state from other herbaceously dominated states.
Resilience management. This state is resistant to change in the long-term absence of fire. Restoration efforts would require the use of prescribed fire, mechanical treatment, and prescribed grazing. Considerable time and effort will be required to restore to other States.
Community 3.1
Willow (Salix spp.)
This plant community phase is dominated by willows (e.g., Bebb). Associated shrubs may include redosier dogwood and perhaps white meadowsweet. The site may also be invaded by Russian olive. Sedges and rushes generally dominate the herbaceous understory. Once established, this plant community is very resilient and resistant to change. The lack of fine fuels in the understory and high degree of shading makes the application of prescribed burning very difficult without a mechanical pretreatment a year to two prior to the burn.
State 4
Invaded/Saline State
This state is similar to Community Phase 2.1, but exotic species now dominate the site. Foxtail barley is a conspicuous component of the community; however, the exotic grasses make up the bulk of the vegetation. Several exotic grasses may be present (alone or in combination) and include barnyard grass, quackgrass, smooth brome, redtop, and/or exotic strains or hybrids of reed canarygrass. Common exotic forbs include Canada thistle, kochia, lambsquarters, and field sowthistle. Marsh fleabane (aka swamp ragwort) is also occasionally abundant on the site during drawdowns.
Characteristics and indicators. This site is characterized by exotic cool-season grasses constituting greater than 30 percent of the annual production and native grasses and grass-like species constituting less than 40 percent of the annual production.
Resilience management. (i.e., management strategies that will sustain a state and prevent a transition). Salinity levels need to be considered when developing management alternatives. Light or moderately stocked continuous, season-long grazing or a prescribed grazing system which incorporates adequate deferment periods between grazing events and proper stocking rate levels will maintain this State. Application of herbaceous weed treatment, occasional prescribed burning, and/or brush management may be needed to manage noxious weeds and increasing shrub (e.g., western snowberry) populations.
Community 4.1
Foxtail Barley/Exotic Grasses/Exotic Forbs (Hordeum jubatum/Exotic Grasses/Exotic Forbs)
This community phase is a saline phase of the invaded states; as such, it is predominantly composed of exotic grasses (such as barnyard grass, quackgrass, smooth brome, redtop, and/or exotic strains or hybrids of reed canarygrass) which may occur alone or in combination. Foxtail barley, however, is generally a conspicuous component and is an indicator of the saline conditions. Other grasses are largely halophytic species and may include saltgrass, alkaligrass, and scratchgrass.
State 5
Invaded/Fresh Water State
This community is the freshwater phase of the Invaded State and appears similar to Community Phase 2.2. Exotic grasses dominate the site and may consist of quackgrass, smooth brome, and barnyard grass (alone or in combination). Although foxtail barley may be present, it is much reduced compared to that of State 4: Invaded/Saline State. Canada thistle, field sowthistle, and lambsquarters are common forbs.
Characteristics and indicators. This site is characterized by exotic cool-season grasses constituting greater than 30 percent of the annual production and native grasses and grass-like species constituting less than 40 percent of the annual production.
Resilience management. Light or moderately stocked continuous, season-long grazing or a prescribed grazing system which incorporates adequate deferment periods between grazing events and proper stocking rate levels will maintain this State. Application of herbaceous weed treatment, occasional prescribed burning, and/or brush management may be needed to manage noxious weeds and increasing shrub (e.g., western snowberry) populations.
Community 5.1
Exotic Grasses/Exotic Forbs/Sedges/Rushes (Exotic Grasses/Exotic Forbs/Carex spp./Juncus spp.)
This community is the freshwater phase of the invaded states and appears similar to Community Phase 2.2. Exotic grasses dominate the site and may consist of quackgrass, smooth brome, and barnyard grass (alone or in combination). Although foxtail barley may be present, it is much reduced compared to that of State 4: Invaded/Saline State. Canada thistle, field sowthistle, and lambsquarters are common forbs. Several species of sedges and rushes may still be present but compose a minor component of the community.
State 6
Invaded/Eutrophication State
This state results from eutrophication and sedimentation of the site, often due to tillage on or adjacent to the site. Depending upon what seeds, rhizomes, and propagules are present in the substrate, monotypic stands of hybrid cattails or exotic strains/hybrids of reed canarygrass generally develop. A rise in water levels, particularly when in association with wetlands, may also lead to dominance by cattails.
Characteristics and indicators. This site is characterized by exotic cool-season grasses constituting greater than 30 percent of the annual production and native grasses and grass-likes constituting less than 40 percent of the annual production.
Resilience management. Light or moderately stocked continuous, season-long grazing or a prescribed grazing system which incorporates adequate deferment periods between grazing events and proper stocking rate levels will maintain this State. Application of herbaceous weed treatment, occasional prescribed burning, and/or brush management may be needed to manage noxious weeds and increasing shrub (e.g., western snowberry) populations.
Community 6.1
Hybrid Cattail or Reed Canarygrass (Typha x glauca or Phalaris arundinacea)
Figure 12. Community Phase 6.1: Hybrid Cattail or Reed Canarygrass, this site dominated by reed canarygrass.
Whether the site becomes dominated by hybrid cattail or reed canarygrass is largely the result of which seeds, rhizomes, or propagules are present on the site. Either way, the community has little diversity, with the cattail or reed canarygrass forming virtual monocultures. Canada thistle, field sowthistle, and some asters may be present in the reed canarygrass stands. Production on cattail dominated communities may be in the range of 5300 pounds per acre with cattails and graminoids contributing 4800 and 425 pounds per acre, respectively.
State 7
Go-Back State
This state is highly variable depending on the level and duration of disturbance related to the T8A pathway. In this MLRA, the most probable origin of this state is plant succession following crop abandonment. This plant community will initially include a variety of annual forbs and grasses, some of which maybe noxious weeds.
Characteristics and indicators. Tillage has destroyed the native plant community, altered soil structure and biology, reduced soil organic matter, and resulted in the formation of a tillage induced compacted layer which is restrictive to root growth. Removal of perennial grasses and forbs results in decreased infiltration and increased runoff.
Resilience management. Continued tillage will maintain the state. Control of noxious weeds will be required.
Community 7.1
Annual/Pioneer Perennial/Exotics
Plant composition of this state can be quite variable due to variations in hydrology, salinity, and other factors. In this MLRA, the most probable origin of this phase is plant succession following cropland abandonment. This plant community will initially include a variety of annual forbs and grasses, some of which may be noxious weeds needing control. However, plants commonly occurring in this state include quackgrass, foxtail barley, barnyardgrass, goosefoot, field sowthistle, knotweed, smartweed, burningbush, and beggartick. Restoration efforts to several states can be successful. It should be noted, however, that well-established stands of Canada thistle, field sowthistle, or quackgrass are particularly difficult to restore.
State 8
Any Plant Community
This plant community generally results from annual cropping.
Transition T1A
State 1 to 2
This transition from the State 1: Reference State to State 2: Native/Invaded State occurs over several years of non-use and no fire or heavy season-long grazing. Exotic grasses (such as Kentucky bluegrass, quackgrass, smooth brome, red top, barnyard grass, or exotic strains/hybrids of reed canarygrass) invade the site. Other exotic plants (e.g., hybrid cattail, Canada thistle, Russian olive) may also invade the site.
Constraints to recovery. Current knowledge and technology will not facilitate a successful restoration to Reference State.
Transition T2A
State 2 to 3
This is the transition from State 2: Native/Invaded State to State 3: Wooded State. It often results from extended periods of infrequent fire. This transition appears to cross a threshold after 5-10 years +/- of no fire. Bebb willow and many other willows resprout following burns. A vigorous sprouting response, in combination with increased growth (e.g., size, canopy cover), and reduced fine fuel loads beneath the canopy often enables the willows to survive subsequent fires, and perhaps even expand coverage.
Constraints to recovery. The extended fire interval may make recovery doubtful due to the abundance of exotic cool-season grasses and lack of native grasses. Fire intensity along with consumption of available fuels may cause incomplete or patchy burns. Continued recruitment of tree seeds from adjacent sites will hamper site restoration. Reticence to undertake tree removal and the perception that trees may be a desirable vegetation component for wildlife habitat, carbon sequestration, aesthetics, etc. are some of the constraints to recovery. Managers wanting to manage the site for deer, livestock, or grassland nesting birds will need to consider the intensive management required to restore and maintain the site in State 2. The disturbance regime necessary to restore this site to State 2: Native/Invaded State is very labor intensive and costly; therefore, addressing woody removal earlier in the encroachment phase is the most cost-effective treatment for woody control.
Transition T2B
State 2 to 4
This transition from State 2: Native/Invaded State to State 4: Invaded/Saline State is due to heavy season-long grazing during times of below average precipitation leading to lowered water depth and brackish (alkalinity/salinity) conditions (discharge site).
Constraints to recovery. Variations in growing conditions (e.g., cool, wet spring) will influence effects of various management activities on exotic cool-season grass populations.
Transition T2C
State 2 to 5
This is the transition from State 2: Native/Invaded State to State 5: Invaded/Fresh Water State during times of lowered water depth and freshwater conditions in conjunction with heavy season-long grazing.
Constraints to recovery. Variations in growing conditions (e.g., cool, wet spring) will influence effects of various management activities on exotic cool-season grass populations.
Transition T2D
State 2 to 6
This is the transition from State 2: Native/Invaded State to State 6: Invaded/Eutrophication State resulting from eutrophication and sedimentation of the site, often due to tillage on or adjacent to the site. Hybrid cattail or exotic strains/hybrids of reed canarygrass become dominant. A rise in water levels, particularly when in association with Shallow Marsh ecological sites, may also lead to dominance by cattails.
Constraints to recovery. Variations in growing conditions (e.g., cool, wet spring) will influence effects of various management activities on exotic cool-season grass populations.
Restoration pathway R3A
State 3 to 2
This is the restoration pathway from State 3: Wooded State to State 2: Native/Invaded State due to high willow mortality resulting from mechanical treatment followed by prescribed burning. The prescribed burning will likely require repeated treatments because many of the willows will resprout following one burn.
Context dependence. Prescribed burning should be applied in a manner that enhances the competitive advantage of native grass and forb species over the exotic species. Prescribed burns should be applied at a frequency which mimics the natural disturbance regime or more frequently as is ecologically (e.g., available fuel load) and economically feasible. Burn prescriptions may need adjustment to: (1) account for change in fuel type (herbaceous vs. shrub vs. tree), fine fuel amount and orientation; (2) fire intensity and duration by adjusting ignition pattern (e.g., backing fires vs head fires); (3) account for plant phenological stages to maximize stress on woody and exotic species while favoring native species (both cool- and warm-season grasses). The method of brush management will be site specific but generally the goal would be to apply the pesticide, mechanical control, or biological control (either singularly or in combination) in a manner that shifts the competitive advantage from the targeted species to the native grasses and forbs. The control method(s) should be as specific to the targeted species as possible to minimize impacts to non-target species.
Restoration pathway R4A
State 4 to 2
This is the restoration of State 4: Invaded/Saline State to State 2: Native/Invaded State resulting from extended periods of above average precipitation causing an increase in ponding depth above the height of most exotic grasses. This results in considerable mortality and is sufficient to move the plant composition to more freshwater species.
Context dependence. Salinity levels need to be considered when developing management alternatives. Grazing management should be applied in a manner that enhances/maximizes the competitive advantage of native grass and forb species over the exotic species. This may include the use of prescribed grazing to reduce excessive plant litter accumulations above that needed for rangeland health indicator #14 (see Rangeland Health Reference Worksheet). Increasing livestock densities may facilitate the reduction in plant litter provided length and timing of grazing periods are adjusted to favor native species. Grazing prescriptions designed to address exotic grass invasion and favor native species may involve earlier, short, intense grazing periods with proper deferment to improve native species health and vigor. Fall (e.g., September, October) prescribed burning followed by an intensive, early spring graze period with adequate deferment for native grass recovery may shift the competitive advantage to the native species, facilitating the restoration to State 2: Native/Invaded. Prescribed burning should be applied in a manner that enhances the competitive advantage of native grass and forb species over the exotic species. Prescribed burns should be applied at a frequency which mimics the natural disturbance regime, or more frequently as is ecologically (e.g., available fuel load) and economically feasible. Burn prescriptions may need adjustment to: (1) account for change in fine fuel orientation; (2) fire intensity and duration by adjusting ignition pattern (e.g., backing fires vs head fires); (3) account for plant phenological stages to maximize stress on exotic species while favoring native species (both cool- and warm- season grasses). The longer this community phase exists, the more resilient it becomes. Natural or management disturbances that reduce the cover of cool-season exotic grasses are typically short-lived.
Restoration pathway R5A
State 5 to 2
This is the restoration of State 5: Invaded/Fresh Water State to State 2: Native/Invaded State during extended periods of above average precipitation leading to an increase in water depth above the height of most exotic grasses, resulting in considerable mortality and sufficient to move the plant composition to more freshwater species.
Context dependence. Grazing management should be applied in a manner that enhances/maximizes the competitive advantage of native grass and forb species over the exotic species. This may include the use of prescribed grazing to reduce excessive plant litter accumulations above that needed for rangeland health indicator #14 (see Rangeland Health Reference Worksheet). Increasing livestock densities may facilitate the reduction in plant litter provided length and timing of grazing periods are adjusted to favor native species. Grazing prescriptions designed to address exotic grass invasion and favor native species may involve earlier, short, intense grazing periods with proper deferment to improve native species health and vigor. Fall (e.g., September, October) prescribed burning followed by an intensive, early spring graze period with adequate deferment for native grass recovery may shift the competitive advantage to the native species, facilitating the restoration to State 2: Native/Invaded. Prescribed burning should be applied in a manner that enhances the competitive advantage of native grass and forb species over the exotic species. Prescribed burns should be applied at a frequency which mimics the natural disturbance regime, or more frequently as is ecologically (e.g., available fuel load) and economically feasible. Burn prescriptions may need adjustment to: (1) account for change in fine fuel orientation; (2) fire intensity and duration by adjusting ignition pattern (e.g., backing fires vs head fires); (3) account for plant phenological stages to maximize stress on exotic species while favoring native species (both cool- and warm- season grasses). The longer this community phase exists, the more resilient it becomes. Natural or management disturbances that reduce the cover of cool-season exotic grasses are typically short-lived.
Restoration pathway R6A
State 6 to 2
This is the restoration pathway from State 6: Invaded/Eutrophication State to State 2: Native/Invaded State resulting from extended periods of above average precipitation leading to increased water depth and chemical treatment, mechanical treatment, sediment removal, prescribed burning, and reseeding. The aquatic version of glyphosate herbicide has been shown to be an effective method in restoration efforts. Reseeding or the planting of plugs of plants (e.g., prairie cordgrass) has also been effective. Physically removing the sediment and associated rhizomes, seeds, etc. above the historical surface (A) horizon, coupled with reseeding and replanting adapted plants, is the most effective method of restoration.
Context dependence. Grazing management should be applied in a manner that enhances/maximizes the competitive advantage of native grass and forb species over the exotic species. This may include the use of prescribed grazing to reduce excessive plant litter accumulations above that needed for rangeland health indicator #14 (see Rangeland Health Reference Worksheet). Increasing livestock densities may facilitate the reduction in plant litter provided length and timing of grazing periods are adjusted to favor native species. Grazing prescriptions designed to address exotic grass invasion and favor native species may involve earlier, short, intense grazing periods with proper deferment to improve native species health and vigor. Fall (e.g., September, October) prescribed burning followed by an intensive, early spring graze period with adequate deferment for native grass recovery may shift the competitive advantage to the native species, facilitating the restoration to State 2: Native/Invaded. Prescribed burning should be applied in a manner that enhances the competitive advantage of native grass and forb species over the exotic species. Prescribed burns should be applied at a frequency which mimics the natural disturbance regime, or more frequently as is ecologically (e.g., available fuel load) and economically feasible. Burn prescriptions may need adjustment to: (1) account for change in fine fuel orientation; (2) fire intensity and duration by adjusting ignition pattern (e.g., backing fires vs head fires); (3) account for plant phenological stages to maximize stress on exotic species while favoring native species (both cool- and warm- season grasses). The longer this community phase exists, the more resilient it becomes. Natural or management disturbances that reduce the cover of cool-season exotic grasses are typically short-lived.
Restoration pathway R7A
State 7 to 2
This restoration pathway from State 7: Go-Back State to State 2: Native/Invaded State may be accomplished through a successful hydrological restoration (e.g., breaking tile or plugging a drain) followed by a successful range planting along the buffer and adjacent uplands. The likelihood of a successful wetland restoration through hydrological restoration, planting, increased water regime, chemical treatment, and/or sediment/ nutrient removal is limited due the persistence of exotic invasive species, such as hybrid cattail or reed canarygrass. A successful upland restoration is also needed to reduce the likelihood of exotic species invasion or continued sedimentation or nutrient loading. It is more likely that a wetland restoration effort that is successful will eventually end up in State 2 Native/Invaded State.
Context dependence. Reed canarygrass and hybrid cattail are difficult to control, largely due to vigorous spreading rhizomes, high seed production, and a large seed bank. Various control techniques may show signs of success but are often short-term with vegetation reverting within a few years. Adjacent upland ecological sites will need to remain intact or reseeded to native species to prevent sedimentation and nutrient loading to the Shallow Marsh ecological site. Prescribed grazing (e.g., heavy seasonal), high-intensity burns, and herbicides have shown some success in reducing the dominance by reed canarygrass. However, within several years the vegetation often reverts. Herbicides can be effective in reducing or eliminating hybrid cattail and can be followed by reseeding (or plugging) desirable species. Prescribed burning has also been effective during dry periods where fire temperatures may kill rhizomes and seeds. Although expensive, mechanical removal of the substrate has also been an effective technique.
Restoration pathway R7B
State 7 to 4
This restoration pathway from State 7: Go-Back State to State 4: Invaded/Saline State occur with salinity and a successful hydrological restoration with no/failed range planting.
Context dependence. Reed canarygrass and hybrid cattail are difficult to control, largely due to vigorous spreading rhizomes, high seed production, and a large seed bank. Various control techniques may show signs of success but are often short-term with vegetation reverting within a few years. Prescribed grazing (e.g., heavy seasonal), high-intensity burns, and herbicides have shown some success in reducing the dominance by reed canarygrass. However, within several years the vegetation often reverts. Herbicides can be effective in reducing or eliminating hybrid cattail and can be followed by reseeding (or plugging) desirable species. Prescribed burning has also been effective during dry periods where fire temperatures may kill rhizomes and seeds. Although expensive, mechanical removal of the substrate has also been an effective technique.
Restoration pathway R7C
State 7 to 5
This restoration pathway from State 7: Go-Back State to State 5: Invaded/Fresh Water State occurs with fresh water and a successful hydrological restoration with no/failed range planting.
Context dependence. Reed canarygrass and hybrid cattail are difficult to control, largely due to vigorous spreading rhizomes, high seed production, and a large seed bank. Various control techniques may show signs of success but are often short-term with vegetation reverting within a few years. Prescribed grazing (e.g., heavy seasonal), high-intensity burns, and herbicides have shown some success in reducing the dominance by reed canarygrass. However, within several years the vegetation often reverts. Herbicides can be effective in reducing or eliminating hybrid cattail and can be followed by reseeding (or plugging) desirable species. Prescribed burning has also been effective during dry periods where fire temperatures may kill rhizomes and seeds. Although expensive, mechanical removal of the substrate has also been an effective technique.
Restoration pathway R7D
State 7 to 6
This restoration pathway from State 7: Go-Back State to State 6: Invaded/Eutrophication State occurs with eutrophication, sedimentation, a successful hydrological restoration with no/failed range planting.
Context dependence. Reed canarygrass and hybrid cattail are difficult to control, largely due to vigorous spreading rhizomes, high seed production, and a large seed bank. Various control techniques may show signs of success but are often short-term with vegetation reverting within a few years. Prescribed grazing (e.g., heavy seasonal), high-intensity burns, and herbicides have shown some success in reducing the dominance by reed canarygrass. However, within several years the vegetation often reverts. Herbicides can be effective in reducing or eliminating hybrid cattail and can be followed by reseeding (or plugging) desirable species. Prescribed burning has also been effective during dry periods where fire temperatures may kill rhizomes and seeds. Although expensive, mechanical removal of the substrate has also been an effective technique.
Transition T8A
State 8 to 7
This is the transition from any plant community to State 7: Go-Back State. It is commonly associated with the cessation of cropping without the benefit of range planting, resulting in a “go-back” situation. Soil conditions can be quite variable on the site, in part due to variations in the management/cropping history (e.g., development of a tillage induced compacted layer (plow pan), erosion, fertility, and/or herbicide/pesticide carryover). Thus, soil conditions should be assessed when considering restoration techniques.
Additional community tables
Table 6. Community 1.1 plant community composition
| Group | Common name | Symbol | Scientific name | Annual production (lb/acre) | Foliar cover (%) | |
|---|---|---|---|---|---|---|
|
Grass/Grasslike
|
||||||
| 1 | Grass-likes | 900–2250 | ||||
| woolly sedge | CAPE42 | Carex pellita | 225–1800 | – | ||
| wheat sedge | CAAT2 | Carex atherodes | 90–675 | – | ||
| Sartwell's sedge | CASA8 | Carex sartwellii | 90–675 | – | ||
| Bicknell's sedge | CABI3 | Carex bicknellii | 45–225 | – | ||
| fox sedge | CAVU2 | Carex vulpinoidea | 45–225 | – | ||
| shortbeak sedge | CABR10 | Carex brevior | 0–225 | – | ||
| water sedge | CAAQ | Carex aquatilis | 0–225 | – | ||
| Grass-like (not a true grass) | 2GL | Grass-like (not a true grass) | 45–225 | – | ||
| rush | JUNCU | Juncus | 45–135 | – | ||
| spikerush | ELEOC | Eleocharis | 45–135 | – | ||
| green bulrush | SCAT2 | Scirpus atrovirens | 0–45 | – | ||
| bulrush | SCHOE6 | Schoenoplectus | 0–45 | – | ||
| 2 | Warm-season Grasses | 450–1125 | ||||
| prairie cordgrass | SPPE | Spartina pectinata | 225–1125 | – | ||
| switchgrass | PAVI2 | Panicum virgatum | 0–135 | – | ||
| spiked muhly | MUGL3 | Muhlenbergia glomerata | 45–135 | – | ||
| Mexican muhly | MUME2 | Muhlenbergia mexicana | 0–90 | – | ||
| mat muhly | MURI | Muhlenbergia richardsonis | 0–45 | – | ||
| 3 | Cool-season Grasses | 450–1125 | ||||
| northern reedgrass | CASTI3 | Calamagrostis stricta ssp. inexpansa | 225–900 | – | ||
| reed canarygrass | PHAR3 | Phalaris arundinacea | 45–225 | – | ||
| fowl bluegrass | POPA2 | Poa palustris | 45–225 | – | ||
| Graminoid (grass or grass-like) | 2GRAM | Graminoid (grass or grass-like) | 45–225 | – | ||
| American sloughgrass | BESY | Beckmannia syzigachne | 45–225 | – | ||
| prairie wedgescale | SPOB | Sphenopholis obtusata | 0–135 | – | ||
|
Forb
|
||||||
| 4 | Forbs | 225–450 | ||||
| Forb (herbaceous, not grass nor grass-like) | 2FORB | Forb (herbaceous, not grass nor grass-like) | 45–180 | – | ||
| Indianhemp | APCA | Apocynum cannabinum | 45–135 | – | ||
| Flodman's thistle | CIFL | Cirsium flodmanii | 0–135 | – | ||
| Canadian anemone | ANCA8 | Anemone canadensis | 45–90 | – | ||
| swamp milkweed | ASIN | Asclepias incarnata | 45–90 | – | ||
| Illinois bundleflower | DEIL | Desmanthus illinoensis | 45–90 | – | ||
| American licorice | GLLE3 | Glycyrrhiza lepidota | 45–90 | – | ||
| Pennsylvania smartweed | POPE2 | Polygonum pensylvanicum | 45–90 | – | ||
| Rydberg's sunflower | HENUR | Helianthus nuttallii ssp. rydbergii | 45–90 | – | ||
| mint | MENTH | Mentha | 45–90 | – | ||
| swamp smartweed | POHY2 | Polygonum hydropiperoides | 45–90 | – | ||
| cinquefoil | POTEN | Potentilla | 45–90 | – | ||
| Macoun's buttercup | RAMA2 | Ranunculus macounii | 45–90 | – | ||
| blackeyed Susan | RUHI2 | Rudbeckia hirta | 45–90 | – | ||
| giant goldenrod | SOGI | Solidago gigantea | 45–90 | – | ||
| goldenrod | SOLID | Solidago | 45–90 | – | ||
| white panicle aster | SYLA6 | Symphyotrichum lanceolatum | 45–90 | – | ||
| New England aster | SYNO2 | Symphyotrichum novae-angliae | 45–90 | – | ||
| blazing star | LIATR | Liatris | 0–90 | – | ||
| western dock | RUAQ | Rumex aquaticus | 0–90 | – | ||
| white doll's daisy | BOAS | Boltonia asteroides | 0–45 | – | ||
| smooth horsetail | EQLA | Equisetum laevigatum | 0–45 | – | ||
| Virginia strawberry | FRVI | Fragaria virginiana | 0–45 | – | ||
| wood lily | LIPH | Lilium philadelphicum | 0–45 | – | ||
| American water horehound | LYAM | Lycopus americanus | 0–45 | – | ||
| golden dock | RUMA4 | Rumex maritimus | 0–45 | – | ||
| blue-eyed grass | SISYR | Sisyrinchium | 0–45 | – | ||
| Canada germander | TECA3 | Teucrium canadense | 0–45 | – | ||
| broadleaf cattail | TYLA | Typha latifolia | 0–45 | – | ||
| northern bog violet | VINE | Viola nephrophylla | 0–45 | – | ||
|
Shrub/Vine
|
||||||
| 5 | Shrubs | 0–135 | ||||
| willow | SALIX | Salix | 0–135 | – | ||
| Shrub (>.5m) | 2SHRUB | Shrub (>.5m) | 0–90 | – | ||
Interpretations
Animal community
Animal Community – Wildlife Interpretations
Landscape
The MLRA 55B landscape is characterized by mostly nearly level to gently rolling till plains with some steep slopes adjacent to streams and many poorly defined drainage channels. The continental drainage divide occurs in the east central part of the MLRA. The MLRA is located within the Prairie Pothole Region with temporary, seasonal, and semi-permanent wetlands throughout the MLRA. The MLRA includes areas of eskers, kames, and ground moraines. MLRA 55B is considered to have a continental climate with cold winters and hot summers, low humidity, light rainfall, and much sunshine. Extremes in temperature are common and characteristic of the MLRA. This area supports mid- to tall-grass prairie vegetation with American elm, bur oak, green ash, and willow species growing along the riparian zones of river systems found throughout the MLRA. Complex intermingled ecological sites create diverse grass/shrub land habitats interspersed with varying densities of linear, slope, depressional, and in-stream wetlands associated with headwater streams and tributaries of the James, Pipestem, Maple, Goose, Sheyenne, Wild Rice, and Elm Rivers. MLRA 55B is located within North and South Dakota and within the boundaries of the Prairie Pothole Region.
Three Hydrologic Unit Areas make up this MLRA. Approximately 6% drains into the Mouse River into MLRA 55A, with the balance split between the James and Sheyenne Rivers.
By the mid-19th century, over 76% of the MLRA had been converted from mid- to tall-grass prairie to annual crop production. To alleviate crop production loss from wetlands and overland flow, a system of shallow surface ditches, judicial ditches, and road ditches removes surface water in spring and during high rainfall events. Tile drainage systems have been or are being installed extensively throughout MLRA 55B for sub-surface field drainage to enhance annual crop production.
Historic Communities/Conditions within MLRA 55B:
The northern tall- and mixed-grass prairie were disturbance-driven ecosystems with fire, herbivory, and climate functions as the primary ecological drivers (either singly or often in combination). American bison roamed MLRA 55B, wintering along the Mouse River in MLRA 55A and migrating through MLRA 55B and into MLRA 56A. Many species of grassland birds, small mammals, insects, reptiles, amphibians, elk, moose, pronghorn, white-tailed deer, and large herds of American bison were historically among the inhabitants adapted to this region. Roaming herbivores, as well as several small mammals and insect species, were the primary consumers linking the grassland resources to large predators (such as the wolf, American black bear, grizzly bear) and smaller carnivores (such as the coyote, bobcat, red fox, and raptors). Extirpated species include free- ranging American bison and gray wolf (breeding). Extinct is the Rocky Mountain locust.
Present Communities/Conditions within MLRA 55B:
This area supports natural prairie vegetation characterized by western wheatgrass, green needlegrass, needle and thread, and blue grama. Little bluestem is an important species on the more sloping and shallower soils. Prairie cordgrass, northern reedgrass, big bluestem, and wheat sedge (aka slough sedge) are important species on wet soils. Western snowberry, leadplant, and prairie rose are commonly interspersed throughout the area.
Over 80% of MLRA 55B has been converted to annual crop production. These influences fragmented the landscape, reduced or eliminated ecological drivers (fire), and introduced exotic plant species including smooth brome, crested wheatgrass, Kentucky bluegrass, and leafy spurge; this further impacted plant and animal communities. The loss of the bison and fire as primary ecological drivers greatly influenced the character of the remaining native plant communities and the associated wildlife, moving towards a less diverse and more homogeneous landscape. Annual cropping is the main factor contributing to habitat fragmentation, reducing habitat quality for area- sensitive species.
Hydrological manipulation is extensive throughout the MLRA. Extensive wetland and subsurface tile drainage have taken place. Straightened segments of ephemeral and intermittent tributary streams of the James, Wild Rice, and Sheyenne River have reduced sinuosity, created oxbows, and enabled the conversion of riparian ecological sites to annual crop production. These anthropogenic impacts have reduced flood water detention and retention on the landscape. The results have been increasing storm water runoff sediment and nutrient loading to the James and Sheyenne Rivers and their tributaries (along with lakes and reservoirs within the MLRA). Large dams on the James, Pipestem and Sheyenne rivers, along with installation of instream structures have reduced aquatic species movement within the MLRA.
National wildlife refuges, waterfowl production areas, state wildlife management areas, and North and South Dakota Department of Trust Lands provide herbaceous and woody cover for wildlife. In addition, the United States Army Corps of Engineers and the United States Bureau of Reclamation manage three man-made reservoirs - Jamestown Reservoir, Pipestem Reservoir, and Lake Ashtabula for flood control, also providing fish habitat and adjacent uplands for wildlife cover. Lonetree Wildlife Management Area (WMA) is the largest state managed wildlife area covering 32,800 acres. Arrowwood National Wildlife Refuge is the largest refuge consisting of 16,000 acres.
Characteristic wildlife species in this area are:
Birds: Common goldeye, bufflehead, broad-winged hawk, alder flycatcher, mourning warbler, mallard, blue-winged teal, red-tailed hawk, American kestrel, killdeer, eastern and western kingbird, western meadowlark, American crow, common yellowthroat, clay-colored sparrow, vesper sparrow, red-necked grebe, Savannah sparrow, downy and hairy woodpeckers, black-capped chickadee, white-breasted nuthatch, and brown-headed cowbird.
Mammals: Northern short-tailed shrew, white-tailed jackrabbit, Franklin’s ground squirrel, thirteen- lined ground squirrel, northern pocket gopher, plains pocket gopher, western harvest mouse, deer mouse, meadow vole, meadow jumping mouse, western jumping mouse, coyote, red fox, racoon, American badger, striped skunk, white-tailed deer, elk, moose, beaver, muskrat, mink, weasel, woodchuck, and red, eastern gray and fox squirrels.
Reptiles/Amphibians: American toad, Great Plains toad, northern leopard frog, chorus frog, tiger salamander, plains garter snake, smooth green snake, wood frog, and common garter snake.
Presence of wildlife species is often determined by ecological site characteristics including grass and forb species, tree and shrub species, hydrology, aspect, and other associated ecological sites. The home ranges of a majority of species are usually larger than one ecological site or are dependent upon more than one ecological site for annual life requisites. Ecological sites offer different habitat elements as the annual life requisites change. Habitat improvement and creation must be conducted within the mobility limits of a known population for the species.
Insects play an important role in providing ecological services for plant community development. Insects that are scavengers or aid in decomposition provide the food chain baseline sustaining the carnivorous insects feeding upon them. Many insects provide the ecological services necessary for pollination, keeping plant communities healthy and productive. Insects provide a protein food source for numerous species including grassland-nesting birds, woodpeckers, woodland edge and interior species, and their young. Extensive use of insecticides for specialty crops such as soybeans, corn, and other crops has greatly reduced insects within this MLRA.
Species of Concern within MLRA 55B:
The following is a list of species considered “species of conservation priority” in the North Dakota State Wildlife Action Plan (2015) and South Dakota State Wildlife Action Plan (2014); and species listed as “threatened, endangered, or petitioned” under the Endangered Species Act within MLRA 55B at the time this section was developed:
Invertebrates: Dakota skipper, Iowa skipper, monarch butterfly, northern sandy tiger beetle, Ottoe skipper, Poweshiek skipperling, regal fritillary, yellow-banded bumble bee, and western bumble bee.
Birds: America avocet, American bittern, American kestrel, American white pelican, Baird’s sparrow, bald eagle, black-billed cuckoo, black tern, bobolink, burrowing owl, canvasback, chestnut-collared longspur, Dickcissel, ferruginous hawk, Franklin’s gull, grasshopper sparrow, horned grebe, lark bunting, LeConte’s sparrow, lesser scaup, marbled godwit, Nelson’s sparrow, northern goshawk, northern harrier, northern pintail, osprey (migration), peregrine falcon (migration), piping plover (migration), red knot (migration), sharp-tailed grouse, short-eared owl, Swainson’s hawk, upland sandpiper, western meadowlark, willet, Wilson’s phalarope, whooping crane (migration), and yellow rail.
Mammals: Arctic shrew, big and little brown bats, Franklin’s ground squirrel, northern river otter, plains pocket mouse, pygmy shrew, Richardson’s ground squirrel, and silver-haired bat.
Amphibians and Reptiles: Canadian toad, plains hognose snake, smooth green snake, and snapping turtle.
Fish and Mussels: Black sandshell, blacknose shiner, Carmine shiner, creek heelsplitter, creeper, deertoe, fragile papershell, mapleleaf, northern pearl dace, northern redbelly dace, pink heelsplitter, threeridge, trout-perch, yellow sandshell, and Wabash pigtoe.
Grassland Management for Wildlife in MLRA 55B
Management activities within the community phase pathways impact wildlife but are essential for maintenance of healthy grassland ecosystems. Community phase, transitional, and restoration pathways are keys to long-term management within each State and between States. Timing, intensity, and frequency of these inputs can have dramatic positive or negative effects on local wildlife species. Ranchers and other land managers must always consider the long-term beneficial management effects of grassland and woodland resources in comparison to typically short-term negative effects to the habitats of individual species.
Ecological sites occur as intermingled complexes on the landscape with gradual or sometimes abrupt transitions. Rarely do ecological sites exist in large enough acreage to manage independently. Ecological sites supporting a dominance of herbaceous vegetation (Loamy/Sandy) can be located adjacent to ecological sites that support medium to tall shrubs (Invaded Wooded States). Conversely, ecological sites that are dominated by short- to mid-statured grasses (Claypan) can be adjacent to sites with bare soil only supporting minor amounts of short grasses and forbs (Thin Claypan).
Management of these complex ecological sites can provide a heterogeneous or a homogenous landscape. Grassland bird use declines as the plant community transitions to a homogenous state. Managers must recognize ecological sites and the complexes in which they occur to properly manage the landscape. A management regime for one ecological site may negatively impact adjacent site; for example, alteration of a grazing regime within the Invaded Wooded State ecological sites to encourage understory growth may encourage exotic cool-season grasses to increase or dominate an adjacent ecological site.
Life requisites and habitat deficiencies are determined for targeted species. Deficiencies need to be addressed along community phase, transitional, and restoration pathways as presented in specific state-and-transition models. Ecological sites should be managed and restored within the site’s capabilities to provide sustainable habitat for targeted species or species guilds. Managers also need to consider vegetative associations provided by adjacent/intermingled ecological sites for species with home ranges or life requisites that may not be provided by one ecological site.
Grassland-nesting birds use various grass heights for breeding, nesting, foraging, or winter habitat. While most species use varying heights, many have a preferred vegetative stature height or sensitivity to woody vegetation. Understanding the sensitivity of grassland species to woody vegetation and preferred vegetative structure enables managers to determine which grassland-nesting bird species avoid grassland habitats adjacent to woody dominated plant community phases. The following chart provides sensitivity to woody vegetation and preferred vegetative stature heights.
For the table:
https://efotg.sc.egov.usda.gov/references/public/ND/55B_Wet_Meadow_Narrative_FINAL_Ref_FSG.pdf
Wet Meadow Wildlife Habitat Interpretation:
Wet Meadow ecological sites are poorly drained soils located in depressions and on floodplains. Associated ecological sites include Clayey, Limy Subirrigated, Loamy, Loamy Overflow, Saline Lowland, Shallow Marsh, Subirrigated, and Subirrigated Sands. This complex of ecological sites provides habitat for many edge-sensitive grassland bird species preferring short- to tall-statured vegetation.
Wet Meadow habitat features and components commonly support grassland-nesting birds, notably birds utilizing wetland vegetation habitats (such as Nelson’s and LeConte’s sparrow) and sedge wren. Sharp-tailed grouse use this site for wintering and escape cover. Insects rely on associated forbs and grasses for survival and serve as food sources for birds and their young, and as forage for small and large herbivores.
Wet Meadow ecological sites may be found in seven plant community states within a local landscape. Multiple plant community phases exist within this ecological site dependent upon water levels, saturation, water and soil chemistry, and management. Today, these states occur primarily in response to precipitation (extended periods of above average precipitation or drought), water chemistry, fire, grazing, non-use, and other anthropogenic disturbances.
Because there is no known restoration pathway from State 2.0 to State 1.0, it is important to intensively manage using tools in State 1.0 and State 2.0 Community Phase Pathways to prevent further plant community degradation along Transitional Pathways to invaded plant communities of other States. Native wildlife, dependent upon shallow wetlands as found in the Wet Meadow ecological site, generally benefit from the heterogeneous grasslands/graminoids found in Community Phases in States 1.0 and 2.0. Plant communities within State 2.0 are dependent upon long-term changes in precipitation (compounded by grazing intensity and frequency). The transition to wetter or drier conditions results in a plant community that is either taller (wetter) in stature, such as Plant Community Phase 2.1 Sedges/Prairie Cordgrass or shorter (drier) in stature, such as 2.3 Foxtail Barley/Mountain Rush-Spikerush/Bare Ground.
Management along community phase, transition, or restoration pathways should focus upon attainable changes. Short- and long-term monetary costs must be evaluated against short- and long- term ecological services in creating and maintaining habitat of sufficient quality to support a sustainable population density.
Hydrological manipulation (surface or tile drainage, pumping, surface water diversion, etc.) modifies this ecological site’s functions, having a significant negative impact to wetland dependent wildlife (such as invertebrates, amphibians, and water birds). Without restoring hydrologic function (which may include range seeding), managers need to reference state and transition models within those sites. Hydrology will need to be fully restored in Wet Meadow and Shallow Marsh ecological sites for these sites to properly function. It is recommended that managers review the appropriate State and Transition Models prior to wetland restoration.
1.0 Reference State
Community Phase 1.1 Sedges/Prairie Cordgrass: This plant community offers quality vegetative cover for wetland wildlife; every effort should be made to maintain this ecological site within this community phase. This phase retains high functionality through continued maintenance including prescribed grazing with adequate recovery period, as well as prescribed fire. Prescribed fire maintains a grass-dominated plant community providing habitat for wetland bird species sensitive to woody vegetation.
Invertebrates: Insects play a role in maintaining the forb community and provide a forage base for grassland birds, wetland birds, and rodents. This plant community contains a variety of forbs providing season-long pollen and nectar. However, due to wet soils, ground nesting pollinator species do not prefer this site. Dakota skippers, regal fritillaries, or monarch butterflies may use this site when swamp milkweed, New England aster, or goldenrods occupy this site.
Wet Meadow ecological sites provide habitat for a diverse suite of aquatic invertebrates providing an important trophic link between macrophytes and vertebrates that depend upon them as food. Rapid warming during spring snowmelt allows the invertebrate population to flourish. The vegetative structure provided by shallow, vegetated wetlands increases the abundance of aquatic invertebrates compared to less vegetated sites.
Birds: This plant community provides quality nesting, foraging, and escape habitats favored by mid- to tallgrass-nesting birds especially those species preferring wetter (hydric) habitats (such as Nelson’s sparrow, northern harrier, sedge wren, American avocet, Wilson’s phalarope, etc.). This site provides waterfowl pair bonding sites, early season invertebrate food sources, and early season shorebird habitat. The rapid warming during spring snowmelt provides water birds an abundant invertebrate protein source for egg laying. Prescribed fire maintains a grass-dominated plant community providing habitat for bird species sensitive to woody vegetation. This plant community does not provide suitable areas for sharp-tailed grouse lek sites or nesting habitat. However, it does provide winter cover and escape habitat and brood-rearing habitat. This site provides good hunting opportunities for grassland raptors, especially northern harrier.
Mammals: The diversity of grasses and forbs provide high nutrition levels for small and large herbivores. Tall- to mid-statured vegetation provides suitable food, thermal, protective, and escape cover for small and large herbivores. In addition, it provides foraging opportunities for raccoon, skunks, coyotes and other mammals that use wetlands and wetland edges for food resources.
Amphibians and Reptiles: This ecological site can provide habitat for the northern leopard frog and Canadian toad. Dependent upon the duration of surface water, this site may provide breeding habitat. Successful egg-laying and tadpole development habitat is dependent up depth and duration of ponded water.
Fish and Mussels: This ecological site can be directly associated with streams, rivers, or water bodies. This site receives run-on hydrology from adjacent ecological sites and provides hydrology to shallow ground water and other surface waterbodies. Management on Wet Meadow sites, in conjunction with neighboring run-off sites, will have a direct effect on aquatic species in streams and/or tributaries receiving water from Wet Meadow sites. Optimum hydrological function and nutrient cycling limit potential for sediment yield and nutrient loading to the adjacent aquatic ecosystems from Community Phase 1.1.
Community Phase 1.2 Fowl Bluegrass/Spikerushes-Mountain Rush/Forbs: This plant community phase occurs during periods of below average precipitation lowering the water table. The lower water table allows the plant community to shift towards upland species (such as switchgrass and mid- statured grass-likes, mountain rush, and spikerushes). The forb community remains robust favoring pollinator insects. This plant community provides an excellent food source for grassland nesting birds.
Invertebrates: Provides similar life requisites as Community Phase 1.1. However, drying of the soil during periods of prolonged, below average precipitation allows for increase in forbs providing increased pollen and nectar sources and increase bare ground for ground-nesting insects. The diverse suite of aquatic invertebrates found in Community Phase 1.1 is reduced and may only be found in spring during periods of snowmelt runoff.
Birds: Provides similar life requisites as Community Phase 1.1. However, decreased surface water reduces invertebrate production and use by waterfowl and shorebirds. The drying of the soil during periods of prolonged, below average precipitation provides additional opportunities for grassland nesting birds that use mid-to tall-statured herbaceous vegetation found in a mesic vs. hydric habitats.
Mammals: Shorter statured vegetation decreases thermal, protective, escape, and winter habitat for large ungulates.
Amphibians and Reptiles: Drying of the soil during periods of prolonged, below average precipitation removes saturated soil and/or ponded water. Use by northern leopard frog and Canadian toad will decrease. This plant community may provide foraging but breeding habitat will be lost for egg-laying and tadpole development without ponded water.
Fish and Mussels: Provides similar life requisites as Community Phase 1.1.
2.0 Native/Invaded State
Community Phase 2.1 Sedges/Prairie Cordgrass: This plant community develops through Transition Pathway T1 due to changes in management and the presence of non-native species (such as reed canarygrass, redtop, Kentucky bluegrass, field sowthistle and Canada thistle). This plant community phase has a very similar appearance and function to the Plant Community 1.1 with a wide array of forbs providing nectar and pollen sources for pollinating species. Managers should consider management within the State 2.0 Community Phase Pathways to avoid transitioning to other states within this ecological site.
Invertebrates: Provides similar life requisites as Community Phase 1.1.
Birds: Provides similar life requisites as Community Phase 1.1.
Mammals: Provides similar life requisites as Community Phase 1.1.
Amphibians and Reptiles: Provides similar life requisites as Community Phase 1.1.
Fish and Mussels: Provides similar life requisites as Community Phase 1.1.
Community Phase 2.2 Fowl Bluegrass/Spikerushes-Mountain Rush/Forbs: This plant community phase occurs with heavy season-long grass coupled with periods of below average precipitation lowering the water table. Grazing tolerant rush and spikerush species increase while prairie cordgrass and sedges decline.
Invertebrates: Heavy season-long grazing does not allow flowering plants to recover, limiting pollen and nectar resources for bees and other pollinating insects. In addition, a shift from perennial to annual forbs reduces season long pollen and nectar sources for pollinating insect species. Prolonged periods of reduced precipitation favor ground nesting pollinators; however, increased compaction from mechanical impacts or increased livestock presence negatively impacts ground nesting pollinator opportunities. This shift to drier soil conditions reduces or eliminates aquatic invertebrates.
Birds: Provides similar life requisites as Community Phase 1.2. In addition, the drying of the soil during periods of prolonged, below average precipitation provides additional opportunities for grassland nesting birds that use mid-to short-statured herbaceous vegetation found in a mesic vs. hydric habitats.
Mammals: A shift to mid- to short-grass species and drier soil conditions reduces habitat for large mammals, while still providing vegetative cover for small mammals. Thermal, escape, and winter cover becomes limited for larger ungulates.
Amphibians and Reptiles: Provides similar life requisites as Community Phase 1.2.
Fish and Mussels: Provides similar life requisites as Community Phase 1.1.
Community Phase 2.3 Foxtail Barley/Mountain Rush-Spikerushes/Bare Ground: This plant community phase occurs with heavy season-long grazing, coupled with periods of below average precipitation, lowering the water table with increasing salinity. Grazing tolerant foxtail barley begins to dominate the site. Grazing tolerant rush and spikerush species increase along with bare ground.
Invertebrates: Pollinator friendly forbs decrease as salinity and foxtail barley increase limiting pollen and nectar availability. Bare ground increases but few ground nesting species, if any within MLRA 55B, use saline soils for nesting sites. This shift to drier soil conditions reduces or eliminates aquatic invertebrates.
Birds: Provides similar life requisites as Community Phase 1.1. In addition, the drying of the soil during periods of prolonged, below average precipitation provides additional opportunities for grassland nesting birds that use short-statured herbaceous vegetation found in a mesic vs. hydric habitats.
Mammals: A shift to short-grass species and drier soil conditions reduces habitat for large mammals, while still providing vegetative cover for small mammals. Thermal, escape, and winter cover is no longer provided for larger ungulates.
Amphibians and Reptiles: Provides similar life requisites as Community Phase 1.2.
Fish and Mussels: Provides similar life requisites as Community Phase 1.1.
3.0 Wooded State
Community Phase 3.1 Willows: The elimination of fire or mechanical disturbance, via Transitional Pathway T2, allow for willows such as sandbar and Bebb willow to dominate this site. Shade tolerant sedges and rushes dominate the understory. Restoration to State 2.0 via Restoration Pathway R3A requires a combination of mechanical and herbicide application coupled with repeated prescribed burns.
Invertebrates: The invasion of woody vegetation reduces habitat for pollinator insects within MLRA 55B. Season-long pollen and nectar availability is limited on this site due to an understory of sedges and rushes. However, willow species provide an early season pollen source for native and honeybees. Overall, pollinator plant diversity is low, limiting season-long nectar and pollen production.
Birds: Dependent on degree of invasion by willow, grassland nesting birds which are sensitive to woody vegetation encroachment will discontinue use of this community phase. Shrub tolerant grassland birds may continue to use this site. Willow species provide thermal and escape cover for year-long residents, such as sharp-tailed grouse. Willow thickets provide habitat for brown-headed cowbirds increasing nest parasitism on adjacent grassland nesting bird communities.
Mammals: Shrubs will provide increased year-round cover for white-tailed deer, moose, and elk. Mammals, such as porcupines, that prefer woody habitat will use this site.
Amphibians and Reptiles: Willow species should not impact use of this ecological site by the Canadian Toad.
Fish and Mussels: Provides similar life requisites as Community Phase 1.1.
4.0 Invaded/Saline State
Community Phase 4.1 Foxtail Barley/Exotic Grasses/Exotic Forbs: This plant community phase occurs during periods of below average precipitation lowering the water table and increasing salinity. Coupled with increased animal impact, disturbance-tolerant non-native species (such as foxtail barley, quackgrass, Canada thistle, and field sowthistle) dominate this plant community phase. Foxtail barley will dominate with increased salinity. Extended periods of above average precipitation along Restoration Pathway R4A can move this plant community back to State 2.0.
Invertebrates: Canada thistle and field sowthistle provide mid- to late-season pollen. This plant community has a low diversity with limited early- to mid-season forbs. Bare ground increases but few ground nesting species, if any within MLRA 55B, use saline soils for nesting sites. This shift to drier soil conditions reduces or eliminates aquatic invertebrates.
Birds: Provides similar life requisites as Community Phase 2.3.
Mammals: Provides similar life requisites as Community Phase 2.2.
Amphibians and Reptiles: Provides similar life requisites as Community Phase 1.2.
Fish and Mussels: Provides similar life requisites as Community Phase 1.1.
5.0 Invaded/Fresh Water State
Community Phase 5.1 Exotic Grasses/Exotic Forbs/Sedges/Rushes: This plant community phase occurs during periods of below average precipitation lowering the water table with water chemistry remaining fresh. Coupled with increased animal impact, disturbance-tolerant non-native species (such as quackgrass, Canada thistle, and field sowthistle) dominate this plant community phase. Foxtail barley will not dominate the site unless water chemistry increases in salinity. Extended periods of above average precipitation along Restoration Pathway R5A can move this plant community back to State 2.0.
Invertebrates: Canada thistle and field sowthistle provide mid- to late-season pollen. This plant community has a low diversity with limited early- to mid-season forbs. Bare ground increases for ground nesting species. This shift to drier soil conditions reduces or eliminates aquatic invertebrates.
Birds: Provides similar life requisites as Community Phase 2.2.
Mammals: Provides similar life requisites as Community Phase 2.2.
Amphibians and Reptiles: Provides similar life requisites as Community Phase 1.2.
Fish and Mussels: Provides similar life requisites as Community Phase 1.1.
6.0 Invaded/Eutrophication State
Community Phase 6.1 Hybrid Cattail or Reed Canarygrass: Community Phase: Eutrophication and sedimentation of the site, often due to tillage on or adjacent to the site, transitions this plant community to one dominated by hybrid cattails or exotic strains/hybrids of reed canarygrass. Hybrid cattail or reed canary grass generally develop into monotypic stands out-competing other grasses, graminoids, or forbs. Extended periods of above average precipitation along with mechanical treatment, sediment removal, prescribed burning, and reseeding via Restoration Pathway R6A can move this plant community back to State 2.0.
Invertebrates: Saturated to ponded soils favor aquatic invertebrates. Monotypic stands of hybrid cattail or reed canarygrass limit forb species, providing a decrease in pollen and nectar sources for insects. Restoration efforts, including prescribed grazing, can reduce hybrid cattail and reed canarygrass while increasing forb diversity. The initial flush of forbs may be Canada thistle and field sowthistle resulting from restoration efforts, especially prescribed grazing.
Birds: Monotypic stands of hybrid cattail or reed canarygrass reduce water bird use. LeConte’s and Nelson’s sparrow and yellow rail favor this plant community. American bittern may use this site. Restoration efforts, including prescribed grazing, can reduce hybrid cattail and reed canary grass; this increases open water providing foraging and breeding habitat for dabbling ducks and shore birds including an excellent food source of aquatic invertebrates.
Mammals: Monotypic stands of hybrid cattail or reed canarygrass provide winter cover for large herbivores including white-tailed deer and moose. Depending on degree of ponding or saturation, this plant community may provide season-long escape cover for white-tailed deer. This plant community provides foraging opportunities for raccoon, skunks, coyotes and other mammals that use wetlands and wetland edges for food resources. Tall- to mid-statured vegetation provides suitable food and thermal, protective, and escape cover for small and large herbivores.
Amphibians and Reptiles: Provides similar life requisites as Community Phase 1.1.
Fish and Mussels: Provides similar life requisites as Community Phase 1.1.
7.0 Go-Back State
Community Phase 7.1 Annual/Pioneer Perennial/Exotics: Following cropland abandonment, these plant communities are dominated by early pioneer annual and perennial plant species. Plant species composition and production are highly variable, but will consist of Canada thistle, field sowthistle, other annual weeds (dock, smartweed, barnyard grass, etc.), quackgrass, foxtail barley, slough grass, and pioneering spikerush species. Weedy plants can provide pollinator habitat along with spring and summer cover for many mammals and birds, and their young. Dense weed cover can keep soils moist, increasing insect presence. Tall stature provided by some weeds offers thermal cover and seeds throughout winter. The response by wildlife species will be dependent upon plant community composition, vegetative stature, patch size, and management activities (such as wetland restoration, sediment removal, prescribed grazing, burning, inter-seeding, haying, or noxious weed control).
Successful wetland restoration and seeding of native species along Transition Pathway R7A can result in a native grass and forb community in State 2.0. Management activities within State 2.0 are needed to avoid a transition out of State 2.0. Unsuccessful wetland restoration or unsuccessful native forb and grass seeding may lead to States 4.0, 5.0 or 6.0 dependent upon site hydrological modifications and restoration, salinity, and other site related issues.
Animal Community – Grazing Interpretations
Note: When interpreting plant production regarding stocking rate, several things must be taken into consideration. Annual production is highly variable and subject to wide fluctuations; palatability is generally low, seasonally quite variable; and access to the forage can be limited due to water levels. As a result, caution must be exercised so that the stocking rate is based on a realistic inventory or a reasonable estimate of usable forage. More accurate stocking rate estimates should eventually be calculated using actual stocking rate information and monitoring data.
NRCS defines prescribed grazing as “managing the harvest of vegetation with grazing and/or browsing animals with the intent to achieve specific ecological, economic, and management objectives”. As used in this site description, the term ‘prescribed grazing’ is intended to include multiple grazing management systems (e.g., rotational grazing, twice-over grazing, conservation grazing, targeted grazing, etc.) provided that, whatever management system is implemented, it meets the intent of prescribed grazing definition.
The basic grazing prescription addresses balancing forage demand (quality and quantity) with available forage, varying grazing and deferment periods from year-to-year, matching recovery/deferment periods to growing conditions when pastures are grazed more than once in a growing season, implementation of a contingency (e.g., drought) plan, and a monitoring plan. When the management goal is to facilitate change from one plant community phase or state to another, then the prescription needs to be designed to shift the competitive advantage to favor the native grass and forb species.
Grazing levels are noted within the plant community narratives and pathways in reference to grazing/prescribed grazing management. “Degree of utilization” is defined as the proportion of the current years forage production that is consumed and/or destroyed by grazing animals (may refer to a single plant species or a portion or all the vegetation). “Grazing utilization” is classified as slight, moderate, full, close, and severe (see the following table for description of each grazing use category). The following utilization levels are also described in the Ranchers Guide to Grassland Management IV. Utilization levels are determined by using the landscape appearance method as outlined in the Interagency Technical Reference “Utilization Studies and Residual Measurements” 1734-3.
Utilization Level % Use Description
Slight (Light) 0-20 Appears practically undisturbed when viewed obliquely. Only choice areas and forage utilized.
Moderate 20-40 Almost all of accessible range shows grazing. Little or no use of poor forage. Little evidence of trailing to grazing.
Full 40-60 All fully accessible areas are grazed. The major sites have key forage species properly utilized (about half taken, half left). Points of concentration with overuse limited to 5 to 10 percent of accessible area.
Close (Heavy) 60-80 All accessible range plainly shows use and major sections closely cropped. Livestock forced to use less desirable forage, considering seasonal preference.
Severe > 80 Key forage species completely used. Low-value forages are dominant.
Hydrological functions
Under unaltered hydrologic conditions, the site is dominated by soils in hydrologic group D; where significantly impacted by drainage practices, these soils are in hydrologic group A/D, B/D, or C/D depending upon soil texture. Infiltration varies from slow to rapid; runoff potential varies from negligible to medium for this site depending on surface texture, slope percent, slope shape, and ground cover. In many cases, areas with greater than 75% ground cover have the greatest potential for high infiltration and lower runoff. An exception would be where shortgrasses form a dense sod and dominate the site. Areas where ground cover is less than 50% have the greatest potential to have reduced infiltration and higher runoff (refer to Section 4, NRCS National Engineering Handbook for runoff quantities and hydrologic curves).
Hydrological manipulation (surface or tile drainage, pumping, surface water diversion, etc.) modifies this ecological site. Under natural conditions, this ecological site includes a wide range of soil textures; after hydrologic manipulation, soil texture often becomes a more significant factor in vegetative response. If the degree of manipulation allows soil texture to influence the plant community or if altered soil properties (i.e., salinization or the addition of fill material) results in vegetation change, a transition to a completely different ecological site may have occurred. The transition to an altogether different ecological site will depend upon severity of altered hydrology, soil properties, and corresponding vegetation. Due to the many variables (e.g., hydrology, success and type of drainage, etc.), impacts to the ecological site will be site-specific. As a result, each situation will require field investigation to determine what, if any changes in ecological site designation is necessary and proceed accordingly.
Without restoring hydrologic function (which may include range planting), managers need to reference state and transition models within those sites. Hydrology will need to be fully restored in Wet Meadow and Shallow Marsh ecological sites for these sites to properly function. It is recommended that managers review the appropriate State and Transition Models prior to wetland restoration.
Recreational uses
Hunting and Bird Watching: National wildlife refuges, waterfowl production areas, state wildlife management areas (WMA), and North Dakota and South Dakota Department of Trust Lands provide herbaceous and woody cover for wildlife. National Wildlife Refuges and waterfowl production areas are owned and managed by the United States Fish and Wildlife Service and are available for public hunting, hiking, and bird watching. In addition, the United States Army Corps of Engineers and the United States Bureau of Reclamation manage three man-made reservoirs - Jamestown Reservoir (2,036 acres), Pipestem Reservoir (1,027 acres), and Lake Ashtabula (5,174 acres) for flood control, also providing fish habitat and adjacent uplands for wildlife cover. Lonetree WMA is the largest state managed wildlife area covering 32,800 acres. Numerous WMAs in North Dakota and Game Production Areas in South Dakota are found within this MLRA. The largest refuges managed by the United States Fish and Wildlife service are Arrowwood National Wildlife Refuge (NWR) Complex consists of 75,000 acres and Tewaukon National NWR covers 8,363 acres.
Fishing: Approximately 100 lakes are managed for public fishing within MLRA 55B. Most of these lakes offer boat docks and ramps. These lakes contain various sport fish including walleye, northern pike, yellow perch, catfish, trout, crappie, and bluegill. Many of these lakes are known for excellent round-around walleye and yellow perch fishery.
Camping: Fort Ramson State Park, Pipestem Reservoir, Jamestown Reservoir, Spiritwood Lake, Clausen Springs, Little Yellowstone, Richmond Lake State Recreation Area, Mina Lake State Recreation Area, and other public and private campgrounds are found within the MLRA. Limited, primitive camping is available on wildlife management areas. Ft. Ransom State Park (North Dakota), located along the Sheyenne River has a designated horse park with 15 miles of trails.
Hiking/Biking/Horseback Riding: Horseback riders, hikers, and biker can enjoy over 15 miles of multi-use trails at Fort Ransom State Park. The Jamestown Reservoir (5 miles), Pipestem Reservoir (8 miles) and Arrowwood National Wildlife Refuge (9.4 miles) maintain hiking trails. The Lonetree Wildlife Management Area has a 32-mile segment of the North Country Trail. It is designed for hiking and non-motorized travel including mountain bikes or horseback riding.
Canoeing/Kayaking: The Sheyenne River offers 278 miles of canoeing/kayaking from May-July. A kayak kiosk is located at Valley City and canoe/kayak rentals are available at Fort Ransom State Park. The James River has a canoe trail starting in Grand Rapids and canoeing down to the James River Dam site in LaMoure; no rentals are available.
Auto Tour: A 63-mile scenic drive starts north of Valley City and heading south through Sheyenne River Valley. Audubon National Wildlife Refuge offers a 5.5-mile auto-tour route winding through both prairie grassland and wetland habitats of the lower portion of the James River Valley.
Wood products
There are no significant wood products found on this site.
Other products
Seed harvest of native plant species can provide additional income on this site.
Other information
Site Development and Testing Plan
• Further investigation is needed on the wide range of landforms and soil textures (and associated properties) and their relationship to hydrology/plant dynamics.
• Further documentation may be needed for plant communities in all states. Plant data has been collected in previous range-site investigations, including clipping data. However, most of this data is from areas of Typic Calciaquolls; a unique, provisional ESD (Limy Wet Meadow) has been proposed for these highly calcareous soils. Vegetative data for non-calcareous soils in Wet Meadow needs review and more data likely needs to be collected. If geo-referenced sites meeting Tier 3 standards for either vegetative or soil data are not available, representative sites will be selected for further investigation.
• Further investigation is needed on areas of this site associated with flood plains. Lamoure and Ludden soils occur on flood plains of the rivers. Lowe soils occur in upland drainageways. The impact of occasional or frequent flooding on these areas needs evaluation. MLRA map units needing investigation are:
Forman-Buse-Lowe, occasionally flooded loams, 0 to 15 percent slopes (map unit 2sl3w)
Forman-Buse-Lowe, occasionally flooded loams, 0 to 35 percent slopes (map unit 2sl3x)
Lamoure silt loam, 0 to 1 percent slopes, frequently flooded (map unit 2q5pf)
Lamoure silty clay loam, 0 to 1 percent slopes, frequently flooded (map unit 2q3vb)
Lamoure-Fluvaquents, channeled complex, 0 to 2 percent slopes, frequently flooded (map unit 2q5pj)
Larson, very stony-Lowe loams, 0 to 2 percent slopes, occasionally flooded (map unit 2q5sk)
Lowe clay loam, 0 to 1 percent slopes, frequently flooded (map unit 2q5p8)
Lowe loam, 0 to 1 percent slopes, occasionally flooded (map unit 2q5p9)
Lowe-Fluvaquents, channeled complex, 0 to 2 percent slopes, frequently flooded (map unit 2q5pc)
Moritz-Lowe, occasionally flooded loams, 0 to 2 percent slopes (map unit 2sd3w)
Ludden silty clay, 0 to 1 percent slopes, frequently flooded (map unit 2q3vc)
• Further investigation of areas of this site occurs on lake beaches. Minnewaukan soils are periodically inundated for extended periods. When the progressive soil surveys were completed, these soils were not inundated; currently many of these areas are inundated and have been for many consecutive years. Spatial data revisions may be needed. The MLRA map units needing investigation are:
Lallie, saline-Minnewaukan complex, 0 to 2 percent slopes (map unit 2q5n3)
Minnewaukan loamy fine sand, 0 to 2 percent slopes (map unit 2q5cn)
• Further evaluation and refinement of the State-and-Transition model may be needed to identify disturbance driven dynamics. Additional states and/or phases may be required to address grazing response.
• Site concepts will be refined as the above noted investigations are completed.
• The long-term goal is to complete an approved, correlated Ecological Site Description as defined by the National Ecological Site Handbook.
This ESD is the best available knowledge. The site concept and species composition table have been used in the field and tested for more than five years. It is expected that as additional information becomes available revisions may be required.
Supporting information
Inventory data references
Information presented here has been derived from NRCS and other federal/state agency clipping and inventory data. Also, field knowledge of range-trained personnel was used. All descriptions were peer reviewed and/or field-tested by various private, state and federal agency specialists.
Other references
Barker, W.T. and W. C. Whitman. 1988. Vegetation of the Northern Great Plains. Rangelands 10(6): 266-272. Bluemle. J.P. 2016. North Dakota’s geologic legacy. North Dakota State University Press. 382 pages.
Boyd, L. 2001. Wildlife use of wetland buffer zones and their protection under the Massachusetts wetland protection act. University of Massachusetts Department of Natural Resources Conservation. 148 pages.
Briske, D.D. (editor). 2017. Rangeland systems – processes, management, and challenges. Springer Series on Environmental Management. 661 pages.
DeKeyser, E.S., G. Clambey, K. Krabbenhoft, and J. Ostendorf. 2009. Are changes in species composition on central North Dakota rangelands due to non-use management? Rangelands 31:16-19
DeKeyser, E.S., D.R. Kirby, and M.J. Ell. 2003. An index of plant community integrity: development of the methodology for assessing prairie wetland plant communities. Ecological Indicators 3:119-133. https://www.sciencedirect.com/science/article/pii/S1470160X03000153
Dix, R.L. and F.E. Smeins. 1967. The prairie, meadow, and marsh vegetation of Nelson County, North Dakota. Canadian Journal of Botany 45:21-57.
Dornbusch, M.J., R.F. Limb, and C.K. Gasch. 2018. Facilitation of an exotic grass through nitrogen enrichment by an exotic legume. Rangeland Ecology & Management 71:691-694.
Dyke, S.R., S.K. Johnson, and P.T. Isakson. 2015. North Dakota state wildlife action plan. North Dakota Game and Fish Department, Bismarck, ND. 468 pages.
Ehrenfeld, Joan G. 2002. Effects of exotic plant invasions on soil nutrient cycling processes. Ecosystems 6:503-523.
Endangered and threatened wildlife and plants; designation of critical habitat for the Dakota skipper and Poweshiek skipperling; Vol. 79 No. Final Rule October 1, 2015, 50 CFR Part 17.
Ereth, C., J. Hendrickson, D. Kirby, E. DeKeyser, K. Sedevic, and M. West. Controlling Kentucky bluegrass with herbicide and burning is influenced by invasion level. Invasive Plant Science and Management 10: 80-89.
Gilbert, M.C. et. al. 2006. A regional guidebook for applying the hydrogeomorphic approach to assessing wetland functions of prairie potholes. US Army corps of Engineers, Engineer Research and Development Center, Vickburg, MS. 170 pages. https://wetlands.el.erdc.dren.mil/pdfs/trel06-.pdf#view=fit&pagemode=none
Gilgert, W.; and S. Zack. 2010. Integrating multiple ecosystem services introduction ecological site descriptions. Rangelands: 32:49-54.
Grant, T.A. and R.K. Murphy. 2005. Changes on woodland cover on prairie refuges in North Dakota, USA. Natural Areas Journal 25:359-368.
Heitschmidt, R. K., K. D. Klement, and M. R. Haferkamp. 2005. Interactive effects of drought and grazing on Northern Great Plains rangelands. Rangeland Ecology and Management 58:11-19.
Hendrickson, J.R., P. S. Johnson, M. A. Liebig, K. K. Sedivec, and G. A. Halvorson. 2016. Use of ecological sites in managing wildlife and livestock: an example with prairie dogs. Rangelands
Hendrickson, J.R., S.L. Kronberg, and E.J. Scholljegerdes. 2020. Can targeted grazing reduce abundance of invasive perennial grass (Kentucky Bluegrass) on native mixed-grass prairie? Rangeland Ecology and Management, 73:547-551.
Higgins, K.F. 1984. Lightning fires in grasslands in North Dakota and in pine-savanna lands in nearby South Dakota and Montana. J. Range Manage. 37:100-103.
Higgins, K.F. 1986. Interpretation and compendium of historical fire accounts in the Northern Great Plains. United States Department of Interior, Fish and Wildlife Service. Resource Publication 161. 39 pages.
Higgins, K.F., A.D. Kruse, and J.L. Piehl. 1989. Effects of fire in the Northern Great Plains. U.S. Fish and Wildlife Service and Cooperative Extension Service South, Dakota State University. Extension Circular 761. 48 pages.
High Plains Regional Climate Center, University of Nebraska, 830728 Chase Hall, Lincoln, NE 68583-0728. (http://hprcc.unl.edu)
Israelsen, K. 2009. Herbicide, salinity, and flooding tolerance of foxtail barley (Hordeum jubatum L.) and desirable pasture grasses. M.S. thesis. Utah State University. 95 pages. https://digitalcommons.usu.edu/cgi/viewcontent.cgi?article=1515&context=etd
Johnson, Sandra. 2015. Reptiles and amphibians of North Dakota. North Dakota Game and Fish Department. 64 pages.
Jordan, N. R., D.L. Larson, and S.C. Huerd. 2008. Soil modification by invasive plants: effects on native and invasive species of mixed-grass prairies. Biological Invasions 10:177-190.
Kantrud, H. A., G. L. Krapu, and G. A. Swanson. 1989. Prairie basin wetlands of the Dakotas: a community profile. U.S. Fish and Wildlife Service Biol. Rep. 85(7.28). 116 p.
Mader, E., M. Shepherd, M. Vaughan, and S.H. Black. 2011. Attracting native pollinators: protecting North America's bees and butterflies. Accessed at https://xerces.org, May 1, 2017.
North Dakota Division of Tourism, Accessed on February 25, 2019. Available at https://www.ndtourism.com/sports-recreation
North Dakota Parks and Recreation Department, Accessed on February 25, 2019. Available at http://www.parkrec.nd.gov/recreationareas/recreationareas.html
Palit, R., G. and E.S. DeKeyser. 2022. Impacts and drivers of smooth brome (Bromus inermis Leyes.) invasion in native ecosystems. Plants: 10,3390. http://https://www.mdpi.com/2223-7747/11/10/1340
Palit, R., G. Gramig, and E.S. DeKeyser. 2021. Kentucky bluegrass invasion in the Northern Great Plains and prospective management approaches to mitigate its spread. Plants: 10,817. https://doi.org/10.3390/plants10040817
Printz, J.L. and J.R. Hendrickson. 2015. Impacts of Kentucky bluegrass invasion (Poa pratensis) on Ecological Processes in the Northern Great Plains. Rangelands 37(6):226-232.
Redmann, Robert E. 1975. Production ecology of grassland plant communities in western North Dakota. Ecological Monographs 45:83-106.
Reeves, J.L., J.D. Derner, M.A. Sanderson, J.R. Hendrickson, S.L. Kronberg, M.K. Petersen, and L.T. Vermeire. 2014. Seasonal weather influences on yearling beef steer production in C3-dominated Northern Great Plains rangeland. Agriculture, Ecosystems and Environment 183:110-117.
Royer, R. A., 2003. Butterflies of North Dakota: an atlas and guide. Minot State University, Minot, ND.
Seabloom, R. 2020. Mammals of North Dakota. North Dakota Institute for Regional Studies, Fargo, ND. 470 pages.
Sedivec, K.D., J.L. Printz. 2014. Ranchers guide to grassland management IV. NDSU Extension Service publication R1707.
Seelig, B. and S. DeKeyser. 2006. Wetland function in the northern prairie pothole region. North Dakota State University Extension Service. WQ-1313. 28 pages. https://erams.com/static/wqtool/PDFs/Wave%20Papers/wq1313.pdf
Severson, K. E. and C. Hull Sieg. 2006. The nature of eastern North Dakota: pre-1880 historical ecology. North Dakota Institute for Regional Studies.
Smith, C., E.S. DeKeyser, C. Dixon, R. Kobiela, and A. Little. Effects of sediment removal on prairie pothole wetland plant communities in North Dakota. Natural Area Journal 36:48-58.
https://bioone.org/journals/natural-areas-journal/volume-36/issue-1/043.036.0110/Effects-of-%20Sediment-Removal-on-Prairie-Pothole-Wetland-Plant-Communities/10.3375/043.036.0110.full
South Dakota Dept. of Game, Fish and Parks. 2014. South Dakota wildlife action plan. Wildlife Division Report 2014-03.
Spaeth, K.E., Hayek, M.A., Toledo, D., and Hendrickson, J. 2019. Cool season grass impacts on native mixedgrass prairie species in the Northern Great Plains. America’s grassland conference: working across boundaries. The Fifth Biennial Conference on the Conservation of America’s Grasslands. Bismarck, ND. 20-22 August.
Stewart. R.E. and H.A. Kantrud. 1971. Classification of natural ponds and lakes in the glaciated prairie region. Resource Publication 92. Bureau of Sport Fisheries and Wildlife, Fish and Wildlife Service, Washington, DC. 57 pages. https://pubs.usgs.gov/rp/092/report.pdf
Tidwell, D., D.T. Fogarty, and J.R. Weir. 2021. Woody encroachment in grasslands, a guide for understanding risk and vulnerability. Oklahoma State University, Oklahoma Cooperative Extension Service publication E- 1054. 32 pages.
Toledo, D., M. Sanderson, K. Spaeth, J. Hendrickson, and J. Printz. 2014. Extent of Kentucky bluegrass and its effect on native plant species diversity and ecosystem services in the northern great plains of the United State. Invasive Plant Science and Management 7(4): 543-552.
USDA, NRCS. 2021. National range and pasture handbook, (https://www.nrcs.usda.gov/wps/portal/nrcs/detailfull/national/landuse/rangepasture/?cid=stelprdb1043084)
USDA, NRCS. 2006. Land resource regions and major land resource areas of the United States, the Caribbean, and the Pacific Basin. U.S. Department of Agriculture Handbook 296.
USDA, NRCS. National Soil Information System, 100 Centennial Mall North, Room 152, Lincoln, NE 68508- 3866. (https://www.nrcs.usda.gov/wps/portal/nrcs/detail/soils/survey/tools/?cid=nrcs142p2_053552)
USDA, NRCS. National Water & Climate Center, 1201 NE Lloyd Blvd, Suite 802, Portland, OR 97232-1274. (https://www.wcc.nrcs.usda.gov/)
USDA, NRCS. 2001. The PLANTS database, Version 3.1 (http://plants.usda.gov). National Plant Data Center, Baton Rouge, LA 70874-4490 USA.
USDA, NRCS, Various published soil surveys.
USDI BLM.1999. Utilization studies and residual measurements. Interagency Technical Reference 1734-3.
Vepraskas, M.J. and C.B. Croft (editors). 2015, Wetland soils genesis, hydrology, landscapes, and classification. C, Second Edition. CRC Press
.
Vinton, M.A. and E.M. Goergen. 2006. Plant-soil feedbacks contribute to the persistence of Bromus inermis in tallgrass prairie. Ecosystems 9: 967-976.
Wasko, J. 2013. Distribution and environmental associations throughout southwestern Manitoba and southeastern Saskatchewan for cattail species Typha latifolia, and T. angustifolia, and for the hybrid T. x glauca. M.S. thesis. University of Manitoba, Winnipeg. 274 pages. https://mspace.lib.umanitoba.ca/bitstream/handle/1993/23553/wasko_jennifer.pdf?sequence=1
Contributors
ND NRCS: David Dewald, Jonathan Fettig, Alan Gulsvig, Mark Hayek, Chuck Lura, Jeff Printz, Steve Sieler, and Hal Weiser
Approval
Suzanne Mayne-Kinney, 4/25/2025
Rangeland health reference sheet
Interpreting Indicators of Rangeland Health is a qualitative assessment protocol used to determine ecosystem condition based on benchmark characteristics described in the Reference Sheet. A suite of 17 (or more) indicators are typically considered in an assessment. The ecological site(s) representative of an assessment location must be known prior to applying the protocol and must be verified based on soils and climate. Current plant community cannot be used to identify the ecological site.
| Author(s)/participant(s) | USDA-NRCS North Dakota |
|---|---|
| Contact for lead author | NRCS State Rangeland Management Specialist |
| Date | 04/25/2025 |
| Approved by | Suzanne Mayne-Kinney |
| Approval date | |
| Composition (Indicators 10 and 12) based on | Annual Production |
Indicators
-
Number and extent of rills:
Rills are not expected on this site. -
Presence of water flow patterns:
Water flow patterns are not visible. -
Number and height of erosional pedestals or terracettes:
Neither pedestals nor terracettes are expected. -
Bare ground from Ecological Site Description or other studies (rock, litter, lichen, moss, plant canopy are not bare ground):
Bare ground is 5% or less. Bare ground may be higher for a short period of time following periods of inundation. -
Number of gullies and erosion associated with gullies:
Active gullies are not expected on this site. -
Extent of wind scoured, blowouts and/or depositional areas:
No wind-scoured or depositional areas are expected on this site. -
Amount of litter movement (describe size and distance expected to travel):
Plant litter movement not expected on this site. -
Soil surface (top few mm) resistance to erosion (stability values are averages - most sites will show a range of values):
Stability class averages 6. -
Soil surface structure and SOM content (include type of structure and A-horizon color and thickness):
Use soil series description for depth, color, and structure of A horizon. -
Effect of community phase composition (relative proportion of different functional groups) and spatial distribution on infiltration and runoff:
Grass-likes and tall-statured rhizomatous grasses are dominant. Mid- and short-statured rhizomatous grasses, mid- and short-statured bunchgrasses, and forbs are subdominant. -
Presence and thickness of compaction layer (usually none; describe soil profile features which may be mistaken for compaction on this site):
No compaction layers occur naturally on this site. -
Functional/Structural Groups (list in order of descending dominance by above-ground annual-production or live foliar cover using symbols: >>, >, = to indicate much greater than, greater than, and equal to):
Dominant:
Phase 1.1:
Grass-likes (6); Tall C4 rhizomatous grasses (1)Sub-dominant:
Phase 1.1:
Mid & short C3 rhizomatous grasses (1); Mid & short C3 bunch grasses (2); Forbs (16)Other:
Minor - Phase 1.1:
Mid & short C4 rhizomatous grasses; ShrubAdditional:
Due to differences in phenology, root morphology, soil biology relationships, and nutrient cycling Kentucky bluegrass, smooth brome, and crested wheatgrass are included in a new Functional/structural group, mid- and short-statured early cool-season grasses (MSeC3), not expected for this site.
To see a full version 5 rangeland health worksheet with functional/structural group tables. Please use the following hyperlink:
https://efotg.sc.egov.usda.gov/references/public/ND/55B_Wet_Meadow_Narrative_FINAL_Ref_FSG.pdf -
Amount of plant mortality and decadence (include which functional groups are expected to show mortality or decadence):
Rare to not occurring on this site. -
Average percent litter cover (%) and depth ( in):
Plant litter cover is 70 to 90% with a depth of 0.5 to 1.0 inches. Litter is in contact with soil surface. -
Expected annual annual-production (this is TOTAL above-ground annual-production, not just forage annual-production):
Annual production: Annual air-dry production is 4500 lbs./ac (reference value) with normal precipitation and temperatures. Low and high production years should yield 3500 lbs./ac to 5500 lbs./ac, respectively. -
Potential invasive (including noxious) species (native and non-native). List species which BOTH characterize degraded states and have the potential to become a dominant or co-dominant species on the ecological site if their future establishment and growth is not actively controlled by management interventions. Species that become dominant for only one to several years (e.g., short-term response to drought or wildfire) are not invasive plants. Note that unlike other indicators, we are describing what is NOT expected in the reference state for the ecological site:
State and local noxious species, quackgrass, creeping foxtail, reed canarygrass, smooth bromegrass, Kentucky bluegrass and Russian olive. -
Perennial plant reproductive capability:
Noninvasive species in all functional/structural groups are vigorous and capable of reproducing annually under normal weather conditions.
Print Options
Sections
Font
Other
The Ecosystem Dynamics Interpretive Tool is an information system framework developed by the USDA-ARS Jornada Experimental Range, USDA Natural Resources Conservation Service, and New Mexico State University.
Click on box and path labels to scroll to the respective text.